| Скачать .docx |
Реферат: Аппаратурное оформление адсорбционных процессов
Аппаратурное оформление адсорбционных процессов
Виды промышленных установок для реализации адсорбционных процессов определяются свойствами адсорбентов (механической прочностью, химической стойкостью, возможностью регенерации и др.) и подразделяются на аппараты периодического и непрерывного действия. Традиционно адсорбционные процессы являются периодическими. Адсорбер с неподвижным слоем адсорбента после насыщения последнего адсорбатом переключается на стадию десорбции. При этом рабочий цикл может включать ряд дополнительных стадий: нагрев и охлаждение адсорбента, его замену, регулирование давления и др.
Существуют процессы с движущимся слоем адсорбента в реакторе. При этом определяющим является механическая прочность материала. Применяют также аппараты с псевдоожиженным слоем адсорбента.
13.2.1. Адсорберы периодического действия (вертикальный, горизонтальный, кольцевой, с теплообменными элементами, с прижимными устройствами)

Вертикальный адсорбер . В адсорбционных установках периодического действия наибольшее распространение нашли адсорберы, в которых отношение высоты слоя к диаметру аппарата больше единицы. Конструкции аппаратов указанного типа весьма разнообразны.
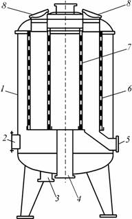
На рис. 1. в качестве примера представлен вертикальный адсорбер, применяемый в процессе отбензинивания.
Указанный аппарат представляет собой железный цилиндрический сосуд диаметром 2,1 м и высотой 2,9 м. Высота слоя угля в адсорберах – 2,5 м, загрузка угля в каждый адсорбер – 4 т. Сверху адсорберы закрыты крышками, прикрепленными к цилиндрической части болтами. Слой угля расположен на керамической плитке (газораспределительной решетке); последняя имеет большое число мелких отверстий, с помощью которых входящий газ равномерно распределяется по сечению адсорбера.
Существует значительное количество различных конструктивных решений газораспределительных устройств: решетки с вертикальными и наклонными отверстиями, двухслойные тарелки, колпачковые газораспределители и др. Для повышения качества распределения потоков по сечению аппарата и предотвращения высыпания из аппарата адсорбента (или продуктов его механического разрушения) на решетку может быть насыпан слой гравия. В рассмотренной конструкции адсорбера на керамическую плитку насыпают слой гравия высотой 100–200 мм. Зернение гравия по высоте аппарата неравномерно (рис. 13.2.1.2): внизу располагаются более крупные куски размером 25–30 мм, затем последовательно фракции 15–25, 10–15, 5–10 мм. Гравий предохраняет адсорбент от загрязнения конденсатом, содержащимся в «жирном» газе,
а также препятствует просыпанию мелких фракций и забиванию отверстий в керамической решетке. Сверху слой угля во избежание уноса покрывают сеткой, выполненной из проволоки толщиной 0,8 мм с отверстиями размером 2,5 мм.
В нижней части адсорбера находятся нижняя и верхняя головки с восемью штуцерами для ввода и вывода газов и паров на разных стадиях процесса. Внутри адсорбера расположена труба, отводящая газ во время охлаждения, сушки и насыщения. При десорбции водяной пар подают по трубе в верхнюю часть адсорбера. Такая конструкция позволяет все управление адсорбером сосредоточить внизу.
Адсорберы, работающие при атмосферном давлении, обычно выполняют сварными из листовой стали толщиной 10 мм. Если в газе присутствуют агрессивные примеси, в качестве материала используют легированную или нержавеющую сталь, например марки Х18Н10Т.
Горизонтальный адсорбер . В горизонтальных адсорберах их длина, диаметр и высота слоя адсорбента достигают соответственно 6, 2 и 0,8–1,0 м (рис. 13.2.1.3). Большое сечение горизонтальных адсорберов при малой высоте слоя и наличие сфероидальных участков приводят к неравномерности распределения парогазовых потоков по сечению такого аппарата. Неравномерностью распределения газового потока в горизонтальных адсорберах отчасти объясняется и трудность регулирования качества продукции путем изменения времени адсорбции.

Рис 2. Горизонтальный адсорбер:
1 – люки для загрузки адсорбента;
2 – штуцер для подачи газа
на стадиях адсорбции, сушки и охлаждения; 3 – кожух;
4 – распределитель водяного пара на стадии десорбции;
5 – люк для выгрузки адсорбента;
6 – штуцер для отвода конденсата;
7 – штуцер для отвода паров при десорбции;
8 – штуцер для отвода газа
Адсорберы горизонтальной конструкции следует рекомендовать только при очистке больших количеств газа в условиях, когда к степени очистки не предъявляются слишком жесткие требования.
Кольцевой адсорбер. В случае очистки газов от примесей, присутствующих в небольших концентрациях, иногда применяют кольцевые адсорберы. Разрез такого аппарата представлен на рис. 13.2.1.4.
Вся конструкция смонтирована в металлическом корпусе 1. Газ, подлежащий очистке, через штуцер 2 поступает во внешнюю часть адсорбера, проходит в горизонтальном направлении через кольцевой слой угля, находящийся между внутренней 7 и внешней 6 цилиндрическими решетками, и выводится через штуцер 4. На стадиях сушки и охлаждения указанное направление потоков сохраняется. На стадии десорбции водяной пар подают через штуцер 4, а парогазовую смесь отводят через штуцер 3. Загружают адсорбент через люки 8,
а выгружают через люк 5.
Рис. 3. Кольцевой адсорбер:
1 – корпус; 2 – штуцер для подачи газа;
3 – штуцер для отвода паров при десорбции; 
4 – штуцер для отвода газа и подачи пара;
5 – люк для выгрузки адсорбента; 6, 7 – решетки;
8 – люки для загрузки адсорбентов
На одном из заводов химического волокна кольцевой адсорбер был применен для улавливания сероуглерода из вентиляционных газов. Общая высота адсорбера составляла 5,2 м, диаметр 3,2 м, внешний диаметр слоя адсорбента 2,8 м, внутренний диаметр слоя адсорбента 1 м. В адсорбер загружалось 14 т рекуперационного активного угля АР. Содержание сероуглерода в очищенном воздухе колебалось от 1,5 до 1,7 г/м3, температура воздуха была около 40 С. Проскок сульфида углерода в выходящем из адсорбера газе фиксировали спустя 4 ч после начала стадии очистки.
При сравнительно меньших габаритах в сравнении с вертикальным адсорбером, обычно применяемым на заводах вискозного волокна, кольцевой адсорбер позволил повысить производительность по газу до 40 тыс. м3/ч
(в типовом вертикальном адсорбере она не превышает 30 тыс. м3/ч) при относительно высоком гидравлическом сопротивлении (300 Па).
В некоторых типах адсорбционных аппаратов используют различные элементы с целью повышения их эксплуатационных характеристик. Для улучшения процесса теплообмена в адсорбере устанавливают теплообменные элементы или выполняют их в виде трубчатого теплообменника. С целью повышения плотного прилегания верхней решетки с сеткой к слою адсорбента и, как следствие, уменьшения истирания адсорбента, в конструкции используют специальные прижимные устройства.
Адсорбер с вертикальными теплообменными элементами
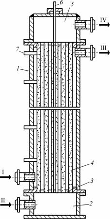
. В тех случаях, когда надо ускорить процесс теплообмена на стадиях нагрева и охлаждения или получить десорбат в концентрированном виде, используют адсорберы со встроенными теплообменными элементами. Чаще применяют адсорберы, выполненные в виде трубчатого теплообменника (рис. 13.2.1.5); адсорбент засыпан в трубки, а греющая или охлаждающая среда находится в межтрубном пространстве.
Рис. 4. Адсорбер, выполненный в виде
трубчатого теплообменника:
I, III – теплоноситель; II, IV – газ; 1 – корпус;
2, 5 – камеры; 3 – газораспределительная решетка; 4 – трубчатка;
6 – карман для термопары; 7 – штуцер для отбора проб газа
и измерения температуры адсорбента
Примером эффективного использования адсорберов с вертикальными теплообменными элементами является очистка аргона, гелия, неона от примесей кислорода и азота, осуществляемая при низкой температуре
(–180 С) и давлении 0,14 МПа. Адсорбер, предназначенный для очистки в этих условиях 100 м3/ч аргона от кислорода, представлен на рис. 5.
Рис. 5. Трубчатый адсорбер
для низкотемпературной очистки инертных газов:
1 – крышка; 2 – нажимная планка; 3 – пружины;
4 – корпус; 5 – адсорбент; 6 – трубка; 7 – трубная решетка;
8 – внутреннее днище; 9 – внешнее днище
Адсорбент (цеолит) расположен в трубках высотой 2 м (при общем числе трубок 51), общая загрузка цеолита в адсорбере составляет 260 кг. Скорость газового потока на стадии очистки составляет 0,016 м/с. Охлаждение цеолита производят жидким кислородом, протекающим в межтрубном пространстве адсорбера. Остаточное содержание кислорода в очищенном аргоне составляет 10–3 %. После отработки адсорбционной емкости цеолита его быстро нагревают до 150 С, подавая
в межтрубное пространство азот, нагретый до 420 С.

Адсорбер с прижимным устройством . В некоторых случаях адсорберы снабжают специальными прижимными устройствами для обеспечения плотного прилегания верхней решетки с сеткой к слою адсорбента и уменьшения его истирания.
На рис. 6. представлен фланцевый адсорбер, используемый для очистки сжиженного воздуха от ацетилена мелкопористым силикагелем в условиях низких температур. Среднее содержание ацетилена в жидкости перед очисткой составляет 0,2 10–3 м3/м3. десорбцию ацетилена осуществляют при температуре около 0 С и давлении 0,15 МПа продувкой слоя адсорбента газом сначала при 20–25, а затем при 50–75 С.
Рис. 6. Адсорбер для очистки жидкости
с прижимными устройствами:
1 – крышка; 2 – прижимное устройство;
3 – корпус; 4 – адсорбент
При проектировании адсорбционных установок с периодическими адсорберами следует избегать подачи горячего и холодного газа по одним коммуникациям. Например, после переключения адсорбера, используемого при углеадсорбционном отбензинивании, со стадии осушки на стадию охлаждения в случае однопоточной системы подачи газа в аппарат в течение первых 5–10 мин продолжает поступать нагретый в коммуникациях газ, что снижает эффективность охлаждения. Аналогичный недостаток отмечен и при переключении адсорбера на стадию осушки. Четкое разграничение коммуникаций горячего и холодного газа позволяет снизить инерционность процессов теплообмена.
С целью уменьшения потерь тепла во внешнюю среду на стадиях десорбции и сушки адсорберы обычно покрывают слоем изоляции.
Графики работы установок периодического действия. Переключение адсорберов периодической установки производят в соответствии с заданным графиком работы установки (циклограммы адсорбционного процесса). На рис. 13.2.1.8 представлены примеры графиков для двух-, трех- и четырехадсорберной установки отбензинивания. Фигуры с разной штриховкой на этом рисунке соответствуют разным стадиям процесса. При двухадсорберной установке продолжительность стадии адсорбции равна сумме продолжительностей всех других стадий, при трехадсорберной продолжительность стадии адсорбции соответствует продолжительности стадии десорбции или суммарной продолжительности стадий сушки и охлаждения и т. п.
Твой вопрос - Плёночные абсорберы