| Скачать .docx |
Реферат: Исследование процесса ректификации в насадочной колонне периодического действия
Министерство образования РФ
Государственное образовательное учреждение высшего профессионального
образования.
Самарский государственный технический университет.
Кафедра: «Химическая технология и промышленная экология»
Лабораторная работа
Исследование процесса ректификации в насадочной колонне периодического действия
Выполнил: студент III – ХТ – 2 Степанов В. Н.
Принял: преподаватель Чуркина А. Ю.
Cамара, 2006 г.
Цель работы:
· Ознакомление с процессом периодической ректификации в насадочной колонне;
· Определение величины флегмового числа, числа ступеней изменения концентрации, числа единиц переноса и коэффициента массопередачи;
Описание экспериментальной установки:

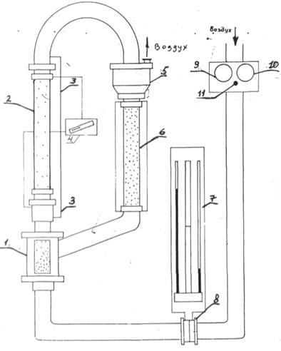
Рис. 1 Экспериментальная установка.
1 – центральная ректификационная колонка; 2 – конденсатор, 3 – краник для отбора дистиллята, 4 – мерная колба, 5 – трехгорлая колба, 6 – штуцер, 7 – нагреватель, 8 – ЛАТР, 9 – капельник, 10 – капельник.
Табл. 1. Рабочие характеристики колонны
| Высота, заполненная насадкой, м | l = 0,6 |
| Внутренний диаметр колонны, см | d = 1,3 |
| Насадка кольца из нихромовой проволоки | диаметр проволоки 0,3 мм |
| число витков 2-3 |
Обработка результатов эксперимента:
Этап 1.
1. Определяем величину критерия Архимеда

2. Находим критерий Рейнольдса для режима витания частиц:
,
3. Определяем значение теоретической скорости витания частиц:
,
4. Находим величину критического критерия Рейнольдса:
![]()
5. Определяем критическую скорость псевдоожижения:

6. Число псевдоожижения:
.
7. Определяем расход воздуха, соответствующий режиму витания:

8. Находим величину экспериментальной скорости витания частиц:
![]()
Результаты расчетов приведены в табл. 2.
Этап II.
1. Находим расход воздуха для режима пневмотранспорта:

2. Находим расход полиэтилена:
![]()
3. Величина порозности слоя полиэтилена:

4. Общие потери напора для каждого из режимов пневмотранспорта:
![]()
а) Статический напор, равный весу столба твердых частиц и воздуха
![]()
б) Потери напора на трение воздуха о стенки:
, где:
, поскольку:
,
Скорость воздуха:
.
в) Потери на трение частиц о стенки:

г) Потеря напора на разгон частиц:
.
Табл. 2 Результаты обработки эксперимента:
| Этап работы | Расход воздуха, Vв, м3/с | Скорость воздуха, м/с | Расход полиэтилена, G, кг/с | Порозность, ε | Потеря напора, Па | |||
| ∆Рcm | ∆Рв | ∆Р | ∆Рp | |||||
| Псевдо-ожижение | 0.0034 | 6.4579 | ___ | _____ | _____ | _____ | _____ | _____ |
| Пневмо-транспорт | ||||||||
| 1 | 0.0055 | 10.3036 | 0.0080 | 0.9772 | 327.6828 | 104.5330 | 448.6034 | 34.6019 |
По полученным данным строим график зависимости
:

Вывод: