| Скачать .docx |
Реферат: Лабораторные исследования промышленных катализаторов 2
Федеральное агентство по образованию
Государственное образовательное учреждение
высшего профессионального образования
«ТОМСКИЙ ПОЛИТЕХНИЧЕСКИЙ УНИВЕРСИТЕТ»

Химико-технологический факультет
Процессы и аппараты химических производств
Кафедра химической технологии топлива
«Лабораторные исследования промышленных катализаторов»
Реферат №3 по дисциплине «Дополнительные главы физической химии».
Исполнитель:
маг. гр. 5М550 Афанасьева Ю.И.
Руководитель:
Ассистент Чеканцев Н.В.
Томск – 2010
Оглавление
Лабораторные исследования промышленных катализаторов.......................................... 3
1. Методы определения активности катализаторов........................................................ 3
1.1.Статистический метод...................................................................................................... 3
1.2.Проточные (динамические) методы................................................................................ 4
1.2.1. Проточный метод..................................................................................................... 4
1.2.2. Безградиентный проточно-циркуляционный метод............................................ 5
1.3.Метод изучения кинетики реакций во взвешенном слое катализатора...................... 6
1.4.Импульсные методы исследования активности катализатора..................................... 7
2. Методы определения активности катализаторов........................................................ 7
2.1.Адсорбция как способ определения поверхности......................................................... 7
2.2.Методы определения поверхности по изотермам адсорбции...................................... 8
2.2.1. Объемные методы.................................................................................................... 9
2.3.Хроматографический метод определения поверхности............................................. 10
2.4.Адсорбционный метод определения радиуса пор....................................................... 10
2.5.Ртутная порометрия........................................................................................................ 12
2.6.Определение истинной и кажущейся плотности катализатора................................. 13
2.7.Электронная микроскопия............................................................................................. 13
3. Определение механической прочности катализаторов............................................. 14
3.1.Статические методы........................................................................................................ 14
3.2.Динамические испытания.............................................................................................. 14
3.3.Метод истирания............................................................................................................. 14
3.4.Определение механической прочности в условиях катализа.................................... 15
Список литературы................................................................................................................... 15
Лабораторные исследования промышленных катализаторов
Исследование катализаторов должно носить комплексный характер, поэтому, прежде всего, при их приготовлении надо определять их активность, макроструктуру (поверхность, пористость) и механическую прочность [1].
1. Методы определения активности катализаторов
Наиболее существенной характеристикой любого катализатора является его активность. Мерой каталитической активности может служить скорость протекания реакции в присутствии катализатора по отношению к единице объема контактной массы:
, (1)
где Сп – концентрация продукта, Си – концентрация реагента, τ – время, υ – объем контакта.
Для определения удельной каталитической активности (активности единицы поверхности), надо замерить всю внутреннюю поверхность и полностью ее использовать в реакции, т.е. вести процесс в кинетической области. Тогда скорость реакции выразится формулой:
, (2)
где Сн – начальная концентрация реагента, χ – степень превращения в целевой продукт реагента (выход продукта), Sуд – удельная поверхность контакта.
Методы определения кинетических характеристик делятся на 2 группы:
1) Статистические (в закрытых системах);
2) Проточные – в открытых системах.
1.1. Статистический метод
Реакцию проводят в замкнутом объеме до установления термодинамического равновесия или полного превращения реагента. При этом измеряется концентрация от исходной до равновесной. Соответственно, по закону действующих масс, измеряется и скорость реакции.
Чаще всего этот метод используют для процессов, приводящих к изменению числа молей, что позволяет следить за ходом реакции по изменению давления. Одним из таких процессов является реакция водорода с кислородом. Перед опытом в установке устанавливают вакуум (1,33 мПа). В процессе реакции через определенные промежутки времени измеряют давление, по изменению которого рассчитывают скорость реакции.
Основными преимуществами метода являются:
- возможность работы с малым количеством исходных веществ
- возможность работы с катализатором любой формы
- получение всей кинетической кривой в одном опыте.
Основным недостатком метода является справедливость допущения квазистационарного протекания реакции, влияющая на правильность выводов из результатов, полученных этим методом.
Этот метод рекомендуют применять в тех случаях, когда изменение состава реакционной смеси заметно не сказывается на составе и активности поверхности катализатора и когда изменение состава поверхности катализатора происходит гораздо быстрее, чем реакция.
Вариантом статистического метода является проведение реакций в жидкой фазе (например, гидрирование органических веществ). Из-за невысокой чувствительности метода (в отличие от газовой фазы) обычно используют катализатор в виде зерен и порошков, но не в виде пленок или нитей.
К недостаткам этого метода следует отнести:
- его интегральный характер (дифференцирование опытных данных)
- возможные перепады температур и концентраций.
Поэтому в настоящее время этот метод находит весьма ограниченное применение при изучении активности промышленных катализаторов.
1.2. Проточные (динамические) методы
В этих установках поток реагента пропускают с определенной скоростью через реакционный объем, содержащий катализатор, и замеряют параметры процесса, анализируют состав на входе в реактор, на выходе из него и в разных точках объема. Проточные реакторы позволяют проводить кинетические исследования в установившихся условиях (исходные концентрации, температура, давление, степень перемешивания).
Наиболее распространенными типами проточного метода являются:
1. Проточный
2. Безградиентный проточно-циркуляционный
1.2.1. Проточный метод
Это интегральный и непрерывный метод. Процесс может быть осуществлен как угодно долго при заданных концентрациях, температурах, давлениях, линейных и объемных скоростях газового потока на входе в реактор. При этом концентрации веществ и другие параметры изменяются по длине (высоте) реактора в результате химического превращения.
Плюсом таких установок является их аппаратурное оформление, которое проще, чем у статических установок, но недостаток – меньшая чувствительность.
При использовании этого метода с неподвижным слоем катализатора допускают движение газа в режиме идеального вытеснения, т.е. отсутствием радиальных градиентов температур, давлений и концентраций. Тогда среднюю скорость процесса по высоте слоя или времени контакта определяют интегрированием (1) и (2). Кроме того возможно применение графического дифференцирования зависимости
, но это вносит свою погрешность.
Основное достоинство проточного метода – возможность определения каталитической активности при стационарном состоянии катализатора. К другим достоинствам относятся: простота конструктивного оформления, непрерывность работы, возможность проверки катализатора в условиях, близких к производственным. Существенный недостаток – невозможность прямого измерения скорости реакции и трудность осуществления режима идеального вытеснения.
Данный метод нашел применение при изучении реакций окисления оксида углерода, сернистого ангидрида, аммиака, спиртов и др.
Общая схема проточной установки для определения активности катализатора SO2 приведена на рис. 1.
Рис. 1. Стандартная установка для испытания активности катализаторов окисления SO2 проточным методом:
1 – дрексель, 2 – смеситель газов, 3 – контактная трубка, 4 – электрическая печь, 5 – поглотительная склянка с серной кислотой, 6 – аспиратор, 7 – анализатор, 8 – термопара.
Газовую смесь через смеситель 2 направляют в реактор с контактной массой. Для регулирования температуры в отдельных частях слоя контактной массы с достаточным приближением к изотермичности, контактная трубка 3 помещена с электрическую печь 4. Концентрацию сернистого ангидрида определяют до и после контактной трубки.
1.2.2. Безградиентный проточно-циркуляционный метод
Метод осуществляется в условиях практического отсутствия в реакционной зоне перепадов концентраций и температур. Перемешивание в данной схеме достигается интенсивной циркуляцией (с помощью насосов) реакционной смеси через катализатор в замкнутом объеме при непрерывном поступлении и выведении газового потока, причем циркулирующего газа должно быть значительно больше вновь вводимого сырья. На рис. 2 представлен циркуляционный контур, состоящий из электромагнитного насоса 3, клапанной пробки 2 двойного действия и реактора 1, помещенного в печь.

Рис. 2. Проточно-циркуляционная система с электромагнитным поршневым насосом:
1 – реактор, 2 – клапанная коробка, 3 – циркуляционный насос
За счет высокой линейной скорости реакционной смеси и малой степени превращения достигаются минимальные перепады концентраций и температур. Аппарат может быть рассмотрен как аппарат идеального смешения.
Основные достоинства данного метода:
1. Прямое измерение скорости реакции
2. Постоянство температуры в реакторе благодаря интенсивной циркуляции и малому изменению степени превращения в слое катализатора
3. Режим идеального смешения, т.е. отсутствие внешнедиффузионных торможений
4. Возможность работы с любым количеством катализатора, вплоть до одной гранулы, при любых размерах гранул и соотношениях размеров гранул и реактора
При этом внутридиффузионное торможение сохраняется. А его снятие требует уменьшения размера гранул катализатора. Сохраняя состав катализатора, но варьируя размер его гранул, можно выявить влияние пористой структуры на активность контактной массы, а также их максимальный размер, соответствующий переходу от внутридиффузионной области к кинетической.
К недостаткам метода относятся:
1. Сложность аппаратурного оформления
2. Необходимость достаточного количества исходных веществ и времени для достижения стационарного состояния
В этом методе для расчета скорости реакции используют значительную разность концентраций смеси, поступающий в циркуляционный контур и выходящей из него. Поэтому каталитическая активность данным методом может быть измерена с гораздо большей точностью.
1.3. Метод изучения кинетики реакций во взвешенном слое катализатора
Метод имеет важное значение при моделировании производственных условий некоторых процессов. Но ведение реакций во взвешенном слое требует тщательного выбора гидродинамических условий, соответствующих моделируемому процессу. Важно аналогичное моделируемому процессу отношение действительной скорости ω и скорости начала взвешивания ωв катализатора.
Скорость начала взвешивания можно определить по уравнению:
(3)
где Reв – критерий Рейнольдса, Ar – критерий Архимеда.
Уравнение (3) применимо для моно- и полидисперсных слоев с частицами сферической и неправильной формы в широком диапазоне чисел Re и позволяет определять скорость начала взвешивания катализатора ωв с точностью до ± 30 %.
Установка для окисления сернистого ангидрида во взвешенном слое катализатора аналогична установке, изображенной на рис. 1, но газовую смесь заданного состава подают в контактный аппарат снизу вверх со скоростью, превышающей истинную скорость начала взвешивания ωв.и. :
(4)
1.4. Импульсные методы исследования активности катализаторов
Данные методы предусматривают использование хроматографического адсорбента в качестве катализатора с периодической подачей на него реагирующих веществ. В колонке происходит разделение продуктов и непрореагировавших компонентов реакционной смеси.
В импульсном каталитическом микрореакторе через систему с постоянной скоростью пропускают газ-носитель (инертный газ или один из реагентов). В газ-носитель до реактора вводят реагент. Из реактора газ-носитель поступает в термостатированную колонку газового хроматографа и затем в детектор. Метод позволяет за короткий срок оценить относительную активность и селективность большого числа катализаторов при различных температурах.
Импульсные методы не пригодны для определения каталитической активности в стационарных условиях. Но с их помощью можно получить кинетические данные для нестационарных процессов, при которых каталитическая поверхность еще не равновесна. Изучая импульсы, следующие друг за другом при постоянной температуре, можно проследить изменение катализатора еще до наступления стационарного состояния.
2. Исследование структуры
К числу важнейших характеристик контактных масс относится их пористая структура (размер поверхности, суммарный объем пор и их распределение по радиусам).
2.1. Адсорбция как способ определения поверхности
Измерить поверхность катализатора можно путем исследования физической адсорбции газов при температурах, близких к их точкам кипения. При этом количество адсорбированного газа зависит только от равновесных давления и температуры. Если температура газа ниже его критической, т.е. газ является паром, то более удобна форма зависимости адсорбированного при равновесии газа Qг при фиксированной температуре газа и твердого тела, которая выражается уравнением:
(5)
где Ро – давление насыщенного пара адсорбата.
Эта функция (5) выражает изотерму адсорбции, связывающую количество адсорбированного газа с его давлением. Данную зависимость впервые вывел Ленгмюр. При этом предполагается, что адсорбция ограничена образованием монослоя, т.е. адсорбироваться могут только те молекулы, которые ударяются о чистую поверхность. Уравнение Ленгмюра имеет вид:
(6)
где Sа.м. – доля поверхности, покрытая адсорбированными молекулами, α0 – «коэффициент конденсации» - отношение числа неупругих столкновений ко всем, n – число десорбируемых за единицу времени молекул, m – число молекул, удаляющихся о площадь поверхности, равную единице.
Уравнению Ленгмюра подчиняется всего пять типов изотерм физической адсорбции паров, рис. 3.

Рис. 3. Типы изотерм физической адсорбции паров
Изотерма I соответствует мономолекулярной изотерме Ленгмюра, II и III - мономолекулярной и полимолекулярным адсорбциям. IV и V сходны с изотермами II и III, но максимум адсорбции почти достигается при давлениях меньше P0 . Они отвечают случаям, когда мономолекулярная и полимолекулярная адсорбции сопровождаются капиллярной конденсацией. Большинство паров имеют форму изотермы адсорбции типа II, по которой, используя теорию БЭТ, можно определять удельную поверхность адсорбирующего твердого тела.
2.2. Методы определения поверхности по изотермам адсорбции
Эти методы делятся на три основные группы: объемные, весовые и методы, основанные на изменении теплопроводности (динамические).
В объемном методе при заданном давлении измеряется изменение объема газа, которое и служит мерой количества адсорбированного вещества.
В весовом методе определяется привес твердой фазы (адсорбент-адсорбат), обусловленный адсорбцией газа.
В методах, основанных на измерении теплопровод ности, используется ячейка, которая позволяет определять изменение теплопроводности потока газа, проходящего над сорбентом, вследствие изменения состава газа, вызванного адсорбцией или десорбцией. Они приобрели распространение в связи с развитием газовой хроматографии.
2.2.1. Объемные методы
Наиболее распространены объемные методы определения поверхности. Схема одной из установок данного метода приведена на рис. 4.

Рис. 4. Адсорбционная установка для определения площади поверхности объемным методом:
1 – кран для подачи азота, 2 – кюветы, 3 – ампула, 4 – масляный манометр, 5 – ртутный манометр, 6 – колба для хранения газа, 7 – кран, 8 – калиброванная колба, 9 – лампа термопары
Обязательным условием работы данного метода является термостатирование измерительной бюретки (до ±0,050 ). Для создания разряжения используют форвакуумный насос. С помощью откалиброванной колбы 8 производят все необходимые измерения объемов системы. Ртутный манометр 5 предназначен для измерения давления в системе, а масляный 4 – для определения изменения давления при адсорбции.
Для определения удельной поверхности, берут навеску исследуемого катализатора, чтобы ее суммарная поверхность была 5-100 м2 . Все кюветы заполняют навесками и ставят в рабочее положение (соединяют их с вакуумной линией и создают необходимый вакуум при обогреве до 200-250 0 С). Затем отключают насос и обогрев. После остывания кюветы соединяют с измерительной системой. Далее из колбы с азотом подают газ с таким расчетом, чтобы его давление в системе стало 16 кПа, отключают от системы все кюветы, кроме одной, замеряют показания манометра и кювету погружают в сосуд Дьюара с жидким азотом. После того как положение уровня жидкости в манометре установится, снова замеряют давление.
Удельную площадь поверхности катализатора рассчитывают по формуле:
, (7)
где А – постоянная для данного объема системы, ∆Р – изменение давления после погружения кюветы в жидкий азот (после адсорбции), Р – давление азота в системе, акат – навеска катализатора, г, n=υ/υм , υ – объем контакта, υм – вместимость монослоя, г адсорбента на 1 г твердого тела, i=∆Р/Р – коэффициент охлаждения.
2.3. Хроматографический метод определения поверхности
Имеет ряд плюсов по сравнению со статистическими методами:
- не требует вакуумной аппаратуры,
- проще в монтаже,
- меньший расход времени,
- более чувствительны (можно определять поверхность в 0,01 м2 /г).
Сущность метода заключается в том, что из смеси адсорбата с газом-носителем производят поглощение адсорбата при охлаждении образца адсорбента до температуры жидкого азота. Это приводит к уменьшению концентрации адсорбата в смеси, проходящей через ячейку катарометра, и фиксированием на диаграмме адсорбционного пика. При комнатной температуре его концентрация возрастает и это дает на диаграмме десорбционный пик, направленный в противоположную сторону. Площадь пика пропорциональна количеству адсорбированного адсорбата.
При выборе адсорбата руководствуются тем, чтобы площадь его молекулы в монослое была постоянной. И при температуре опята химическая адсорбция отсутствовала. Лучше всего этим требованиям отвечают инертные газы и азот.
При выборе газа-носителя необходимо, чтобы его адсорбция при температуре опыта была настолько мала, чтобы ей можно было пренебречь. Кроме того, коэффициенты теплопроводности газа-носителя и адсорбата должны сильно различаться между собой для обеспечения высокой чувствительности катарометра.
Образование мономолекулярного слоя адсорбата на катализаторе достигается выбором определенных соотношений газов в исходной смеси. Так при работе с азотом его относительное парциальное давление должно быть в пределах 0,1-0,3, чтобы образовывался именно мономолекулярный слой.
После проведения эксперимента значение удельной поверхности рассчитывают с учетом того, что площадь одной молекулы, например азота, в плотном монослое составляет 1,62 нм2 :
, (8)
где Sп – площадь пика, см2 , f – масштабный коэффициент, Z – калибровочный коэффициент, см3 /см2 , акат – навеска катализатора, г.
Погрешность расчета по данной формуле не превышает ±5 %.
2.4. Адсорбционный метод определения радиуса пор
Для полной оценки структурных характеристик контактных масс необходимо знать объем пор или средний радиус и распределение объема пор по размерам. Зная эти данные, можно определить наличие или отсутствие и степень внутридиффузионных осложнений, а также степень использования внутренней поверхности катализатора. Адсорбционный метод основан на том, что капиллярная конденсация в узких порах происходит при давления, меньших, чем давление насыщенного пара адсорбата. Снижение давления паров над цилиндрическим столбом жидкости, находящейся в поре (капилляре) с радиусом r, выражается уравнением Кельвина:
, (9)
где υ – мольный объем жидкости, rК – радиус цилиндра, соответствующий заданному значению Р/Р0 (средний радиус Кельвина).
В опыте необходимо провести адсорбцию до относительного давления, равного единице, и десорбцию, а затем использовать для расчета десорбционную ветвь петли гистерезиса данной изотермы. Для примера, на рис. 5 дана изотерма адсорбции и десорбции паров бензола на крупнопористом силикагеле.

Рис. 5. Изотермы адсорбции и десорбции паров бензола на крупнопористом силикагеле при 20 0 С
Каждая точка изотермы дает значение адсорбированного количества бензола а и относительного давления пара Р/Р0 . Умножая а на мольный объем жидкости υ , находят объем пор, а подставляя в уравнение (9) относительное давление пара получают rК .
Так как капиллярная конденсация обычно сопровождается полимолекулярной адсорбцией в порах твердого вещества, значение rК отличается от r на толщину адсорбированного полимолекулярного слоя (для модели сорбента с цилиндрическими или коническими порами):
(10)
где а – адсорбция при данном относительном давлении Р/Р0 , ммоль/г; Sуд – удельная поверхность сорбента (8), см2 /г; υ – объем 1 ммоль ожиженного пара при температуре опыта, см3 .
Значение δ соответствует началу гистерезиса. На каждом этапе десорбции сорбента наблюдается следующая зависимость:
(11)
где ∆υ – изменение сорбции, выраженной в объеме ожиженного пара при температуре опыты; ∆υ* - приращение объема опорожненных пор.
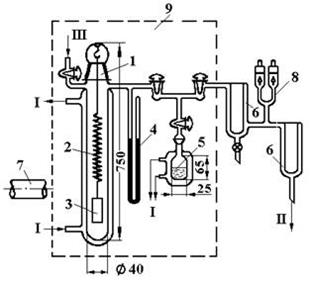
Отношение ∆υ*/∆r выражает распределение объема пор по радиусам для твердого пористого тела. Но при определении функции распределения объема пор необходима большая точность изотермы адсорбции в обоих направлениях. Поэтому измерение проводят весовым методом с применением пружинных весов Мак-Бена, рис. 6 [2].

Рис. 6 - Схема вакуумной сорбционной установки Мак Бена:
1 - сорбционная колонна, 2 - кварцевая спираль, 3 - образец, 4 - манометр, 5 - термостатируемый источник паров, 6 - ловушки, 7 - катетометр, 8 - манометрические лампы, 9 - воздушный термостат. I - к ультратермостату, II - к высокому вакууму, III - воздух.
Несмотря на допущения в расчетах распределения пор по размерам с помощью уравнения Кельвина (9), получаемые данные представляют значительный интерес и позволяют оценить макроструктуру пористых катализаторов и адсорбентов.
2.5. Ртутная порометрия
Метод основан на свойствах ртути не смачивать многие твердые тела. Связь между внешним давлением Р и капиллярным сопротивлением в порах твердого тела определяется уравнением капиллярного давления:
(12)
или
(13)
где S – площадь поперечного сечения поры; h – высота капиллярного падения жидкости; П – периметр поры; Θс – угол смачивания между твердым веществом и жидкостью 1400 для ртути; σ=480∙10-2 Н/м (для ртути) – поверхностное натяжение.
Отношение площади поперечного сечения пор S к периметру П представляет собой гидравлический радиус пор, который всегда равен половине эквивалентного радиуса поры при сечении любой формы:
(14)
где Рприв =Рм +Рнач -∆Р – приведенное давление, МПа; Рм – манометрическое давление, Рнач – начальное давление, ∆Р – уменьшение давления столба ртути в капилляре дилатометра.
Пористую структуру твердых тел по этому методу исследуют на установке, состоящей из поромеров низкого (для определения объема наиболее крупных пор) и высокого давления (для определения объема пор размером от 3 до 6000 нм). Приборы позволяют замерить эквивалентные радиусы пор от 2,5 до 35000 нм.
2.6. Определение истинной и кажущейся плотности катализатора
Суммарный удельный объем катализатора (см3 /г) можно рассчитать по истинной (масса единицы объема собственно твердого материала без учеба объема пор) и кажущейся плотностям катализатора:
(15)
Наиболее распространен пикнометрический способ определения истинной плотности твердых тел. В качестве пикнометрической жидкости используют бензол, этиловый спирт, воду и другие растворители. Для определения пикнометр с бензолом термостатируют, затем взвешивают пикнометр с бензолом и без него. После этого определенную навеску образца заливают в пикнометре до метки бензолом и кипятят при 80-90 0 С. Во время кипячения воздух удаляется из пор, и они заполняются бензолом. Далее в пикнометр добавляют бензол до метки, снова термостатируют и взвешивают. Истинную плотность рассчитывают по формуле:
(16)
где А – масса пикнометра с бензолом, г; В – масса пикнометра с навеской и бензолом, г; 0,879 – плотность бензола при 20 0 С, г/см3 .
Кажущаяся плотность – масса единицы объема твердого материала, включая объем пор. Для ее определения навеску образца помещают в предварительно взвешенный прибор и откачивают воздух из образца. Остаточное давление замеряют вакуум манометром. Далее ртутью заполняют образец и она вдавливается в поры под атмосферным давлением. После чего прибор очищают от ртути и взвешивают. кажущуюся плотность рассчитывают по формуле:
(17)
где А – масса прибора с ртутью, г; В – масса прибора с образцом и ртутью, г; 13,54 – плотность ртути при 20 0 С, г/см3 .
Суммарную пористость катализатора определяют с помощью водопоглощения W (% от массы образца):
(18)
где aкат0 и акат1 – масса испытуемого образца до и после насыщения соответственно.
2.7. Электронная микроскопия
По сравнению с другими методами позволяет видеть изучаемый объект. Если данные других исследований надо интерпретировать для получения представлений о структуре тел, то электронная микроскопия свободна от этого ограничения. При помощи микроскопа можно рассматривать образец и отпечаток рельефа его поверхности. Таким образом, при изучении твердых тел можно анализировать порошки, ультратонкие срезы и реплики.
3. Определение механической прочности катализаторов
Наиболее достоверные механические характеристики катализатора могут быть получены в условиях протекания каталитического процесса, так как прочностные свойства твердых тел зависят от действий сорбционно-активной среды и температуры.
При работе в условиях неподвижного и взвешенного слоев контактные массы испытывают различные нагрузки. В первом случае зерна находятся под давлением вышележащих слоев, т.е. «работают» на сжатие в условиях различных температур и сред. В режиме взвешивания на катализатор действуют силы трения и удара. Учитывая различия в нагрузке, испытания контактных масс производят различными методами.
3.1. Статистические методы
Являются наиболее распространенными. Чаще всего используют метод раздавливания гранул. Усилие, необходимое для разрушения образца, определяется пружинным силоизмерителем. На приборе МП-2С удается измерить усилия от 5∙10-2 Н до 1 кН. Так как прочность пористых материалов обычно сильно зависит от скорости нарастания нагрузки, чем прочность сплошных тел, в этом приборе предусмотрено устройство, обеспечивающее широкий диапазон скоростей нагружения – от 5 до 2∙107 г/мин.
3.2. Динамические методы
Их проводят на копрах. Образец помещают на наковальню, куда падает боек. Методика испытаний предусматривает разбивание гранул бойком определенной массы m (от 5∙10-4 до 0,1 кг), падающим с разных высот h . На каждой высоте испытывают 10-15 гранул и определяют долю неразбитых гранул от общего числа испытанных образцов. Высоту падения бойка варьируют от 0,01 до 1,25 м.
3.3. Метод истирания
В колонну загружают навеску катализатора, подают очищенный и осушенный воздух со скоростью, превышающей критическую скорость взвешивания в определенное число раз. Через определенные промежутки времени, взвешивая катализатор, определяют его убыль. Для контроля также взвешивают ловушку с фильтром. Истираемость массы I (%) за определенный период времени считают как отношение убыли в массе катализатора к его первоначальной массе:
(19)
Прибор МП-8И также служит для определения истираемости катализаторов и сорбентов. Он состоит из двух барабанов, вращающихся с разной скоростью. Наружный барабан вращается с частотой 30-200 оборотов в минуту и пересыпает гранулы на другой барабан, частота вращения которого 1000 – 10000 об/мин. Измельченный материал собирается в поддоне, а навеска образца, остающаяся в барабане, служит мерой истираемости. Проведенные опыты показали, что такая методика удовлетворяет в основном поставленным требованиям. Кроме того этот прибор можно использовать и для оценки износа зерен в условиях реакции, при этом его помещают в коаксиальную цилиндрическую печь, а необходимый поток реагентов подводят вдоль оси вращения.
3.4. Определение механической прочности в условиях катализа
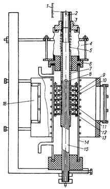
Данное определение дает наиболее достоверное сведения о качестве катализатора. Прибор, позволяющий определить механическую прочность катализатора, представлен на рис. 7.
.
Рис. 7. Схема прибора для определения механической прочности катализаторов в условиях реакции:
1 – шкала, 2, 7, 9 – втулки, 3 – гайка, 4 – сильфон, 5 – измерительная пружина, 6 – пробка, 8 – термопара, 10 – спираль, 11 – перфорированная тарелка, 12 – образец, 13 – теплоотражатель, 14 – кварцевый реактор, 15 – стержень, 16 – окно
Образцы катализатора по три гранулы помещают между плоскими перфорированными тарелками 11, расположенными в реакторе 14. Усилие поджима создают измерительной пружиной 5 и втулкой 2 и передают через тарелки на образцы. Контроль и регулирование температуры в зоне реакции ведут с помощью термопары 8. Методика испытаний состоит в следующем. После загрузки реактора и прогрева включают подачу реагентов и создают определенный поджим пружины. Через окна отражателя визуально фиксируют число неразрушившихся гранул.
Список литературы
1. Технология катализаторов / И. П. Мухленов, Е. И. Добкина, В. И. Дерюжкина; Под ред. И. П. Мухленова. — 2-изд., перераб. — Л. : Химия, 1979. — 325 с.
2. Весы Мак Бена [Электронный ресурс]. – Режим доступа: - http://m-protect.ru/wiki/index.php/Весы_Мак_Бена. - 04.06.2010.