| Скачать .docx |
Реферат: Комплексное многофункциональное устройство для обучения и тренировки тяжелоатлетов и пауэрлифтеров
Кандидат педагогических наук, доцент Н.П. Волков Московский физико-технический институт, Москва
Конструирование механических моделей движений широко применяется при создании тренажерной техники для обучения и тренировки тяжелоатлетов и согласуется с теорией "искусственной управляющей среды" И.П. Ратова [4]. Известны тренировочные устройства [1, 5], конструкции которых ориентированы на искусственное задание параметров движения спортивной штанги по расчетным траекториям. Они позволяют осуществлять частичное задание движения штанги. При этом действия атлета отрабатываются на начальном или конечном участках движения штанги. Однако необходимо стремиться к проработке действий атлета при перемещении штанги по полной траектории движений [2, 3]. Предлагаемое многофункциональное устройство соответствует требованию решать более широкий спектр задач. Первая из них - отработка двигательных действий при выполнении тяжелоатлетами и пауэрлифтерами соревновательных движений как по частичной, так и по полной амплитуде перемещения штанги. Вторая - отработка атлетом двигательных действий при оказании сопротивления движению штанги. Третья - отработка атлетом двигательных действий при различных режимах работы мышц. Четвертая - возможность использования специальноподготовительных и профилактических упражнений.
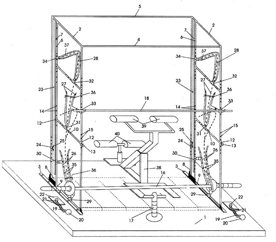
Многофункциональное устройство для обучения и тренировки тяжелоатлетов и пауэрлифтеров включает четыре блока: опорный, нагрузочный, блок установки и задания перемещения спортивной штанги и блок размещения спортсмена. Опорный блок состоит из основания 1, из двух прямоугольных рам 2, вертикально установленных на нем и параллельно одна другой при помощи крепежных скоб 3 и жестко соединенных верхними концами штанги - 4 и 5. В каждой раме 2 установлены с зазором относительно друг друга и параллельно друг другу стойки 6 и 7. В нижней части рамы 2 между ее стороной и стойкой выполнено окно 8. Между стойкой 7 и стороной каждой рамы 2 внизу неподвижно установлена поперечина 9, а вверху - поперечины 10 и 11 с возможностью перемещения вдоль них и фиксации их положения при помощи закрепленных на концах ползунов 12, и фиксаторов 13, устанавливаемых в соосных отверстиях 14,15 в стойке 6 и стороне рамы 2 соответственно. Нагрузочный блок содержит гриф 16 спортивной штанги, гриф 17, держатель пирамиды с рукояткой, диски к ним, методическую палочку 18 и сменные резиновые амортизаторы 19, несущие на одних своих концах съемные кольца 20 для установки на свободных концах грифа 16 спортивной штанги и методической палочки 18, а на других многозвенные цепи 21 для закрепления при помощи крюка 22 на основании 1. Блок установки и задания перемещения спортивной штанги (или методической палочки) содержит прямолинейные направляющие 23, образованные стойкой 6 и стороной рамы 2 с установленным в ней ползуном 24, стопором 25 движения спортивной штанги, а также нижние 26, средние 27, верхние 28 съемные криволинейные направляющие для перемещения спортивной штанги (изогнутые по форме эталонной траектории соответствующего участка ее движения в соревновательных упражнениях) и три пары щитов с вырезанными в них эталонными траекториями (полными) движения штанги с учетом роста обучающегося, жестко закрепляемых в рамах 2.
Направляющие 26 установлены с возможностью изменения угла их наклона к основанию 1 в каждой раме 2 при помощи неподвижной поперечины 9 и стойки 6, в которых установлены ползуны 29, 30, шарнирно соединенны е с направляющими 26, соответственно с фиксаторами их положения (не обозначены), вставляемыми в соосные отверстия в них, стойке 6 выше направляющей 26 с возможностью изменения угла их наклона к основанию 1 и регулирования их положения по высоте при помощи подвижных поперечин 10, 11 опорного блока и установленных в них и стороне рамы 2 и стойке 6 ползунов 31, 32 и 33, 34 соответственно, шарнирно соединенных с направляющими 27, 28.

В каждой направляющей 26, 27 сделаны соосные отверстия 35 для установки в них стопоров движений 36, а в направляющих 28 - окно для установки в них грифа 16 штанги. При установке щитов (не показан) с вырезанными в них полными эталонными траекториями движения штанги в соревновательных упражнениях направляющие 26, 27, 28 снимаются, поперечины 10, 11 закрепляются в раме 2 в крайне верхнем положении, а щиты устанавливаются в рамах 2 при помощи высвободившихся ползунов 30, 32 с фиксаторами. При этом к ползунам 32 приварены держатели грифа 18 спортивной штанги для выполнения приседаний с ней. Кроме того, блок снабжен разборными подставками (показаны пунктиром) под диски штанги для установки тяжелых грузов и выполнения тяг. Блок размещения спортсмена содержит конструируемые на основании 1 между рамами 2 разборное возвышение (показано пунктиром) для размещения атлета стоя, составленное из плит одинакового размера с плитами подставок, и опору для размещения атлета сидя и в наклоне, состоящую из вертикальной опорной рамы 38, несущей симметрично установленные в ее противоположных сторонах (с возможностью регулирования их положения и фиксации) валики 39 для размещения туловища и валики 40 для закрепления голеней и стоп атлета.
Комплексное многофункциональное устройство может использоваться на разных стадиях процесса обучения и тренировки тяжелоатлетов и пауэрлифтеров. Устройством пользуются следующим образом. Сначала обучают стартовому положению и "динамическому старту". Гриф 16 спортивной штанги или методическую палочку 18 устанавливают в направляющих 23 или 26 на высоте 22,5 см над основанием 1, ограничивая их перемещение стопорами 25 или 36, в исходном положении или на участке 5-10 см пути штанги 16. Обучающийся отделяет штангу от помоста (основания 1) и безошибочно возвращается в исходное положение. Для обучения двигательным действиям в фазе "предварительного разгона" ход штанги 16 увеличивают, переставляя стопоры 25 или 36 в направляющих 23, 26 соответственно. Сменные направляющие 26 предварительно подбирают по росту обучающегося и устанавливают в рамах 2 под наклоном к основанию 1, обеспечивающему требуемое максимальное приближение штанги к атлету в соответствии с 34. Многократно выполняя тягу штанги в направляющих 23, 26, атлет учится безошибочно прилагать усилия для перемещени я штанги в нужном направлении. При завершении движения штанги в направляющих 26 и ее упоре в стопор 36 у нижних третей бедер обучающийся сгибает ноги в коленных и голеностопных суставах, подводит колени под гриф 16 штанги и, сохраняя жесткость пространственного контура спины, продолжает выполнять тягу штанги при статическом режиме работы мышц, завершая стадию "амортизации". Сняв стопоры 36, отрабатывают тягу с подрывом. Затем направляющие 27 устанавливают в рамах 2 с требуемым наклоном к основанию 1 так, чтобы гриф 16 штанги находился на уровне нижних третей бедер; приняв вышеописанное положение тела в фазе "амортизации", обучающийся продолжает отрабатывать тягу с подрывом в фазе "финального разгона" штанги. При этом направляющие 27 ограничивают неправильное перемещение штанги 16. Завершив отработку тяги штанги в фазе "финального разгона", гриф 16 штанги или методическую палочку 18 устанавливают в направляющих 23 на высоте нахождения штанги на выпрямленных руках в подседе и выполняют подсед-вставание для рывка. Для отработки ухода под штангу в подсед с завершающей работой рук направляющие 28 устанавливаются в рамах 2 на высоте окончания фазы "финального разгона", методическая палочка 18 устанавливается в них на этой высоте. Атлет выполняет протяжку руками с уходом в подсед. Для усложнения упражнения используют резиновые амортизаторы 19, которые одними концами при помощи цепи 21 закрепляют на крюках 22, а другими - устанавливают при помощи колец 20 в концах методической палочки 18. Обучающийся выполняет рывковую протяжку палочки 18 в направляющих 28 и уходит в подсед. После этого направляющие 27 снимают и методическую палочку 18 с амортизаторами 19 устанавливают в направляющих 26 в стартовое положение для отработки подъема на грудь с полуподседом и подседом. Выполнение этих упражнений с затруднением перемещения палочки 18 позволяет отрабатывать подворот локтей под гриф штанги.
Затем направляющие 26, 27, 28 снимают, поперечины 10, 11 переводят в крайнее верхнее положение и закрепляют в рамах 2, устанавливают щиты (не показаны) с вырезанными в них эталонными траекториями движения штанги в рывке и при подъеме на грудь, выбранными в соответствии с изучаемым упражнением и ростом обучаемого. Упражнения многократно выполняются с методической палочкой 18, вставленной в прорези обоих щитов. Для изучения лифтинговой тяги гриф 16 штанги легкого веса устанавливают в прямолинейных направляющих 23. Все соревновательные упражнения выполняются с жестко выпрямленным пространственным контуром спины.
Таким образом, в случае использования при обучении тренажера создаются условия для реализации и полных, и частичных пространственных моделей лифтерской тяги, рывка и подъема штанги на грудь. Биомеханически обоснованная отработка техники специальных упражнений будет оказывать целенаправленное воздействие на формирование ведущих элементов сложнокоординационных соревновательных движений в пауэрлифтинге и тяжелой атлетике.
Выводы. Применение приемов искусственного задания пространственных параметром движений штанги и оказание сопротивления ее перемещению, а также расширение диапазона нагрузочных средств при использовании комплексного многофункционального устройства для обучения и тренировки тяжелоатлетов и пауэрлифтеров позволяют выполнять следующие упражнения:
1. Отработку техники "динамического старта" в рывке, подъеме штанги на грудь и лифтерской тяге в стато-динамическом режиме работы мышц.
2. Отработку техники перемещения штанги в фазе "предварительного разгона" соревновательного упражнения в преодолевающем, уступающем, статическом, с амортизаторами и смешанном режимах работы мышц.
3. Отработку техники перемещения штанги в фазах "амортизации" и "финального разгона" в различных режимах работы мышц.
4. Отработку техники "подворота локтей под гриф штанги" в направляющих и с амортизаторами и ухода в подсед.
5. Отработку рывковой протяжки руками в фазе "опорного подседа" в направляющих и с амортизаторами, в положении атлета стоя и сидя.
6. Отработку протяжки руками различными хватами в фазе "предварительного разгона" в опорном наклоне туловища.
7. Отработку техники подъема штанги на грудь в рывке с использованием полных моделей траекторий движения штанги (проводка по движению).
8. Отработку приседаний-вставаний со штангой в выпрямленных вверх руках в прямолинейных направляющих.
9. Отработку перемещения штанги в лифтерской тяге в прямолинейных направляющих в стато-динамическом режиме работы мышц.
10. Выполнение тяги в направляющих стоя на возвышении.
11. Выполнение тяги пирамиды дисков, стоя на разведенных в стороны подставках.
12. Выполнение тяги в направляющих с подставок различной высоты.
13. Выполнение наклонов со штангой в положениях сидя и с опорой туловища при закрепленных стопах.
14. Выполнение приседа-вставания из положения сидя на подставке.
15. Выполнение профилактических висов на поперечине 4.
Список литературы
1. Волков Н.П. Тяжелоатлетический тренировочный комплекс для обучения двигательным действиям //Теория и практика физ. культуры, 1987, № 6, с. 48-49.
2. Воробьев А.Н. Биомеханическая характеристика тяжелоатлетических упражнений //Тяжелоатлетический спорт. Очерки по физиологии и спортивной тренировке. 2-е изд., перераб. и доп. - М.: ФиС, 1977, с. 4-38.
3. Воробьев А.Н. Научное обоснование основных положений спортивной тренировки и техники тяжелоатлетов // Теория и практика физ. культуры. 1978, №5, с. 8-11.
4. Ратов И.П. Проблемы преодоления противоречий в процессе обучения движениям и реализации дидактических принципов // Теория и практика физ. культуры. 1983, № 7, с. 40-44.
5. Хатуев Л.М., Шуба В.А. Ориентировочная основа движений при формировании двигательной установки тяжелоатлетов // Теория и практика физ. культуры. 1983, №10, с. 55-56.