| Похожие рефераты | Скачать .docx |
Реферат: Обслуживание пассажирских вагонов
Обслуживание пассажирских вагонов
Содержание
1. Кипятильник. Обслуживание кипятильников
2. Системы электроснабжения пассажирских вагонов
3. Правила проезда пассажиров в дальних и местных поездах
4. Обеспечение мер безопасности при осмотре (ремонте) вагонов ПТО
1. Кипятильник. Обслуживание кипятильников
Комбинированный кипятильник может работать от электроэнергии и на твердом топливе. Объем кипятильного пространства - 9 л, водосборника кипяченой воды - 15 л. Электронагревательных элемента три: два боковых и один верхний. Мощность, потребляемая тремя элементами, - 2,2 кВт; напряжение - 55 В. Время нагревания воды от 17 до 100°С составляет: при порожнем сборнике кипяченой воды на твердом топливе - 10 мин, с электроподогревом - 20 мин; при сборнике, заполненном холодной кипяченой водой, на твердом топливе -20 мин, с электроподогревом - 30 мин.
Производительность кипятильника при работе на твердом топливе - 16-18 л/ч, на электроэнергии - 12-14 л/ч. При работе на твердом топливе время от растопки до начала кипячения колеблется от 10 до 12 мин, а до наполнения водосборника кипяченой водой - от 20 до 25 мин.
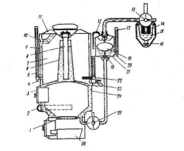
Кипятильник (см. рис.) состоит из корпуса 9, зольника с ящиком 26, крышки 11 с гнездом для верхнего нагревательного элемента 8, клапана 18 с поплавком 19, регулирующим подачу сырой воды в кипятильник, водоотстойника с сетчатым фильтром 14, очищающим сырую воду от механических примесей, двух боковых электронагревательных элементов 2, указателя уровня кипяченой воды 5, ртутного термометра 22, спускного крана 25 и водоразборного крана 23.

Корпус кипятильника включает водосборник 7 и корпус топки 24 с люком 3 и колосником 1. Помещаются они внутри наружного кожуха кипятильника и образуют кипятильное пространство, которое заполняется водой. Поплавковый клапан заключен в кожух 21 с крышкой и снабжен указателем уровня 17 и перепускной трубой 12.
Водоотстойник объединяет трехходовой кран 13, сетчатый фильтр 14, стеклянный колпак 15 и натяжную скобу 16. Вода из системы водоснабжения поступает через трехходовой кран 13 в сетчатый фильтр 14 водоотстойника, где очищается от механических примесей, и через поплавковый клапан 18 - в кипятильное пространство. Уровень воды в этом пространстве поднимается до тех пор, пока не закроется поплавковый клапан. При этом уровень воды в конусе 6 водосборника будет на 40 мм ниже верхнего края конуса, так что сырая вода не может попасть в сборник кипяченой воды. По указателю уровня 17 следят за наполнением кипятильника водой. Уровень воды должен находиться примерно на 5 мм выше нижней красной черты, нанесенной на водомерном стекле. Заправку системы водоснабжения при минусовых температурах наружного воздуха производят- после заправки системы отопления и нагрева воздуха в вагоне до температуры не ниже 12°С.
2. Системы электроснабжения пассажирских вагонов
Четыре основные системы: Отличаются типом источника питания и способом доставки на вагон электроэнергии.
автономная
смешанная
централизованная
централизованная высоковольтная
Автономная система
Система распределения смонтирована на распределительном щите в служебном купе проводника. На вагонах с автономной системой электроснабжения имеется полный комплект устройств, необходимых для работы:
источник питания
потребители
система распределения энергии.
Источник питания предназначен для получения электрической энергии. На пассажирском вагоне имеется минимум два источника питания:
аккумуляторная батарея
генератор
При движении питание производится от генератора. Вал генератора приводится во вращение с помощью механической передачи, которая называется приводом генератора. У большинства пассажирских вагонов генератор начинает работать на скорости около 35 км/ч. Если скорость движения меньше, то питание осуществляется от аккумуляторной батареи. В качестве генераторов используют следующие виды электрических машин:
генераторы постоянного тока (на более старых вагонах)
генераторы переменного тока
Мощность любого генератора составляет примерно:
8-12 киловатт на вагонах без кондиционера
32 киловаттa на вагонах с кондиционером (привод генератора - редуктор от средней части оси колесной пары)
Если скорость движения поезда мала или он не движется, то напряжение на выходе генератора равно нулю. Если поезд движется с высокой скоростью, то напряжения генератора становится выше ЭДС аккумуляторной батареи. При этом ток в аккумуляторной батарее меняет направление и она становится одним из потребителей (накапливает электрическую энергию). Обратный диод предотвращает разряд аккумулятора через обмотку неработающего генератора, когда поезд не движется.
При автономной системе электроснабжения напряжение составляет:
52 В на вагонах без кондиционирования
110 В на вагонах с кондиционированием
Автономная система с генератором переменного тока
Генератор переменного тока подключается к аккумуляторной батарее через трёхфазный выпрямитель. Все потребители рассчитаны на постоянный ток, как и в предыдущей системе.
Смешанная система электроснабжения
При смешанной системе электроснабжения у пассажирского вагона имеются все те источники питания, что и при автономной. Дополнительно к ним имеется подвагонная высоковольтная магистраль, по которой высокое напряжение (3000 вольт) подаётся от электровоза, если поезд следует по электрифицированному участку. 3000 вольт на каждом вагоне используют только для питания комбинированного отопления.
ТЭНы, расположенные в отопительном котле, при подключении к ним напряжения 3000 вольт нагреваются и нагревают теплоноситель (вода, тосол). Теплоноситель циркулирует по отопительным трубам и отапливает вагон. На вагонах со смешанной системой электроснабжения имеется два рабочих напряжения: низкое (52/110 В) высокое (3000 В)
3. Правила проезда пассажиров в дальних и местных поездах
Пассажир при посадке в поезд обязан иметь:
надлежащим образом оформленный проездной документ (билет)
документ, удостоверяющий его личность, реквизиты которого указаны в проездном документе (билете), а при наличии льгот - также и документ, подтверждающий право на льготы.
При несоответствии фамилии пассажира или номера документа, удостоверяющего его личность, фамилии или номеру, указанным в предъявляемом проездном документе (билете), при отсутствии или изменении (исправлении) фамилии или номера документа, удостоверяющего личность, в проездном документе (билете) пассажир к посадке в поезд не допускается. Возврат денег по таким проездным документам (билетам) производится в случаях и в порядке, определяемых правилами перевозок пассажиров, багажа и грузобагажа.
Для проезда в поездах дальнего и местного следования пассажиры имеют право:
приобретать проездные документы (билеты) на любой поезд и в любой вагон до указанной ими железнодорожной станции назначения, открытой для осуществления операций по перевозке пассажиров
провозить с собой бесплатно одного ребенка в возрасте не старше 5 лет, если он не занимает отдельное место, а также детей в возрасте от 5 до 10 лет с оплатой в соответствии с тарифом
делать остановку в пути следования с продлением срока действия проездных документов (билетов) не более чем на 10 суток
продлевать срок действия проездных документов (билетов) в случае болезни в пути следования на время болезни, подтвержденной документами лечебных учреждений, а в случае непредоставления пассажирам мест в поезде - на время до отправления следующего поезда, в котором пассажирам будут предоставлены места
выезжать поездом, отходящим ранее того поезда, на который приобретены проездные документы (билеты), с необходимой отметкой в железнодорожной билетной кассе
возобновить действие проездных документов (билетов) на другой поезд при условии доплаты стоимости плацкарты вследствие опоздания на поезд в течение 3 часов либо вследствие болезни или несчастного случая в течение 3 суток с момента отправления поезда, на который приобретены проездные документы (билеты), а в случае отказа от поездки получить обратно деньги в размере стоимости проезда за вычетом стоимости плацкарты
переоформить проездные документы (билеты) для выезда с первым отходящим поездом, в котором будут свободные места, без взимания дополнительных платежей в случае прибытия поезда, с которым курсирует вагон беспересадочного сообщения, после отправления поезда, согласованного для переприцепки такого вагона. Аналогичный порядок действует и для пассажиров, следующих с пересадкой в пути следования и имеющих проездные документы (билеты), приобретенные в пункте первоначального отправления, на согласованный поезд от железнодорожной станции пересадки продлить срок действия проездных документов (билетов) на поезда дальнего и местного следования при неиспользовании вовремя бесплатных или льготных проездных документов (билетов).
Пассажир, предъявивший в поезде проездной документ (билет), срок действия которого истек или в котором указаны фамилия или номер документа, удостоверяющего личность, не соответствующие фамилии или номеру, указанным в документе, удостоверяющем личность пассажира, считается безбилетным.
При проезде в дальних и местных поездах пассажиры обязаны соблюдать общественный порядок и правила, действующие на железнодорожном транспорте.
Работники железнодорожного транспорта должны быть вежливыми и предупредительными с пассажирами, принимать меры к улучшению их обслуживания.
В этих целях проводники обязаны:
2.1. Выдавать за установленную плату постельные принадлежности и забирать их у пассажира не ранее, чем за 30 минут до прибытия поезда на станцию назначения .
2.2. Обеспечивать хранение проездных документов пассажиров в пути следования и возвращать их не позднее, чем за 30 минут до прибытия поезда на станцию назначения.
2.3. Предупреждать пассажиров не позднее, чем за 30 минут о подходе поезда к станции их назначения или пересадки.
2.4. В вагонах со спальными местами обеспечивать пассажиров чаем за установленную плату не менее трех раз в сутки (с. 8.00 до 10.00, с 15.00 до 17.00, с 20.00 до 22.00 по местному времени).
2.5. Производить своевременную и качественную уборку салонов вагонов, туалетов, мусоросборников.
2.6. Содержать открытыми в вагоне два туалета.
Пассажир имеет право:
3.1. Перейти в пути следования в вагон выше оплачиваемой категории при наличии в нем свободных мест с оплатой разницы в стоимости проезда.
В случае невозможности предоставить пассажиру место в вагоне согласно проездному документу (билету) железная дорога обязана предоставить такому пассажиру при его согласии место в другом вагоне, в том числе в вагоне более высокой категории, без взимания доплаты. Если пассажиру предоставлено с его согласия место, стоимость которого ниже стоимости купленного им проездного документа (билета), пассажиру возвращается разница в стоимости проезда в порядке, определяемом правилами перевозок пассажиров, багажа и грузобагажа.
При проезде в поездах дальнего и местного следования в вагонах с местами для лежания пассажиры по их желанию и за отдельную плату обеспечиваются комплектами постельного белья, кроме поездов (вагонов), где стоимость комплекта постельного белья включена в стоимость проезда.
В пассажирских поездах с вагонами повышенной комфортности пассажирам предоставляется платное сервисное обслуживание, стоимость которого включается в стоимость проезда. При этом пассажирам, имеющим право на бесплатный проезд в вагонах с 2-местными купе (СВ) и в вагонах с 4-местными купе, такое сервисное обслуживание предоставляется при условии внесения соответствующей платы за комплекс сервисных услуг.
3.2. Сделать один раз в пути следования остановку с продлением срока годности проездного документа в одном пункта не более чем на 10 суток с обязательной отметкой об этом на проездном документе у администрации станции (вокзала) .
3.3. Провозить бесплатно одного ребенка в возрасте не старше 5 лет без занятия отдельного места. При следовании с пассажиром более одного ребенка в возрасте до 5 лет или одного ребенка до 5 лет с занятием отдельного места, а также на каждого ребенка от 5 до 10 лет приобретаются детские проездные документы.
3.4. Провозить бесплатно ручную кладь весом до 36 кг на специально отведенных для этого местах. Забота о целости и сохранности ручной клади лежит на обязанности пассажира.
3.5. Преимущественное право занятия рундука имеет пассажир, занимающий нижнюю полку .
3.6. Провозить за установленную плату телевизор или радиоприемник (не более одного на проездной документ) при следовании пассажира в вагоне со спальными местами.
При проезде в вагоне пассажирских поездов запрещается:
4.1. Проезжать без наличия проездных документов на весь путь следования.
4.2. Проезжать на подножках и крышах вагонов, производить посадку и высадку на ходу поезда.
4.3. Провозить ручную кладь, которая может повредить или загрязнить вагон или других пассажиров, а также заряженное огнестрельное оружие, зловонные, огнеопасные, отравляющие, легковоспламеняющиеся, взрывчатые, и другие опасные вещества.
4.4. Находиться в нетрезвом состоянии при посадке и в пути следования, нарушать правила проезда и общественный порядок, распивать спиртные напитки, мешать спокойствию других пассажиров.
Пассажиру, допустившему эти нарушения, отказывается в перевозке с соответствующей отметкой об этом на проездном документе. В этих случаях плата за проезд и перевозку багажа не возвращается.
4.5. Останавливать без надобности поезд стоп-краном.
4.6. Проезжать в тамбуре и на переходных площадках.
4.7. Курить в не установленных местах. Курить при проезде в вагонах разрешается только в тамбуре с некотловой стороны.
4.8. Выбрасывать из окон и дверей вагонов мусор и другие предметы.
4.9. Повреждать внутри вагонное оборудование, постельные принадлежности и стекла вагонов. В случае утери, порчи инвентаря или оборудования с пассажира взыскивается стоимость поврежденного имущества.
Лица, виновные в несоблюдении на железнодорожном транспорте правил проезда, общественного порядка, противопожарной безопасности, привлекаются к административной ответственности:
5.1. За безбилетный проезд пассажиров, а также провоз без проездного документа детей в возрасте от 10 до 16 лет налагается штраф в размере одной десятой минимального размера оплаты труда. Одновременно с этим взыскивается стоимость проезда от места посадки пассажира в поезд до-пункта назначения.
5.2. Провоз без проездного документа детей в возрасте от 5 до 10 лет влечет наложение штрафа в размере одной десятой минимального размера оплаты труда.
5.3. Провоз ручной клади сверх установленных норм влечет наложение штрафа в размере одной десятой минимального размера оплаты труда.
Оплата штрафа не освобождает пассажира от оплаты стоимости провоза излишней ручной клади.
5.4. Нарушение правил провоза огнеопасных, отравляющих, взрывчатых и ядовитых веществ и предметов влечет предупреждение или наложение штрафа в размере одной десятой минимального размера оплаты труда.
5.5. За самовольную без надобности остановку поезда стоп-краном налагается штраф в размере одной десятой минимального размера оплаты труда. При этом, если эти действия повлекли за собой несчастные случаи с людьми, крушение, повреждение подвижного состава или иные тяжелые последствия, виновные привлекаются к уголовной ответственности.
5.6. За посадку и высадку на ходу поезда, проезд на подножках и крышах вагонов налагается штраф в размере одной десятой минимального размера оплаты труда.
5.7. Повреждение внутри вагонного оборудования и стекол пассажирских вагонов влечет наложение штрафа в размере одной десятой минимального размера оплаты труда. Наложение штрафа не освобождает от возмещения стоимости поврежденного оборудования.
5.8. Курение в вагонах в не установленных для этого местах, выбрасывание мусора и иных предметов из окон и дверей вагонов влечет предупреждение или наложение штрафа в размере одной десятой минимального размера оплаты труда.
5.9. Лица, виновные в нарушении общественного порядка на станциях, вокзалах, в поездах, привлекаются к административной ответственности в соответствии с действующим законодательством.
5.10. Штраф налагается на месте должностными лицами железнодорожного транспорта, а также работниками органов милиции.
Книга отзывов и предложений находится у начальника поезда (механика-бригадира) и по требованию пассажира предоставляется ему проводником.
Контроль за соблюдением Правил возлагается на администрацию железнодорожного транспорта.
4. Обеспечение мер безопасности при осмотре (ремонте) вагонов ПТО
кипятильник электронагревательный водоснабжение поезд
1. Требования безопасности при выполнении работ на ПТО
1.1. Осмотр, техническое обслуживание и ремонт вагонов на ПТО следует производить в соответствии с требованиями ГОСТ 12.3.002, типового технологического процесса осмотра, безотцепочного ремонта и экипировки вагонов и технологическими процессами предприятия, учитывающими местные условия.
Осмотр, техническое обслуживание и ремонт вагонов следует производить только после их ограждения.
К месту работы и обратно работники должны следовать только в составе бригады.
1.2. К осмотру, техническому обслуживанию и ремонту вагонов следует приступать только после получения разрешения оператора (диспетчера) ПТО или дежурного по станции (маневрового диспетчера), которое он должен дать по двухсторонней парковой связи после включения системы централизованного ограждения состава или получения информации об ограждении переносными сигналами.
Осмотрщики головной или хвостовой частей состава вагонов по двухсторонней парковой связи или переносной радиосвязи обязаны повторить полученное разрешение, подтвердив этим, что сообщение оператора понято правильно.
1.3. При пользовании двухсторонней парковой связью следует соблюдать регламент переговоров, не допуская излишнего воздействия шума на работников и жителей близлежащих жилых районов.
1.4. На электрифицированных участках работы по осмотру, техническому обслуживанию и ремонту вагонов работникам следует выполнять в соответствии с Правилами электробезопасности для работников железнодорожного транспорта на электрифицированных железных дорогах и инструкцией по охране труда предприятия.
1.5. На электрифицированных участках пути техническое обслуживание крыш вагонов и расположенного на них оборудования допускается производить только после снятия напряжения в контактной сети и установки заземляющих устройств.
1.6. При подходе и прицепке локомотива к вагону, а также при соединении вагонов в состав поезда все работники должны быть удалены на безопасное расстояние из зоны производства маневров.
1.7. Вагоны с крупным объемом ремонта (смена колесной пары, надрессорной балки тележки, ремонт подвагонного оборудования) необходимо подавать на специализированные пути текущего отцепочного ремонта ПТО или депо.
6.1.8. Работникам запрещается производить осмотр и ремонт вагонов в составе поезда или в отдельной группе вагонов, находящихся на огражденных путях при ширине междупутья менее 4800 мм, если по соседнему пути движется поезд или локомотив.
1.9. При отцепочном и безотцепочном ремонте следует проверить надежность закрепления откидных фартуков переходных площадок в поднятом положении у хвостовых и одиночных вагонов.
6.1.10. Осмотр и ремонт высоковольтного и низковольтного электрооборудования вагона следует производить при отключенных цепях и оборудовании, разъединенных низковольтных и высоковольтных межвагонных соединителях, опущенном пантографе электровоза и вагонах, отсоединенных от колонки стационарного пункта электроснабжения.
1.11. При ремонте автосцепного устройства головного вагона поезда (смена автосцепки, деталей механизма сцепления, маятниковых подвесок, центрирующей балочки) локомотив должен находиться на расстоянии не менее 5 м от головного вагона.
Постановка автосцепки на место при помощи соударения вагонов запрещается.
1.12. Замену колесной пары, надрессорной балки, поглощающего аппарата или тягового хомута и других узлов вагона следует производить только на железнодорожных путях текущего отцепочного ремонта (далее - пути текущего отцепочного ремонта).
При отцепочном и безотцепочном ремонте одиночных и концевых вагонов необходимо убедиться в надежности закрепления откидных фартуков переходных площадок в поднятом положении.
1.13. При открытии концевого крана работнику следует удерживать одной рукой соединительный тормозной рукав.
6.1.14. Для осмотра вагонов у высоких платформ должна быть предусмотрена специальная смотровая канава, расположенная вдоль железнодорожного пути. Она должна быть оборудована лестницами, трапами, уложенными на дне канавы. Работы в смотровой канаве следует производить в защитной каске.
1.15. Запрещается производить на открытых площадках осмотр и ремонт кровли, другие работы на крышах вагонов во время грозы, густого тумана, сильного снегопада или ливня, при скорости ветра 12 м/с и выше.
6.1.16. Для осмотра поезда "сходу" (до остановки) должно быть оборудовано специальное рабочее место (островок безопасности), расположенное по оси междупутья.
1.17. Об окончании технического обслуживания и ремонта работник, ответственный за производство работ, должен поставить в известность оператора (диспетчера) ПТО или дежурного по станции (маневрового диспетчера), который объявляет по двухсторонней парковой связи о снятии ограждения.
1.18. К работе на крыше следует приступать только при отсутствии на ней снега, льда и воды.
Запрещается пользоваться мокрой, обледенелой, свежевыкрашенной лестницей.
1.19. Специальные установки, воздухоразборные колонки для опробования автотормозов и других целей должны быть оборудованы соединительными головками.
При опробовании автотормозов запрещается производить работы по ремонту ходовых частей, автотормозного оборудования вагонов.
1.20. Отцепку поездного локомотива от состава поезда следует выполнять только после разъединения высоковольтных междувагонных электрических соединителей.
1.21. При техническом обслуживании и текущем отцепочном ремонте вагонов на ПТО необходимо соблюдать требования безопасности при подъеме и опускании вагонов, ремонте ходовых частей, рамы, кузова, автосцепных устройств и тормозного оборудования, установленные настоящими Правилами.
Похожие рефераты:
Договор перевозки морским транспортом
Организация железнодорожных пассажирских перевозок
Права и обязанности проводника в вагонах дальнего следования перевозки пассажиров
Разработка ресурсосберегающих технологий и режимов на городском электрическом транспорте
Билеты и ответы по туризму и экскурсиям
Транспортное обслуживание туристов
Организация погрузочно-разгрузочных работ в порту
Договор перевозки пассажиров и багажа железнодорожным транспортом
Технология обработки поездов в парке приема
Договор перевозки пассажиров и грузов железнодорожным транспортом
Договор перевозки пассажиров и багажа железнодорожным транспортом
Организация работы железной дороги
Особенности перевозки пассажиров и их багажа железнодорожным транспортом