| Похожие рефераты | Скачать .zip |
Реферат: Магнетронные распылительные системы
2 Принцип действия и рабочие параметры МРС
Магнетронные распылительные системы получили свое название от СВЧ приборов М-типа (магнетронных устройств), хотя, кроме наличия скрещенных электрического и магнитного полей ничего общего с ними не имеют. Магнетронные системы относятся к системам распыления диодного типа, в которых распыление материала происходит за счет бомбардировки поверхности мишени ионами рабочего газа, образующимся в газе аномально тлеющего разряда. Высокая скорость распыления, характерная для этих систем, достигается увеличением плотности ионного тока за счет локализации плазмы у распыляемой поверхности мишени с помощью сильного поперечного магнитного поля [1, 3].
Принцип действия магнетронной распылительной системы показан на рисунке 1.1. Основными элементами устройства являются катод-мишень, анод и магнитная система. Силовые линии магнитного поля замыкаются между полюсами магнитной системы. Поверхность мишени, расположенная между местами входа и выхода силовых линий магнитного поля, интенсивно распыляется и имеет вид замкнутой дорожки, геометрия которой определяется формой полюсов магнитной системы.
При подаче постоянного напряжения между мишенью (отрицательный потенциал) и анодом (положительный или отрицательный потенциал) возникает неоднородное электрическое поле и возбуждает аномальный тлеющий разряд. Наличие замкнутого магнитного поля у распыляемой поверхности мишени позволяет локализовать плазму разряда непосредственно у мишени. Эмитированные с катода под действием ионной бомбардировки электроны захватываются магнитным полем, им сообщается сложное циклоидальное движение по замкнутым траекториям у поверхности мишени. Электроны оказываются как бы в ловушке, создаваемой с одной стороны магнитным полем, возвращаемым электроны на катод, а с другой стороны – поверхностью мишени, отталкивающей электроны. Электроны циклируют в этой ловушке до тех пор, пока не произойдет несколько ионизирующих стол-

Рисунок 2.1 – Схема магнетронной распылительной системы с плоской мишенью: 1 – магнитная система; 2 – катод-мишень; 3 – силовая линия магнитного поля; 4 – зона наибольшей эрозии поверхности катода; 5 – траектория движения электрона
кновений с атомами рабочего газа, в результате которых электрон потеряет полученную от электрического поля энергию. Таким образом, большая часть энергии электрона, прежде чем он попадет на анод, используется на ионизацию и возбуждение, что значительно увеличивает эффективность процесса ионизации и приводит к возрастанию концентрации положительных ионов у поверхности катода. Что в свою очередь обусловливает увеличение интенсивности ионной бомбардировки поверхности мишени и значительный рост скорости распыления, а следовательно, и скорости осаждения пленки. Средние скорости осаждения различных материалов с помощью магнетронной распылительной системы, имеющей плоскую дисковую мишень диаметром 150 мм, при мощности источника 4 кВт и расположении подложки на расстоянии 60 мм от источника приведены в таблице 2.1.
Таблица 2.1 – Скорости осаждения различных материалов [3]
| Материал |
Si |
Ti | Ta | W | Nb | Mo | Al | Cr | Pt | Cu | Au | Ag |
| Ск.осажд., нм/с | 7 | 8 | 8 | 8 | 8,5 | 12 | 13 | 17 | 21 | 30 | 37 | 44 |
Следует отметить, что плазма разряда существует только в области магнитной ловушки в непосредственной близости от мишени и ее форма определяется геометрией и величиной магнитного поля.
Одним из преимуществ магнетронных распылительных систем является также то обстоятельство, что захват вторичных электронов магнитной ловушкой у поверхности мишени препятствует интенсивному перегреву подложки. Что в свою очередь позволяет увеличить скорость распыления материалов, а следовательно, и их осаждения. Источниками нагрева подложки в этих системах служат энергия конденсации распыленных атомов, кинетическая энергия осаждаемых атомов, энергия отраженных от мишени нейтрализованных ионов, а также излучение плазмы. Энергия конденсации составляет 3 – 9 эВ/атом, кинетическая энергия в зависимости от распыляемого материала – от 5 (для алюминия) до 20 эВ/атом (для вольфрама), а излучение плазмы 2 – 10 эВ/атом. Суммарная тепловая энергия, рассеиваемая на подложке, и температура подложки для различных материалов, осаждаемых в цилиндрической МРС, приведены в таблице 2.2.
Таблица 2.2 – Значения тепловой энергии и температуры подложки для различных материалов [2]
| Материал | Al | Cu | Ta | Cr | Au | Mo | W |
|
Тепловая энергия, эВ/атом |
13 | 17 | 20 | 20 | 23 | 47 | 73 |
|
Темп. подл., С |
79 | 110 | 97 | 118 | 106 | 163 | 202 |
Во многих случаях нагрев подложки в магнетронных системах сравним, а при испарении тугоплавких материалов даже ниже, чем при методе термического испарения. Это дает возможность использовать магнетронные распылительные системы для нанесения пленок на подложки из материала с низкой термостойкостью.
Основные рабочие характеристики магнетронных распылительных систем – напряжение на электродах, ток разряда, плотность тока на мишени и удельная мощность, величина индукции магнитного поля и рабочее давление. От величины и стабильности перечисленных параметров, которые взаимно связаны между собой, зависят стабильность разряда и воспроизводимость процесса нанесения тонких пленок. Магнетронные системы относятся к низковольтным системам распыления. Напряжение питания не превышает 1000 В постоянного тока. Рабочее напряжение составляет 200 – 700 В, на мишень обычно подается отрицательный потенциал, а на анод – нулевой потенциал. Однако в магнетронных системах с плоским катодом для более полного улавливания вторичных электронов рекомендуется на анод подавать небольшое положительное смещение (40 – 50 В) [4]. В некоторых системах предусматривается подача отрицательного смещения на подложку (100 В) для реализации распыления со смещением [16].
Ток разряда зависит от многих факторов, например от рабочего напряжения, давления и рабочего газа, индукции магнитного поля, конфигурации магнетронной системы, распыляемого материала, и определяется мощностью источника питания. Плотность тока на мишень очень велика и для системы с полым цилиндрическим катодом составляет в среднем 80 мА/см2, с коническим катодом – 160 мА/см2, а с плоским катодом – 200 мА/см2, причем максимальные плотности тока в центральной части распыления могут быть значительно выше. Значения удельной мощности в магнетронных системах с полым цилиндрическим катодом достигают 40 Вт/см2, а с плоским катодом – 100 Вт/см2. Предельная допустимая мощность определяется условиями охлаждения мишени теплопроводностью распыляемого материала .
Магнетронная распылительная система может работать в диапазоне давлений от 10-2 до 1 Па и выше. Важнейшими параметрами, во многом определяющими характер разряда в ней, являются геометрия и величина магнитного поля, индукция которого у поверхности мишени 0,03 – 0,1 Тл.
Одной из основных характеристик разряда является Вольтамперная характеристика (ВАХ). Существенное влияние на нее оказывают рабочее давление (p) и индукция магнитного поля (B) [3, 6, 10].

Рисунок 2.2 – Вольтамперные характеристики магнетронных систем распыления: а) с алюминиевой мишенью размером 4060 см при постоянном магнитном поле 0,03 Тл и различном давлении аргона; б) с алюминиевой мишенью диаметром 160 мм при постоянном давлении аргона 0,3 Па и различной индукции магнитного поля[3]
С уменьшением p ВАХ сдвигаются в область больших рабочих давлений и приближаются к линейной зависимости (смотри рисунок 2.2а). Аналогичным образом влияет и индукция магнитного поля (смотри рисунок 2.2б). Близкие к линейной зависимости наблюдаются при больших значениях В. На ВАХ разряда влияют также материал мишени (смотри рисунок 2.3а) и ее форма, которая изменяется по мере распыления материала. Образование выемки в плоской мишени приводит к сдвигу ВАХ в область меньших рабочих напряжений из-за улучшения условий локализации плазмы, причем этот сдвиг растет с увеличением p (смотри рисунок 2.3б). В этом случае определяющим является не только геометрический фактор, но и переход зоны разряда в область более сильного магнитного поля по мере распыления мишени.

Рисунок 2.3 – Вольтамперные характеристики магнетронной системы распыления: а) с плоской мишенью из различных металлов при постоянном давлении 0,5 Па и индукции магнитного поля 0,08 Тл; б) с конической новой (сплошные линии) и эродированной (штриховые линии) мишенями при индукции магнитного поля 0,06 Тл и различном давлении

Рисунок 2.4 – Зависимости скорости осаждения различных материалов от мощности разряда (а) и мощности разряда от рабочего давления при различной индукции магнитного поля (б)
Важным параметром разряда, определяющим скорость распыления, является электрическая мощность, причем скорость осаждения пленки почти линейно зависит от приложенной мощности. (смотри рисунок 2.4а) [3]. В свою очередь мощность разряда при постоянной мощности источника зависит от p и В. В достаточно слабых магнитных полях существует такое значение p, при котором на разряде выделяется максимальная мощность (смотри рисунок 2.4б). С ростом В ( до 0.04 Тл) при низких значениях p мощность разряда сначала резко возрастает, затем замедляется и при В=0,080,1 Тл становится максимальной. При достаточно высоком p максимальная мощность достигается уже при В=0, 040,06 Тл (смотри рисунок 2.5а).

Рисунок 2.5 – Зависимости мощности разряда от индукции магнитного поля при различном давлении аргона (а); и напряжения зажигания от давления при постоянной индукции магнитного поля 0,06 Тл (кривая 1) и индукции магнитного поля при постоянном давлении (кривая 2) (б)
Напряжение зажигания в магнетронной системе значительно ниже, чем в обычных диодных системах. Это объясняется тем, что еще до наложения электрического поля электроны, всегда присутствующие в рабочей камере и обеспечивающие первые акты ионизации в развитии лавинного пробоя газового промежутка , захватываются магнитной ловушкой, вследствие чего их концентрация в этой области оказывается выше, чем в объеме камеры, что и способствует возникновению разряда при более низких напряжениях. Исследования [3, 6, 12] показали, что зависимости напряжения зажигания от давления рабочего газа и индукций магнитного поля аналогичны (смотри рисунок 2.5б). Сходство приведенных зависимостей указывает на тот факт, что магнитное поле и рабочее давление оказывают одинаковое влияние на возникновение и развитие разряда в МРС. Как видно из приведенных выше зависимостей, эффективность работы магнетронной распылительной системы зависит от правильного выбора рабочих параметров, а стабильность этих параметров определяет постоянство скорости осаждения пленки и воспроизводимость свойств получаемых пленок. Необходимая скорость осаждения пленки в магнетронной системе с достаточной точностью можно поддерживаться за счет постоянства таких параметров процесса, как ток разряда или подводимая мощность. Эти функции может выполнять источник питания, благодаря чему управление конечной толщиной пленки достигается, если задается время осаждения. Однако можно управлять ростом пленки с помощью прямых методов контроля, например с помощью кварцевого датчика, поскольку плазма в магнетронной системе локализована и не воздействует на датчик. [1]. Как показывает практика, для обеспечения воспроизводимости и стабильности процесса напыления пленки ток разряда необходимо поддерживать с точностью 2%, а при стабилизации процесса по мощности разряда точность ее поддержания составляет 20 Вт в диапазоне регулирования от 0 до 10 кВт. При этом рабочее давление должно быть постоянным (отклонение не должно превышать 5%).
3 Конструкции магнетронных распылительных систем
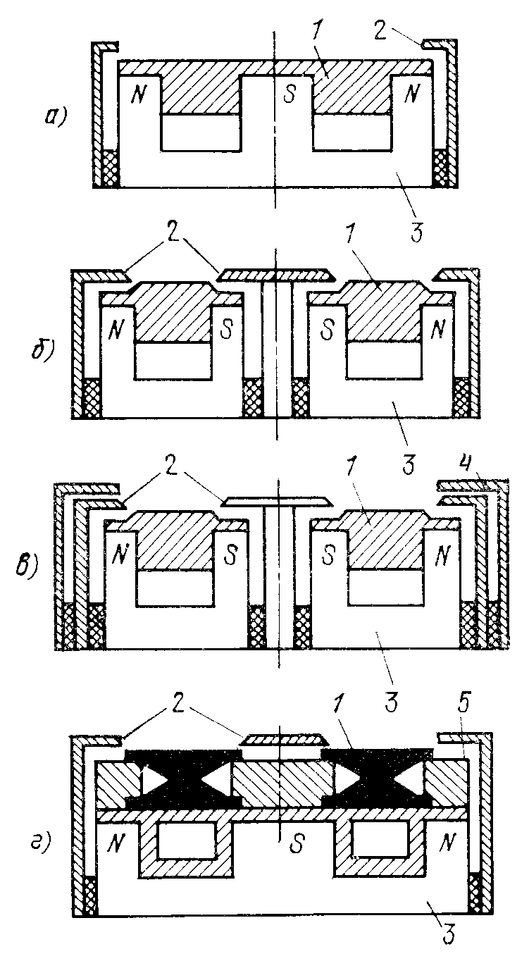
Конструкции современных магнетронных распылительных систем весьма разнообразны. Прообразом их является устройство, изображенное на рисунке 3.1 а и описанное в [3]. Катод представляет собой цилиндрический стержень, расположенный в центре камеры, а подложки располагаются по цилиндрической поверхности анода вокруг катода. Коаксиальные конструкции электродов, имея в основном аналогичные с планарными конструкциями рабочие характеристики, позволяют значительно увеличить (в 3 – 5 раз) производительность за счет увеличения площади одновременно обрабатываемых подложек. Кроме того, в этих системах на порядок меньше интенсивность бомбардировки подложек вторичными электронами., что достигается наличием аксиального магнитного поля и заземленных экранов по торцам цилиндрического катода. Еще более снижает бомбардировку подложек вторичными электронами наличие между катодом и держателем подложек цилиндрического сетчатого анода. При длительной работе температура подложек в такой системе не превышает 320 К. Но в то же время из-за сетчатого анода (улавливающего электрода) уменьшается скорость осаждения пленки.
Усовершенствование коаксиальных систем в целях увеличения скорости осаждения привело к созданию катода в виде катода с дисками по торцам (смотри рисунок 3.1, б). Такая конструкция позволяет значительно увеличить интенсивность разряда благодаря осцилляции электронов вдоль поверхности катода между его торцевыми дисками, достичь плотностей тока 300 А/м2 и скоростей осаждения до 17 нм/с. Однако существенным недостатком этой системы является низкая равномерность распределения пленки по толщине, связанная с неравномерным распылением мишени: более сильным в центральной части и слабым у торцевых дисков, что обусловливается неравномерным распределением плотности ионного тока вдоль поверхности мишени. Исследования характеристик такой системы и их зависимости от геометрии катода приведены в [3].
Наиболее эффективными магнетронными системами коаксиального типа являются конструкции, приведенные на рисунке 3.1 в, г. Катод из распыляемого материала выполняется в виде трубы (при этом распыляется внешняя поверхность катода, смотри рисунок 3.1 в), либо вокруг нее (распылению подвергается внутренняя поверхность катода, смотри рисунок 3.1 г). Плазма локализуется у распыляемой поверхности с помощью кольцевого арочного магнитного поля.

Рисунок 3.1 – Конструктивные схемы магнетронных систем распыления:
1– катод-мишень; 2 – анод; 3 – подложкодержатель; 4 – магнитная система; 5 – экран; 6 – зона распыления. (Стрелками показано напраление силовых линий магнитного поля.)
Подложки располагаются вокруг катода (при внешнем распылении) или внутри вдоль его оси (при внутреннем распылении), причем в последнем случае достигается более высокий коэффициент использования материала мишени. Для приведенных систем характерны плотности тока 600 А/см2 и достаточно высокая равномерность наносимых покрытий [1, 3].
На рисунке 3.1 д показана магнетронная система, состоящая из полусферического вогнутого катода, дискового подложкодержателя под ним, кольцевого анода, а также двух электромагнитных катушек, создающих квадрупольное магнитное поле в области разряда. При зажигании разряда перед катодом образуется кольцеобразная область, в которой магнитное и электрическое поля пересекаются под прямым углом. В этой области наиболее высокая степень ионизации атомов рабочего газа, вследствие чего катод на кольцевом участке между экватором и полюсом интенсивно распыляется. Таким образом, описанная МРС имитирует кольцевой источник распыляемого материала. При использовании медного катода параметры разряда критичны к колебаниям давления, величине и геометрии магнитного поля и меняются и меняются при увеличении температуры катода во время распыления [3]. Поэтому, не смотря на хорошую адгезию медных пленок к стеклянным подложкам, большую скорость осаждения (до 17 нм/с) и довольно высокую равномерность распределения пленки по толщине (96 – 97 %), применение этой МРС ограничено из-за невысокой стабильности и воспроизводимости параметров разряда, а также сложности выполнения полусферического катода.
На рисунке 3.1, е приведена конструкция с цилиндрическим полым катодом [3]. Магнетронная система распыления выполнена в виде автономного источника распыляемого материала, который может быть пристыкован к любой вакуумной камере, причем в вакууме находятся только катодный и анодный блоки, а вся остальная часть источника, в том числе и магнитная система, располагается вне камеры. Исследования показали, что данная конструкция системы имеет ряд недостатков: значительная часть распыляемого материала перераспределяется внутри источника и не попадает на подложки; высокая неравномерность распределения конденстанта по толщине не позволяет осаждать пленки на большие площади без использования планетарных механизмов вращения подложек; недостаточна эффективна магнитная система, которая не обеспечивает в полной мере защиту подложек от бомбардировки заряженными частицами.
Магнетронная система с коническим катодом обеспечивает более полное использование распыляемого материала (смотри рисунок 3.1, ж ). Кроме того, магнитная система дает возможность сконцентрировать магнитное поле у распыляемой поверхности мишени, что позволяет вдвое увеличить плотность тока на катоде и достигнуть более высоких скоростей осаждения. Однако размещение магнитной системы внутри вакуумной камеры вносит дополнительные загрязнения в рабочий объем установки. Хотя в системе с коническим катодом достигается более равномерное нанесение пленок, для увеличения площади одновременно обрабатываемых подложек с высокой равномерностью распределения конденсата по толщине также необходимо использовать планетарные внутрикамерные устройства.
Дальнейшее развитие магнетронных распылителей привело к созданию планетарных систем (сотри рисунок 3.1, з), в которых эффект экранирования потока распыленных атомов полностью устранен. Магнитная система монтируется в водоохлаждаемом держателе и не вносит загрязнений в рабочую камеру. Планетарные магнетронные системы позволяют создать еще более высокие плотности тока и достичь скоростей осаждения, сравнимых со скоростями, характерных для метода термического испарения в высоком вакууме. В то же время недостатком такой системы является то, что распылению подвергается узкая кольцеобразная область мишени и коэффициент использования составляет 26% объема мишени.
В настоящее время известно множество конструктивных вариантов магнетронных распылительных систем [1, 2, 3], но наибольшее распространение в промышленности получили системы с мишенями конической и плоской форм. Конструкции магнетронных систем должны обеспечивать высокую скорость распыления, минимальное отрицательное воздействие на обрабатываемые структуры, высокий коэффициент использования материала мишени, возможность распыления разнообразных материалов, нанесение пленочных покрытий на большие площади с минимальной неравномерностью по толщине, высокую надежность работы, большой срок службы и другие. Большинство из этих требований удовлетворяется правильным выбором конструкции магнетронной и формы мишени.
Магнитная система, являющаяся одним из конструктивных элементов магнетронной системы, должна формировать у поверхности мишени поле заданной конфигурации и величины с минимальным рассеянием для создания эффективной магнитной ловушки для электронов. Исследования по макетированию магнитных полей позволили выявить наиболее целесообразные варианты конструкции магнитной системы с точки зрения простоты и возможности получения магнитного поля требуемой геометрии и величины.
Магнитная система, изображенная на рисунке 3.2, а, является достаточно простой и обеспечивает эффективную локализацию плазмы. В этой конструкции можно использовать наборные магнитные блоки, перекрывая их сверху общим полюсным наконечником. Более эффективно сконцентрировать поле в рабочем зазоре с минимальными потерями позволяет магнитная система, приведенная на рисунке 3.2, б. Однако она представляет собой магнит специфической формы и требует специального изготовления. Аналогичный эффект достигается при использовании магнитов подковообразной формы (рисунок 3.2, в). Магнитную систему можно сделать более компактной, если использовать кольцевые магниты с радиальным намагничиванием (рисунок 3.2, г), но изготовление таких магнитов достаточно сложно. Кроме того, приведенная конструкция характеризуется значительным рассеянием магнитного поля снизу катодного блока. Форму магнитного поля можно изменять, используя полюсные наконечники определенной геометрии. Для создания в прикатодной области сильного магнитного поля, силовые линии которого почти параллельны распыляемой поверхности (что необходимо для более равномерного распыления поверхности мишени), можно использовать магнитную систему, показанную на рисунке 3.2, д. Однако в такой конструкции при сильно развитых наконечниках индукция магнитного поля резко уменьшается с увеличением расстояния от мишени, поэтому эффективное

Рисунок 3.2 – Конструкции магнитных систем магнетронных распылителей
распыление достигается только для достаточно тонких мишеней. В случае толстых мишеней не следует сильно увеличивать площадь полюсных наконечников. Максимальная степень локализации плазмы характеризует магнитную систему, изображенную на рисунке 3.2, е. Несмотря на некоторую сложность изготовления, она является одной из самых эффективных. Для магнетронных распылительных систем с конической мишенью обычно используется магнитная система, приведенная на рисунке 3.2, ж. Она хотя и недостаточно эффективна, поскольку поле рассеивается по периметру системы, но проста в изготовлении. На рисунке 3.2, з показана аналогичная система с использованием радиальных магнитов. Наибольшая эффективность достигается в системе, в которой рассеяние поля отсутствует (смотри рисунок 3.2, и), однако она требует изготовления магнита специальной формы.
Форма мишени обусловливается видом распыляемого материала и геометрией магнитной системы. Мишень должна обеспечивать высокий коэффициент использования ее материала (что особенно важно, поскольку распыление мишени не равномерно, стоимость мишени высока), хороший электрический и тепловой контакты с водоохлаждаемым держателем, удобство замены, минимальное экранирование магнитного поля. На рисунке 3.3 показаны некоторые конструктивные варианты конических мишеней. Обычная коническая мишень (смотри рисунок 3.3, а) проста в изготовлении, ее форма удобна для нанесения на нее слоя толщиной до 2,5 мм при исследовании процесса распыления дорогостоящих материалов, она равномерно прогревается, что исключает расплавление поверхности при распылении легкоплавких материалов. Однако рабочее давление при такой мишени достаточно высокое (1 Па), а главное, по мере ее распыления сильно меняются

Рисунок 3.3 – Формы конических мишеней (а - г) и плоских мишеней (д - з)
электрические характеристики разряда, что не обеспечивает воспроизводимости параметров процесса осаждения пленки. При использовании мишени, показанной на рисунке 3.3, б, эти недостатки устраняются. Однако, образующаяся по мере распыления глубокая и достаточно узкая выемка, уменьшает срок службы мишени и коэффициент полезного использования распыляемого материала. Мишень на рисунке 3.3, в наиболее пригодна для промышленного применения и обеспечивает максимальное использование распыляемого материала, причем за весь срок службы мишени характеристики процесса остаются неизменными, что позволяет его полностью автоматизировать. Правда, эта мишень сложна в изготовлении. На рисунке 3.3, г показана мишень для распыления магнитных материалов. Боковая стенка мишени тонкая (до 1,5 мм), и магнитное поле проникает через нее, окружая нижнюю распыляемую часть мишени, толщина которой во избежание экранирования не должна превышать 5 мм. Такую мишень можно сделать составной из тонкостенного кольца и диска. Рабочее давление 0,5 Па, напряжение 500 В, ток 8 А.
Следует отметить, что конические мишени не требуют специального крепления, поскольку они самоуплотняются в водоохлаждаемом держателе вследствие их расширения при нагревании, обеспечивая в дальнейшем надежный тепловой и электрический контакты, что особенно важно при распылении легкоплавких материалов. При разработке магнетронных систем с плоскими мишенями наиболее остро встает проблема их охлаждения. Значительные плотности тока на распыляемой поверхности приводят к неравномерному разогреву мишени, что приводит к ее короблению, а в местах плохого контакта с держателем – к ее расплавлению. При этом традиционный метод крепления винтами не эффективен. Больший эффект дает приклеивание мишени к держателю с помощью специальных поводящих клеев, однако наличие локальных областей перегрева при недостаточном охлаждении может вызвать сильное газовыделение и разрушение клеевого слоя. Надежным и эффективным способом крепления мишеней является пайка с помощью припоев на основе олова, индия или их сплавов. В то же время крепление мишеней с помощью клеев и припоев затрудняет замену мишеней, а сами клеи и припои могут влиять на состав газовой среды вакуумного рабочего объема. Поэтому чаще предпочтение отдается тем формам мишени, которые обеспечивают надежный тепловой контакт с водоохлаждаемым держателем и легко снимаются.
В последнее время эта проблема решена и для плоских мишеней, конструктивные варианты которых приведены на рисунках 3.3 д - з. В отличие от традиционной плоской формы (рисунок 3.3, д), мишень выполняется с утолщением в области зоны эрозии (рисунок 3.3, е) а в держателе делается канавка аналогичной формы. Такая мишень в процессе распыления обеспечивает хороший тепловой контакт за счет ее термического расширения. Помимо хорошего охлаждения при этом достигается и более высокий коэффициент использования распыляемого материала по сравнению с равнотолщинной мишенью. Еще выше этот эффект для мишеней, показанных на рисунках 3.3, ж и з (до 70% и 90% соответственно).
Типичные конструкции магнетронных распылительных систем с плоскими мишенями приведены на рисунке 3.4. В простейшем случае (рисунок 3.4, а) система включает в себя магнитный блок, вмонтированный в водоохлаждаемый корпус, являющийся одновременно и держателем мишени. Вокруг корпуса располагается анод в виде цилиндра или медной трубки с проточной водой, установленный по периметру мишени вблизи ее. Анод обычно заземляется. Для более полного устранения бомбардировки подложек вторичными электронами катодный блок окружается заземленным экраном, а по периметру мишени и в центре устанавливаются изолированные аноды, имеющие небольшой (50 В) положительный потенциал относительно земли. Аноды перекрывают места входа и выхода силовых линий магнитного поля и улавливают рассеиваемые вдоль силовых линий вторичные электроны, оставляя открытой только ту область мишени, где силовые линии параллельны распыляемой поверхности и скорость распыления максимальна (рисунок 3.4, б). Экранирование слабо распыляемых участков мишени улучшает свойства получаемых пленок [1, 3, 4]. При изготовлении чувствительных к радиационным воздействиям приборов целесообразно дополнительно улавливать летящие в сторону подложки ионы, которые, например, могут образоваться в результате ионизации распыленных атомов мишени. В этом

Рисунок 3.4 – Конструкции магнетронных распылительных систем с плоскими мишенями: 1 – мишень; 2 – анод; 3 – магнитная система; 4 – дополнительный электрод; 5 – полюсные наконечники
случае над поверхностью положительного анода устанавливается дополнительный отрицательный электрод (рис. 3.4, в). На рисунке 3.4, г представлена конструкция магнетронной распылительной системы, использующей мишень специальной формы — четыре составные части из стержней с заданным профилем сечения, расположенных вдоль прямоугольной зоны распыления. Каждая часть крепится к центру и по периметру брусками из магнитного материала, которые являются в данном случае полюсными наконечниками, выводящими силовые линии магнитного поля от полюсов магнитной системы на поверхность мишени. Это позволяет распылять достаточно толстые мишени [3, 4]. После распыления половины материала мишени она переворачивается и производится распыление остальной части, что обеспечивает повышение коэффициента использования материала мишени до 90%.
Типичная конструкция магнетронной распылительной системы с конической мишенью показана на рисунке 3.5, а. Магнитная система с держателем и мишенью помещается в заземленный корпус, который играет роль дополнительного анода. Основной анод располагается в центре, и на него может быть подано положительное смещение. Недостатком такой магнетронной системы является сложность изготовления магнитной системы, обеспечивающей фокусировку силовых линий магнитного поля между полюсными наконечниками. Обычно наблюдаются искажение и рассеяние силовых линий у верхнего внешнего полюсного наконечника, что затрудняет локализацию плазмы в центральной наиболее толстой части мишени.

Рисунок 3.5 – Конструкции магнетронных распылительных систем с конической мишенью: 1 – мишень; 2 – анод; 3 – магнитная систенма; 4 – водоохлаждаемый держатель; 5 – экран; 6 – дополнительный магнит
Положительного результата можно достигнуть, используя дополнительную магнитную систему, расположенную над верхним полюсным наконечником непосредственно под дополнительным анодом (рисунок 3.5, б).
Для магнитной системы могут быть использованы электромагниты, однако это влечет за собой увеличение габаритов, необходимость стабилизированного электропитания постоянным током и электрической изоляции в условиях интенсивного водяного охлаждения. Поэтому в промышленных условиях целесообразно применять постоянные магниты, а электромагниты — при экспериментальных исследованиях для выбора оптимальной величины магнитного поля применительно к конкретным условиям и конструкции магнетронной распылительной системы.

Рисунок 3.6 – Конструкции магнетронных распылительных систем с переменным магнитным полем
С коэффициентом использования распыляемого материала тесно связана проблема равномерности распыления мишени. Выше были показаны пути повышения коэффициента использования распыляемого материала выбором мишени определенной геометрии. Однако существует еще один путь — применение сканирующего магнитного поля. Существуют два способа перемещения магнитного поля по поверхности мишени: электромагнитный и механический. В первом случае вокруг мишени устанавливают электромагнит, который создает дополнительное переменное магнитное поле, перпендикулярное поверхности мишени (рисунок 3.6, а). При неподвижном постоянном поле арочной конфигурации профиль зоны распыления имеет вид, показанный на рисунке 3.6, б. Использование дополнительного переменного поля производит деформацию основного поля: вершина арки начинает смещаться от средней линии, в результате чего происходит симметричное смещение зоны максимальной эрозии, и профиль распыления становится почти прямоугольным (рисунок 3.6, в). Равномерность распыления мишени можно значительно увеличить, используя многоячеистую электромагнитную систему, питающуюся от сети переменного тока (рисунок 3.6, г).
Форма и размеры магнетронных систем могут быть самыми разнообразными. Имеются сведения о конструкциях с мишенями длинной 2 м и шириной до 20 см [14]. При использовании мишеней большой площади с целью более равномерного их распыления создается несколько зон распыления. Например, известны системы с дисковыми мишенями диаметром более 60 см, в которых создавалось до шести зон распыления в виде концентрических колец, при этом коэффициент использования материал мишени достигал 80%. Для повышения производительности в установках непрерывного действия можно применять прямоугольные магнетронные системы с несколькими зонами распыления, каждая из которых будет представлять собой линейные источники распыляемого материала, поперек которых перемещается подложка. Естественно, что увеличение распыляемой площади требует приложения больших мощностей, и на упомянутую выше мишень размером 20020 см, используемую при производстве зеркал и в автомобильной промышленности, нужно подавать мощность до 100 кВт.
4 Заключение
В данной работе представлен обзор основных конструкций магнетронных систем распыления, некоторых конструктивных элементов (мишеней, магнитных систем и другое), описаны основные параметры установок и приведены типичные характеристики магнетронов. Так же рассмотрены сравнительные характеристики различных конструкций магнетронных систем распыления, их достоинства и недостатки. На примере планарной конструкции магнетронной системы показаны типичные характеристики разряда: вольтамперные характеристики, зависимости мощности разряда и влияние на них магнитного поля и давления рабочего газа. Представлены характеристики материалов мишеней. Кроме того, описывается принцип работы магнетрона, поведение заряженных частиц в плазме разряда, а так же распределение магнитных и электрических полей.
В заключение отметим, что потенциальные возможности применения магнетронных распылительных систем в настоящее время еще далеко не полностью выяснены и реализованы. Но уже сейчас применение магнетронных установок весьма широко. Они заняли прочные позиции в технологиях изготовления полупроводниковых приборов и интегральных микросхем. В частности, применяются для формирования контактов к различным полупроводниковым и пассивным элементам схем. Это изготовление резистивных пленок гибридных микросхем, магнитных пленок, низкоомных контактов и многое другое.
Кроме того, они широко используются в промышленных установках для нанесения тонкопленочных покрытий. Это – всевозможные фильтрующие, отражающие, защитные и теплосберегающие оптические покрытия на стеклах.
Магнетронные системы нашли широкое применение в вопросах плазмохимической обработки, травления и получения материалов.
Несмотря на всю широту использования магнетронных систем распыления, нельзя утверждать то, что к настоящему моменту они являются достаточно хорошо изученными. Все большее практическое применение МРС значительно опередило разработку теории и методику их расчета.
5 Conclusion
The paper presents review of basic magnetron sputtering system constructions, some construction elements (targets, magnetic systems and so on), key parameters and typical magnetron characteristics are described as well. Besides, the dependences of the working space parameters on the magnetron discharge plasma are presented. Moreover, comparative characteristics of the different magnetron sputtering systems constructions and their advantages and limitations are described. For example, the critical discharge characteristics of the planar magnetron are given, such as volt-ampere and the power discharge characteristics and influence on those ones the magnetic field and process gas pressure values. The study also presents characteristics of material, the targets made. Then, there are described the magnetron operations, behavior of the species in discharge plasma, magnetic and electric fields distributions.
In conclusion it is necessary to point out, that potential possibilities of the magnetron sputtering system applications have not been studied quite sufficiently. But by now the magnetron sputtering system usage is already prevailing. Those ones are widely used in the manufacturing of semi-conductor devices and integrated circuits. In particular, those systems are engaged for the interconnection formatting to the semi-conductor and passive elements of the circuits, the hybrid microcircuit resistive films producing, magnetic films, low-resistance contacts and so on.
Moreover the magnetron sputtering systems are widely used in commercial plants for thin film deposition, namely for various color filtering, reflective, protective and low-emission optical glass coatings.
Magnetron systems have found their application for solving the problems regarding to the plasmochemistry processing, etching and producing the materials.
Though magnetron system is widely used, at present, one cannot say that, they are studied sufficiently. The wide propagation of the magnetron sputtering system passed ahead of theoretical background of the problem.
Список использованных источников
1 Francis F. Chen. Industrial applications of low – temperatures plasma physics. Phys. Plasmas vol. 2, n. 6, June 1995, pp. 2164 – 2175.
2 N. Singh, R. Kist, H. Thiemann. Experimental and numerical studies on potential distributions in a plasma. Pl. Phys., vol. 22, 1980, pp. 695 – 707.
3 Плазменные ускорители/Под общей редакцией Л. А Арцимовича. – М.: Машиностроение, 1973.
4 Данилин Б. С., Неволин В. К., Сырчин В. К. Исследование магнетронных систем ионного распыления материалов. – Электронная техника. Сер. Микроэлектронника, 1977, вып. 3 (69), с. 37 – 44.
5 Данилин Б. С., Сырчин В. К. Магнетронные распылительные системы. – М.: Радио и связь, 1982.
6 L. Vriens. Energy balance in low – pressure gas discharges. J. Appl. Phys. vol. 44, n. 9, September 1973, pp. 3980 – 3989.
7 J. –P. Boeuf. A two – dimensional model of dc glow discharges. J. Appl. Phys. vol. 63, n. 5, March 1998, pp. 1342 – 1349.
8 S. Maniv. Generalization of the model for I – V characteristics of dc sputtering discharges. J. Appl. Phys. vol. 59, n. 1, January 1986, pp. 66 – 70.
9 W. D. Westwood, S. Maniv. The current – voltage characteristic of magnetron sputtering systems. J. Appl. Phys. vol. 54, n. 12, December 1983, pp. 6841 – 6846.
10 F. A. S. Ligthart, R. A. J. Keijser. Two – electron group model and electron energy balance in low - pressure gas discharges. J. Appl. Phys. vol. 51, n. 10, October 1980, pp. 5295 – 5299.
11 A. Fiala, L. C. Pitchford, J. P. Boeuf. Two – dimensional, hybrid model of low – pressure glow discharges. Phys. Review. ser. E, vol. 49, n. 6, June 1994, pp. 5607 – 5622.
12 K. Kuwahara, H. Fujiyama. Application of the Child – Langmuir Law to Magnetron Discharge Plasmas. IEEE Trans. Plasma. Sci., vol. 22, n. 4, August 1994, pp. 442 – 448.
13 T. E. Sheridan, M. J. Goeckner, J. Goree. Electron distribution Functions in a sputtering Magnetron Disharge. Jap. J. Appl. Phys., vol. 34, P. 1, n. 9A, September 1995, pp. 4977 – 4982.
14 Tsutomu Muira, Tatsuo Asamaki. A theory on planar magnetron discharge. Thin Solid Films 281–282, 1995, pp. – 190 – 193.
15 F. A. Green, B. N. Chapman. Electron effects in magnetron sputtering. J. Vac. Sci. Technol., vol. 13, n. 1, January/February 1976. pp. 165–168.
16 J. G. Kirk, D. J. Galloway. The evolution of a test particle distribution in a strongly magnetized plasma. Pl. Phys., vol. 24. n. 4, 1982, pp. 339 – 359.
17 N. D’ Angelo, M. J. Alport. On “anomalously” high ion temperatures in plasma discharges. Pl. Phys., vol. 24. n. 10, 1982, pp. 1291 – 1293.
18 M. Katsch, K. Wiesmann. Relaxation of supratermal electrons due to coulomb collisions in a plasma. Pl. Phys., vol. 22, 1980, pp. 627 – 638.
Приложение А
(справочное)
Рабочие и энергетические характеристики распылительных систем
|
Вид распылительной системы |
Рабочее давление, Па | Рабочее напряжение, кВ |
Энергия ионов, Wi1,610-16 Дж |
Ионный ток Ii, А |
Мощность, подводимая к системе c, кВт |
Коэф. преобразования мощности =IiUi/c |
Энергетическая эффективность (по меди) | |
|
распыления, 10-9 кг/Дж |
системы, 10-9 кг/Дж |
|||||||
| Диодная на постоянном токе | 1,3 - 13 | 3,0 – 5,0 | 2,0 – 3,5 | 0,5 – 0,8 | 2,0 – 5,0 | 0,5 – 0,6 | 0,9 – 1,4 | 0,5 – 0,7 |
| ВЧ диодная | 0,6 – 6,6 | 1,0 – 2,0 | 0,7 – 1,5 | 1,0 – 2,0 | 3,5 – 5,0 | 0,3 – 0,6 | 1,6 – 2,5 | 0,5 –1,0 |
| Триодная | 0,06 – 0,66 | 1,0 – 2,0 | 1,0 – 2,0 | 3,0 – 5,0 | 10 –15 | 0,3 – 0,7 | 1,4 – 2,1 | 0,6 – 1,0 |
| Триодная с локализацией плазмы магнитным полем |
0,013 – – 0,13 |
1,0 – 2,0 | 1,0 – 2,0 | 10 – 15 | 35 – 40 | 0,3 – 0,7 | 1,4 – 2,1 | 0,6 – 1,0 |
| С автономным ионным источником |
0,0013 – – 0,013 |
1,0 – 3,0 | 1,0 – 3,0 | 0,2 – 0,5 | 8,0 – 10 | 0,03 – 0,15 | 1,0 – 2,1 | 0,06 – 0,15 |
| Магнетронная на постоянном токе | 0,13 – 0,66 | 0,4 – 0,8 | 0,3 – 0,5 | 15 – 20 | 8 –15 | 0,6 – 0,7 | 3,0 – 3,8 | 2,1 – 2,3 |
| ВЧ магнетронная | 0,13 – 0,66 | 0,7 – 1,0 | 0,5 – 0,7 | 2,0 – 4,0 | 3,0 – 5,0 | 0,3 – 0,6 | 2,5 – 3,0 | 0,9 – 1,5 |
Министерство образования Российской Федерации
Томский Политехнический Университет
кафедра английского языка
и технического перевода
Магнетронные распылительные системы
выполнил: В.В. Жуков,
аспирант, НИИ ЯФ, Лаб. 23.
Научный руководитель: В.П. Кривобоков,
профессор, заведующий Лаб. 23, НИИ ЯФ.
Томск 2001 год.
1 Введение
Целью настоящей работы является обзор конструктивных элементов магнетронных распылительных систем (МРС), а также рассмотрение принципа их действия и физических параметров.
Дело в том, что еще сравнительно недавно основным методом нанесения тонкопленочных покрытий были испарение и конденсация вещества в высоком вакууме. Методы ионного распыления материалов в следствие низких скоростей осаждения и высоких радиационных воздействий на обрабатываемые структуры использовались ограниченно. Появившиеся сравнительно недавно магнетронные распылительные системы, позволяющие наносить как тонкопленочные, так и пленочные покрытия в сотни микрон, позволили существенно расширить область применения ионного распыления материалов.
В последние годы в нашей стране и за рубежом проведены научные исследования и конструкторско-технологические разработки по созданию широкого класса МРС, а также установок и линий (в том числе непрерывного действия). Подобного рода установки нашли применение во многих областях науки и техники. А целесообразность и эффективность их использования доказана значительно возросшим интересом к разработке и внедрению все новых более совершенных систем.
В настоящей работе на основе литературных источников сделан обзор конструкций магнетронных распылительных систем, их составных частей, кратко рассмотрены основные параметры и физические принципы работы.
Содержание
1 Введение
2 Принцип действия и рабочие параметры МРС
3 Конструкции магнетронных распылительных систем
4 Заключение
5 Conclusion
Список использованных источников
Приложение А - Рабочие и энергетические характеристики
распылительных систем
Похожие рефераты:
Физические основы нанесения покрытий методом распыления
Методы получения тонких пленок
Фотоэлектрические свойства нитрида алюминия
Безкорпусная герметизация полупроводниковых приборов
Защитные диэлектрические пленки в планарной технологии
Изучение возможности применения магнитных жидкостей для синтеза магнитных сорбентов
Механизмы имплантации в металлы и сплавы ионов азота с энергией 1-10 кэВ
Усовершенствование блока управления и конструкции реактора установки вакуумного напыления
Контроль качества сгорания топлива в методических нагревательных печах
Биокерамика на основе фосфатов кальция
Океан в капле воды, или Вся техника в одной стекляшке
Тонкопленочные элементы интегральных схем
Метод магнетронного напыления покрытий с ионным ассистированием