| Скачать .docx |
Курсовая работа: Покажчики напруги
МІНІСТЕРСТВО ОСВІТИ І НАУКИ УКРАЇНИ
КРАСНОДОНСЬКИЙ ПРОМИСЛОВО-ЕКОНОМІЧНИЙ КОЛЕДЖ
ЗВІТ
Про проходження переддипломної практики
Для студентів спеціальності 5.091504
"Обслуговування комп’ютерних та інтелектуальних систем і мереж"
Студента:
Група:
Перевірив:
Краснодон
2099
1. Порівняльний аналіз можливих варіантів реалізації науково технічної проблеми
Покажчики напруги - переносні прилади, призначені для перевірки наявності або відсутності напруги на струмоведучих частинах. Така перевірка необхідна, наприклад, при роботі безпосередньо на відключених струмовідних частинах, при контролі справності електроустановок, відшуканні ушкоджень в електроустановці, перевірці електричної схеми і т. і.
У всіх цих випадках потрібно встановити лише наявність або відсутність напруги, але не його значення, яке, як правило, відомо.
Всі покажчики мають світловий сигнал, загоряння якого свідчить про наявність напруги на перевіряється частини або між перевіряються частинами. Покажчики бувають для електроустановок до 1000 В і вище.
Покажчики, призначені для електроустановок до 1000 В, діляться на двополюсний та однополюсні.
Двополюсний покажчики вимагають дотику до двох частинах електроустановки, між якими необхідно визначити наявність або відсутність напруги. Принцип їх дії - світіння неонової лампочки або лампи розжарювання (потужністю не більше 10 Вт) при протіканні через неї струму, обумовленого різницею потенціалів між двома частинами електричної установки, до яких торкається покажчик. Споживаючи малий струм - від часток до декількох міліампер, лампа забезпечує стійкий і чіткий світловий сигнал, випромінюючи оранжево-червоне світло.
Після виникнення розряду струм в ланцюзі лампи поступово збільшується, тобто опір лампи як би зменшується, що врешті-решт призводить до виходу лампи з ладу. Для обмеження струму до нормального значення послідовно з лампою включається резистор.
Двополюсний покажчики можуть застосовуватися в установках як змінного, так і постійного струму. Однак при змінному струмі металеві частини покажчика - цоколь лампи, провід, щуп можуть створити ємність відносно землі або інших фаз електроустановки, достатню для того, щоб при торканні до фази лише одного щупа покажчик з неоновим лампочкою світився. Щоб виключити це явище, схему доповнюють шунтуючих резистором, шунтуючих неонову лампочку і володіє опором, який дорівнює додатковим резистори.
Однополюсні покажчики вимагають дотику лише до однієї - випробуваної струмоведучою частини. Зв'язок із землею забезпечується через тіло людини, який пальцем руки створює контакт з ланцюгом покажчика. При цьому струм не перевищує 0,3 мА.
Виготовляються однополюсні покажчики зазвичай у вигляді автоматичної ручки, в корпусі якої, виконаному з ізоляційного матеріалу і має оглядове отвір, розміщені сигнальна лампочка і резистор; на нижньому кінці корпусу укріплений металевий щуп, а на верхньому - плоский металевий контакт, якого пальцем стосується оператор.
Однополюсний покажчик може застосовуватися тільки в установках змінного струму, оскільки при постійному струмі його лампочка не горить і за наявності напруги. Його рекомендується застосовувати при перевірці схем вторинної комутації, визначенні фазного проводу в електролічильника, лампових патронах, вимикачі, запобіжники і т.п.
При користуванні покажчиками напруги до 1000 В можна обходитися без захисних засобів.
Правила техніки безпеки забороняють застосовувати замість покажчика напруги так звану контрольну лампу - лампу розжарювання, ввернути в патрон, заряджений двома короткими проводами. Ця заборона викликана тим, що при випадковому включенні лампи на напругу більше, ніж вона розрахована, або при ударі об твердий предмет можливий вибух колби її і, як наслідок, поранення оператора.
Покажчики для електроустановок напругою вище 1000 В, звані також покажчиками високої напруги (УВН), діють за принципом світіння неонової лампочки при протіканні через неї ємнісного струму, тобто зарядного струму конденсатора, включеного послідовно з лампочкою. Ці покажчики придатні лише для установок змінного струму і наближати їх треба тільки до однієї фазі.
Конструкції покажчиків різні, проте завжди УВН мають три основні частини: робочу, що складається з корпусу, сигнальної лампи, конденсатора і пр, ізолюючу, що забезпечує ізоляцію оператора від струмоведучих частин і виготовляється з ізоляційних матеріалів, рукоятку, призначену для утримання покажчика.
При користуванні УВН необхідно застосовувати діелектричні рукавички. Кожного разу перед застосуванням УВН необхідно провести зовнішній огляд його, щоб переконатися у відсутності зовнішніх пошкоджень і перевірити справність його дії, тобто здатність подавати сигнал.
Така перевірка проводиться шляхом наближення щупа покажчика до струмоведучих частин електроустановки, свідомо що знаходяться під напругою. Перевірка справності може проводитися і за допомогою спеціальних джерел високої напруги, а також за допомогою Мегомметри і, нарешті, шляхом наближення щупа покажчика до свічки запалювання працюючого двигуна автомобіля або мотоцикла.
Забороняється заземляти покажчики, оскільки вони й без заземлення забезпечують досить чіткий сигнал, до того ж заземлення може, доторкнувшись до струмоведучих частин, стати причиною нещасного випадку.
В окремих ситуаціях, коли ємність покажчика щодо заземлених предметів виявляється досить малою (наприклад, при роботах на дерев'яних опорах повітряних ліній електропередачі), покажчик напруги повинен бути заземлений.
2. Вітчизняні і зарубіжні аналоги проектованого об'єкту
У таблиці наведено короткий опис покажчиків високої та низької напруги УНН, УННУ, УВН, УВНУ, ПІН90-2М, Контакт-55ЕМ, Елін.
| Тип пристрою | Опис |
| Контакт-55Э | Покажчик низької напруги. Діапазон: 24 - 250 В на постійному струмі і 24 - 380В на змінному струмі. Світлозвукові індикація на всіх діапазонах. |
| Контакт-55ЭМ | Покажчик низької напруги. Діапазон: 24 - 250 В на постійному струмі і 24 - 380В на змінному струмі. Світлозвукові індикація на всіх діапазонах. |
| Контакт-57Э | Покажчик низької напруги. Діапазон: 70 - 1000 В. Світлозвуковий індикація на всіх діапазонах. |
| ПИН 90-2М | Іскробезопасний покажчик напруги, діапазон: 50-1000 У |
| ПИН 90-2МУ | Іскробезопасний покажчик напруги для робіт у важкодоступних місцях, діапазон: 50-1000 У |
| УН-1Н | Покажчик напруги 50-400 В, 75 х 650мм, маса 0,25 кг, світло-звукова індикація. |
| УН-1Н-М | Покажчик напруги 25-400 В, 75 х 650мм, маса 0,3 кг, світло-звукова індикація. |
| УНН | Діапазон 40 - 660 В. Двополюсний. Із зазначенням полярності. Маса не більше 100 г. |
| ЭЛИН-1СЗ | Покажчик напруги двополюсної, світлозвукові. Діапазон 12 - 400 В. |
3. Розробка технічного завдання
3.1 Найменування та область застосування
У даному проекті я взялася за розробку укажчика напруги.
Це простий пристрій призначений для контролю за станом бортової мережі автомобіля і дозволяє істотно продовжити термін служби акумуляторної батареї, не допускаючи її розряд більш ніж на 50%.
Пристрій з високою точністю контролює рівень напруги акумулятора та інформує про його стан, а також дозволяє вчасно помітити несправність електромеханічного регулятора напруги автомобіля.
3.2 Підстави для розробки. Мета та призначення розробки
Про стан акумулятора можна судити по щільності електроліту в кожному елементі (банку).
Для середньої географічної широти щільність електроліту у повністю розрядженого, розрядженого наполовину і повністю зарядженого акумулятора відповідає 1,11; 1, 19; і 1,27 г / Для цих станів напруга акумуляторної батареї буде 11,7; 12,18; і 12,6 В.
Періодичний контроль щільності електроліту вимагає багато часу, а для вимірювання напруги з необхідною точністю потрібен або цифровий вольтметр, або стрілочний з розтягнутою шкалою.
Описуване нижче пристрій дозволяє обійтися без цих приладів і більш зручно в експлуатації, так як може здійснювати безперервний контроль за станом бортової мережі.
3.3 Технічні вимоги до розробки
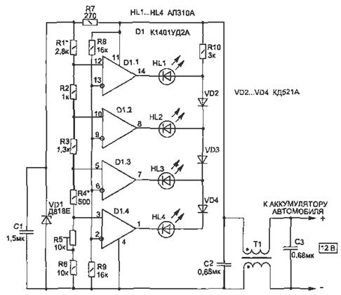
Пристрій зібрано на мікросхемі К1401УД2А і складається з чотирьох компараторів, виконаних на операційних підсилювачах, які за допомогою світлодіодів HL1... HL4 дозволяють інформувати про знаходження рівня напруги в одному з п'яти інтервалів з світінням відповідного індикатора. За світінням відразу двох світлодіодів (або їх "перемаргіванію") можна точно визначити момент знаходження напруги на кордоні між відповідними інтервалами.
Якщо жоден з світлодіодів не світиться, то це означає, що напруги нижче рівня 11,7 В. Савчин індикатора HL1 інформує водія про несправності в роботі системи регулятор-генератор - при працюючому двигуні він виробляє заряд акумулятора, але напруга при цьому не повинно перевищувати 14,8 В. Якщо ж світиться індикатор HL4, це означає, що акумулятор розряджений більш ніж на 50% і його необхідно терміново ставити на заряджання.
4. Техніко-економічне обґрунтування проекту
4.1 Загальний опис розробленого пристрою
В даній роботі я зробила розрахунок собівартості мікропроцесорного пристрою, на основі МК AT90S2313. Прилад має сім входів й один звуковий вихід. До кожного з входів підключена кнопка. При натисканні однієї з кнопок пристрій має видати звуковий сигнал певної частоти. Кожній кнопці повинна відповідати своя частото звукового сигналу. Якщо не одна з кнопок не нажата - пристрій має мовчати.
Напруга живлення Uж = 5В. Прилад підключається до сіті 220В.
Конструктивно пристрій виконано з 2 блоків:
Мікропроцесорно-виконавчого модуля;
Модуль блоку живлення;
Блоки відключаються один від одного, що робить пристрій більш комунікабельним.
Собівартість - це вираз у грошовій формі витрат на виготовлення даного продукту (пристрою). Вони діляться на прямі та непрямі.
В склад собівартості (далі кошторис) розробки входять слідуючи статті витрат:
матеріали, покупні вироби і напівфабрикати; (Вм )
спеціальне обладнання задля проведення розробки; (Воб)
основна заробітна плата розробника (виконавця); (Зо)
додаткова заробітна плата; (Зд)
відрахування на соціальні заходи; (Сп)
зміст і експлуатація устаткування; (Взаг)
накладні витрати; (Нв )
інші витрати. (Виш).
Принципіальну схему розробки приведено у додатках!
4.2 Розрахунок прямих витрат
До прямих витрат відносяться витрати на матеріали, купівельні вироби і напівфабрикати, транспортно-заготівельні витрати, основна і додаткова заробітна плата виробничих робітників і відрахування на соціальні заходи.
Вартість матеріалів, покупних виробів та напівфабрикатів (Вм) оцінюється за діючими ринковими цінами з урахуванням транспортно-заготівельних витрат за формулою (1)
де NMI та NnI - кількість матеріалів, купівельних напівфабрикатів і комплектуючих виробів (шт);
ЦMI та ЦnI - вартість матеріалів, напівфабрикатів, (грн);
Результат розрахунку Кт. з - коефіцієнт транспортно-заготовчих витрат, Ктз - (1,03...1,05).
Таблиця 1 - Результат розрахунків по статті "матеріали, покупні вироби, напівфабрикати". Прайс-лист радіоелектронних товарів приведено в додатках
| Найменування | Кількість | Ціна за од. Гр. |
Загальна сума Гр. |
|
| Резистор МЛТ-0,125-200Ом | 2 | 0,26 | 0.52 | |
| П/ПМ КЦ405 | 1 | 13,46 | 13.46 | |
| Конденсатор К10-17В-М1500 | 2 | 0,12 | 0,24 | |
| Конденсатор К50-35 М1000х16В | 2 | 4,82 | 9,64 | |
| Кварцовий резонатор HC-49U 4мГЦ | 1 | 1,10 | 1,10 | |
| Стабілізатор L7805 | 1 | 4,82 | 4,82 | |
| МК ATini2313 | 1 | 24 | 24 | |
| ТП-50-8 трансформатор | 1 | 101 | 101 | |
| SMA-13S пьезоизлучатель с генератором 13 мм SMD | 1 | 69.68 | 69.68 | |
| Мікроперемикач МП9-Р1 | 7 | 6.13 | 42.91 | |
50х100мм (1.5) 1-сторонній стеклотекстоліт |
2 | 9,61 | 19.22 | |
| Корпус для РЄА 101х54х41.7мм | 2 | 30.19 | 60.38 | |
| Припій ПОС40ТРd=2мм спіраль, 1м | 2 | 4,54 | 9.08 | |
| Стійка для плати 6мм, латунь | 8 | 4,67 | 56,04 | |
| Винти для стоєк | 24 | 0,57 | 13,68 | |
| Шнур живлення 1,8м | 1 | 15,10 | 15,10 | |
| Кабель між блочний 1,8м | 3 | 11.88 | 35.64 | |
| Соляна кислота | 300гр | 1,50 | 1,50 | |
| Разом | 462.91 | |||
Транспортно-заготовчі витрати розраховуються за формулою (2)
![]()
де Вм , ВНФ , ВКВ - вартість матеріалів, напівфабрикатів, купівельних виробів (гр);
- %транспортно-заготовчих витрат - 4%.
гр.
Розрахуємо вартість спеціального обладнання для проведення розробки. Для розробки використовується обладнання:
программатор;
принтер;
персональний комп'ютер;
свердлильний станок;
набор інструментів (Паяльник, інструмент, мультиметр)
Таким чином у кошторис включають тільки амортизаційні відрахування за нормативами прямолінійного методу.
Вони розраховуються за формулою:
![]()
де М - кількість обладнання,
НА - норма амортизації (15%);
Ц ОБ - вартість обладнання, грн.;
tn - час використання обладнання у роботі, роки.
Розрахунок амортизаційних відрахувань на спеціальне обладнання приведено в таблиці 2.
Таблиця 2. Розрахунок амортизаційних відрахувань на спеціальне обладнання
№ п/п |
Найменування Обладнання |
Кількість Од |
Ціна Одиниці грн. |
Час використання, міс |
Річна амортизація, грн. |
Всього |
| 1 | ПК DIAMANT VX-12160 |
1 | 1740.48 | 9.0 | 193.39 | 193.39 |
| 2 | Монітор TFT AcerAL1916CS | 1 | 1398.96 | 9.0 | 155.44 | 155.44 |
| 3 | Принтер Samsung ML-2850F |
1 | 697.20 | 9.0 | 77.47 | 77.47 |
| 4 | Программатор SUPERPRO-28U |
1 | 2679.64 | 9.0 | 297.74 | 297.74 |
| 5 | ББЖ IPPON Back Pro 400 |
1 | 420 | 12.0 | 35 | 35 |
| 6 | Паяльник СТ-86А |
1 | 229.2 | 9 | 25.47 | 25.47 |
| 7 | Мультиметр | 1 | 234,67 | 9 | 26.07 | 26.07 |
| 8 | Міні дрель СТ-800 |
1 | 508.09 | 9 | 56.45 | 56.45 |
| 9 | Набір інструментів | 1 | 401.80 | 12 | 33.48 | 33.48 |
| Всього: | 900.51 |
У статті основна заробітна плата виконавців визначається витрати на оплату праці, які безпосередньо зайняті виготовленням продукту, пристрою та інші.
Приймаємо оклад виконавця - 950 грн.
Вихідні дані задля розрахунку заробітної плати:
Дійсний (ефективний) фонд часу у 2009 р. - 22 години.
Термін виконання роботи - 120 год.
Загальна трудомісткість виконання складає 120 годин, тоді заробітна плата розраховується за формулою
,
Де О - оклад зарплати (місяць) 0,1 - додаткова заробітна плата
Основна заробітна плата розраховується за формулою:
де О - оклад, грн.; 120 годин-термін виконання завдання

годин на місяць
![]()
=647.73+64,77=712.46грн.
Відрахування у Пенсійний Фонд - 2% від нарахованої заробітної плати (712.46грн).

Відрахування у Фонд безробіття - 0,6% від нарахованої заробітної плати (750грн).

Відрахування у Фонд непрацездатності - 0,5% від нарахованої заробітної плати (712.46грн).

Тоді заробітна плата буде дорівнювати:
![]()
![]()
Сума відрахувань на соціальні заходи:
![]()
5. Індівідуальні питання
Скласти карту пошуку та усунення несправності
5.1 Не вдається включити комп'ютер, на кнопку пуск - жодної реакції, або ж вимикається відразу після включення
Перш за все варто переконатися, що напруга все-ж подається на блок живлення комп'ютера. Якщо напруга є, тоді приступаємо до подальшої діагностики.
1. Першим ділом потрібно на мінімальному рівні перевірити справність БЖ. Вийміть всі роз'єми живлення від БП з ваших пристроїв - вінчестера, відеокарти (якщо вона неінтегрованою), дисковода, ДВД-приводу, а також материнської плати - основний і додатковий шлейфи харчування. БП залиште включеним в мережу 220 В.

2. Знайдіть металеву канцелярську скріпку, і зігніть її по формі букви П, щоб відстань між кінцями було приблизно 4-5 мм. На основному роз'ємі БП (20 або 24 контакту), знайдіть Піни з чорним і зеленим проводами (знаходяться поруч один з одним - що замикати - показано на фото нижче).
Заблокуйте їх за допомогою скріпки і стежте за реакцією БЖ.
Якщо вентилятор БП при цьому почне обертатися, значить БП функціонує і можна приступати до наступного етапу тестування. Якщо ж вентилятор не обертається, слід замінити БП на справний.
3. Витягніть з материнської плати всі компоненти - процесор, відеокарту, модулі пам'яті, інші пристрої зі слотів розширення, від'єднайте інформаційні кабелі від вінчестера, дисководу і т.п., залиште підключеними тільки кабелі, що ведуть до кнопці включення живлення і кнопку "Reset".
4. Увімкніть комп'ютер кнопкою живлення.
а) Якщо при цьому вентилятор БЖ почне обертатися, і не буде зупинятися, значить, можна зробити висновок про мінімальну справності материнської плати і переходити до п.5. .
б) Якщо вентилятор БП не обертається, або зупиняється через кілька секунд після включення, це свідчить про несправність материнської плати, а саме про коротке замикання в будь-якому вузлі. Материнську плату слід змінити або по можливості відремонтувати. Частою причиною цього є неякісні електролітичні конденсатори - візуально це можна визначити за їх здуття.
5. Вставте процесор в сокет і встановіть процесорний кулер. Перед цим слід також очистити процесор і кулер від залишків старої термопасти, замінивши термопасту (КПТ-8 досить якісна і недорога), і, очистивши кулер від пилу. Після встановлення процесора увімкніть комп'ютер, системний динамік (PC-Speaker) при цьому повинен бути справним та підключений до свого гнізда на материнській платі.
а) Якщо після включення ПК вентилятори БЖ і процесора обертаються і не зупиняються, а з системного динаміка чути довгі гудки, що чергуються паузами, це говорить про те, що процесор в робочому стані і можна переходити до п.6.
б) якщо після включення живлення гудків не чути, а вентилятори зупиняються через кілька секунд, це свідчить про те, що процесор несправний (згорів від перегріву або з іншої причини і викликає коротке замикання) і швидко перегрівається через неправильно встановлений кулера (спрацьовує термозахист і відключає БП - в цьому випадку також чути довгі гудки, що чергуються паузами). Потрібно змінити процесор на робочий або акуратно перевстановити кулер процесора.
в) Якщо при включенні комп'ютера вентилятори обертаються, але з системного динаміка немає ніяких сигналів, можна спробувати скинути БІОС групі, що відповідає перемичкою, якщо і це не допомагає, витягти батарейку біос (кругла "таблетка" - тип CR2032) з материнської плати взагалі.
г) Якщо після вилучення батарейки при старті комп'ютера чути сигнали спікера, описані в п.5, а), означає, що ваша батарея несправна і її слід замінити. Зазвичай таке відбувається з батарейками материнських плат, які вже відпрацювали 3-5 років, і іноді трапляється з новими материнськими платами, які довго зберігалися на складі. Типовою ознакою того, що термін придатності батарейки закінчується, є скидання системного часу і небажання комп'ютера запускатися з першого натискання кнопки живлення.
6. Тепер перевіримо працездатність оперативної пам'яті. Насамперед потрібно зробити невелику профілактику. Візьміть звичайний канцелярський ластик, і акуратними, але впевненими рухами зачистіть з обох сторін контакти всіх модулів пам'яті, які сполучаються з роз'ємом материнської плати, до металевого блиску. При очищенні не зачіпає ластиком електронні компоненти модуля пам'яті. Варто також за допомогою щітки очистити від пилу роз'єми для модулів пам'яті на материнській платі. Встановіть один модуль пам'яті у відповідний роз'єм і ввімкніть комп'ютер.
а) Якщо після включення вентилятори обертаються і не зупиняються, а з системного динаміка ви почуєте сигнал, який буде складатися з одного довгого і двох коротких гудків, це говорить про те, що даний модуль пам'яті справний. Далі вам потрібно повторити цю процедуру перевірки для кожного з модулів пам'яті окремо, якщо їх у вас кілька. Заміну модулів пам'яті робити тільки при відключеному живленні комп'ютера.
б) Якщо після включення комп'ютер відразу ж вимикається або чути довгі гудки, що чергуються паузами, це говорить про те, що даний модуль пам'яті несправний, або несправний слот пам'яті, в який встановлений модуль пам'яті - спробуйте встановити цей же модуль пам'яті в інший слот.
7. Після перевірки планок пам'яті встановіть в материнську плату все, які пройшли перевірку в п.6. і включіть комп'ютер. Ви повинні почути сигнал, що складається з одного довгого і двох коротких гудків. Якщо цього не відбудеться, означає один зі слотів (роз'ємом) пам'яті на материнській платі неробочий. Виявити його можна за методикою, описаною в п.6. використовуючи завідомо справний модуль пам'яті.
8. Тепер потрібно перевірити на працездатність відеокарту. Перед перевіркою зробимо необхідні профілактичні роботи. Перш за все за допомогою канцелярського ластику зачистив роз'єм відеокарти з обох сторін, аналогічно методиці для модулів оперативної пам'яті (див. п.6).
Далі акуратно, дотримуючись обережності, щоб не пошкодити компоненти, демонтуємо систему охолодження відеокарти, запам'ятовуючи порядок дій. Після цього потрібно уважно вивчити компоненти відеокарти на предмет наявності слідів перегріву, обгорілих ділянок плати або елементів, а також електролітичні конденсатори на предмет здуття. Якщо такі виявляться, слід замінити відеокарту.
Видаляємо залишки термопасти з графічного чіпа і радіатора. Робити це можна за допомогою вати і спирту (розчинник використовувати не рекомендується). Якщо залишки термопаств за допомогою спирту не змиваються, то видалити їх можна за допомогою звичайної сірники, попередньо відламавши від неї голівку - деревина сірники досить міцна, щоб механічно видалити термопасту з графічного чіпа, але і при цьому досить м'яка, щоб не пошкодити кристал механічно. Робити це металевими або пластиковими предметами небезпечно.
Після цього необхідно очистити від пилу сам кулер відеокарти, і нанести на графічний чіп нову термопасту. Термопасту слід наносити тонким шаром на всю поверхню відеочіпа, наносити велику кількість термопасти не варто. Використовувати можна все ту ж КПТ-8. Після цього потрібно повернути систему охолодження на місце. При складанні слід дотримуватися обережності, уникати застосування великих зусиль. Після збірки потрібно переконатися в надійному та якісному контакті радіатора з охолоджуючим компонентами і підключити вентилятор відеокарти до відповідного разьему харчування. Після цього вставити відеокарту в роз'єм материнської плати, закріпити її гвинтом до корпусу ПК, підключити додатковий роз'єм живлення від БП (якщо він передбачений на вашій моделі відеокарти), підключити монітор до роз'єму відеокарти і включити комп'ютер.
а) Якщо після включення комп'ютера буде чути одноразовий короткий гудок і на екрані з'явиться зображення, значить відеокарта справна.
б) Якщо після включення комп'ютера буде чутно сигнал, який буде складатися з одного довгого і двох коротких гудків, значить відеокарта несправна або несправний роз'єм відеокарти на материнській платі.
в) Якщо після включення комп'ютера вентилятори завращаются і через кілька секунд зупиняться, значить відеокарта несправна (відеочіп згорів від перегріву або завищеного напруги, або ж присутня коротке замикання в системі живлення відеокарти).
г) Примітка Якщо під час перевірки БП (див. п.2) проблем не виникло, а при підключенні відеокарти до ПК блок живлення все-ж вимикається відразу після включення, це також може свідчити про недостатню потужність БЖ для вашої відеокарти (вона при цьому може бути справна).
5.2 Стрелка маніпулятора "миша" рухається ривками
Маніпулятор "миша" потрібно тримати в чистоті. Якщо маніпулятор "миша" засмітився всередині, то бруд може стати причиною проблем з рівномірним пересуванням стрілки маніпулятора "миша". Є два типи маніпуляторів миша за принципом дії: лазерна та кулькова. Якщо маніпулятор "миша" кульковий, то кулька "миші" може збирати бруд і сміття, які потрапляють на сенсорні ролери, які знаходяться всередині "миші". Вирішення цієї проблеми - профілактика маніпулятора "миша", тобто очищення від бруду і від сміття внутрішніх частин. У лазерних (оптичних)"мишей" треба тримати в чистоті оптичні сенсори. Частково розібрати кульковий маніпулятор "миша" можна без викрутки.
1. Переверніть маніпулятор "миша" і подивіться (рис.1) на ободок навколишній кульку, часто на ньому показується напрямок повороту для відкривання кришки.

Рис.1. Нижня площину маніпулятора "миша"
Поверніть кришку за напрямком стрілок або якщо напрям не вказано, то поверніть кришку по ходу годинникової стрілки і зніміть її.
Вийміть кульку (рис.2) і вимийте його м'яким милом, прополощіть і висушіть.
Якщо гумова поверхня кульки стала жорсткою, слизькій і миття не допомогло, то треба протерти кульку технічним спиртом.
Ще необхідно заглянути всередину корпусу маніпулятора "миша", там знаходяться три ролики (у більшості маніпуляторів). Необхідно очистити ці ролики від намотався на них бруду за допомогою технічного спирту.
Переконатися в плавності руху роликів.
Поставте на місце кульку і закрийте кришку і перевірте роботу маніпулятора "миша", якщо стрілка все одно рухається ривками, треба перевірити поверхню корпусу "миші" яка стикається при русі по килимку.
Треба тримати в чистоті не лише маніпулятор "миша", але і килимок.
Килимок необхідно помити з милом, прополоскати, висушити його і після цього використовувати.

Рис.2. Извлечение ободка
5.3 Не працює монітор
Певні конфігурації монітора можуть призвести до проблем із завантаженням.
Перевірте:
Підключено чи монітор до електромережі і включений.
Кабель монітора чи надійно підключений до монітора і системного блоку.
Налаштування яскравості та контрасту на моніторі. Зображення на моніторі може бути сірим і неможливим.
Індикатор. На більшості моніторів встановлений індикатор, який вказує на поточний стан монітора.
Зелений колір індикатора означає наявність живлення і вхідного відеосигналу.
Жовтий колір вказує на наявність живлення монітора, але відсутність вхідного відеосигналу. Це означає, що проблема, швидше за все, в системному блоці.
Якщо індикатор взагалі не включається, значить, несправність, ймовірно, в самому моніторі. Переконайтеся, що монітор підключений до працюючої електричної розетки. Якщо несправність все ще не усунуто, спробуйте замінити монітор на свідомо справний.
5.4 Питання за номером варіанту
5.4.1 Яку функцію виконує протокол TCP
Головною метою протоколу TCP є забезпечення надійного, безпечного сервісу для логічних ланцюгів чи з'єднань між парами процесів. Щоб забезпечити такий сервіс, базуючись на менш надійних комунікаціях Internet, система повинна мати можливості для роботи в наступних областях:
базова передача даних
достовірність
керування потоком
поділ каналів
робота із з'єднаннями
пріоритет і безпека
Основні дії протоколу TCP у кожній з цих областей описані у наступних параграфах.
Базова передача даних.
Протокол TCP здатний передавати неперервні потоки октетів між своїми клієнтами в обох напрямках, пакуючи певну кількість октетів у сегменти для передачі через системи Internet. У загальному випадку протоколи TCP вирішують за своїм розсудом, коли проводити блокування та передачу даних.
Іноді користувачам буває необхідно переконатися в тому, що всі дані, передані ними протоколу TCP, вже відправлені. Для цієї мети визначена функція проштовхування (push). Щоб переконатися в тому, що дані, відправлені протоколу TCP, дійсно передані, відправник вказує, що їх слід проштовхнути до одержувача.
Проштовхування призводить до того, що програми протоколу TCP одразу здійснюють відправлення і, відповідно, одержання залишаються даних. Правильно здійснене проштовхування може бути невидиме для отримувача, а сама функція проштовхування може не мати маркера межі запису.
Достовірність.
Протокол TCP повинен мати захист від руйнування даних, втрати, дублювання і порушення черговості одержання, що викликаються комунікаційною системою Internet. Це досягається присвоєнням чергового номера кожному передається октету, а також вимогою підтвердження (ACK) від програми TCP, яка приймає дані. Якщо підтвердження не отримано протягом контрольного інтервалу часу, то дані посилаються знову. З боку одержувача номери черги використовуються для відновлення черговості сегментів, які можуть бути отримані у неправильному порядку, а також для обмеження можливості появи дублікатів.
Пошкодження фіксуються шляхом додавання до кожного сегменту передається контрольної суми, перевірки її при отриманні та подальшої ліквідації дефектних сегментів.
До тих пір, поки програми протоколу TCP продовжують функціонувати коректно, а система Internet не розвалилася повністю на складові частини, помилки пересилання не будуть впливати на правильне отримання даних. Протокол TCP захищає від помилок комунікаційної системи Internet.
Управління потоком.
Протокол TCP дає кошти одержувачу керувати кількістю даних, що надсилаються йому відправником. Це досягається поверненням так званого "вікна" (window) разом з кожним підтвердженням, яке вказує діапазон прийнятних номерів, наступних за номером останнього успішно прийнятого сегменту. Вікно визначає кількість октетів, яке відправник може послати до отримання подальших вказівок.
Поділ каналів.
Щоб дозволити на окремо взятому комп'ютері багатьом процесам одночасно використовувати комунікаційні можливості рівня TCP, протокол TCP надає на кожному хост-комп'ютері набір адрес чи портів. Разом з адресами мереж та хост-комп'ютерів на комунікаційному рівні Internet вони утворюють сокет (socket - роз'єм).
Кожне з'єднання унікальним чином ідентифікується парою сокетів. Таким чином, будь-який сокет може одночасно використовуватися в багатьох з'єднаннях.
Співвіднесення портів та процесів здійснюється кожним хост-комп'ютером самостійно. Проте виявляється корисним зв'язувати часто використовувані процеси (такі як "logger" чи сервіс з розподіленням часу) з фіксованими документовані сокетами.
Цей сервіс можна згодом використовувати через відомі адреси. Встановлення та налаштування адрес портів для інших процесів може включати більш динамічні механізми.
Робота з сполуками.
Механізми управління потоком та забезпечення достовірності, описані вище, вимагають, щоб програми протоколу TCP ініціалізувати і підтримували певну інформацію про стан кожного потоку даних. Набір такої інформації, що включає сокети, номери черги, розміри вікон, називається з'єднанням. Кожне з'єднання унікальним чином ідентифікується парою сокетів на двох кінцях.
Якщо два процеси бажають обмінюватись інформацією, відповідні програми протоколу TCP повинні спочатку встановити з'єднання (на кожній стороні ініціалізувати інформацію про статус). По завершенні обміну інформацією з'єднання повинно бути розірвана або закрито, щоб звільнити ресурси для надання іншим користувачам.
Оскільки з'єднання повинні встановлюватися між ненадійними хост-комп'ютерами та через ненадійну комунікаційну систему Internet, то, щоб уникнути помилкової ініціалізації з'єднань використовується механізм підтвердження зв'язку з хронометрірованнимі номерами черги.
Пріоритет і безпека.
Користувачі протоколу TCP можуть вимагати для свого з'єднання пріоритет і безпеку. Передбачені прийняті за замовчуванням характеристики з'єднань, коли такі параметри не потрібні.
Висновок
Підчас проходження переддипломної практики я провила порівняльній аналіз декількох способів реалізації укажчиків фаз. Розглянула вже існуючі аналоги даного пристрою.
Завдяки цьому я прийшла до висновку, що мій прилад буде служити контролю за станом бортової мережі автомобіля і дозволяє істотно продовжити термін служби акумуляторної батареї, не допускаючи її розряд більш ніж на 50%.
Пристрій з високою точністю контролює рівень напруги акумулятора та інформує про його стан, а також дозволяє вчасно помітити несправність електромеханічного регулятора напруги автомобіля.
Пристрій буде зібрано на мікросхемі К1401УД2А і складається з чотирьох компараторів, виконаних на операційних підсилювачах, які за допомогою світлодіодів HL1... HL4 дозволяють інформувати про знаходження рівня напруги в одному з п'яти інтервалів з світінням відповідного індикатора. За світінням відразу двох світлодіодів (або їх "перемаргіванію") можна точно визначити момент знаходження напруги на кордоні між відповідними інтервалами.
Також під час проходження практики я зробила економічний аналіз вартості приладу, технічну розробку проекту, вирішила етапи рішення задач дипломного проекту.
Список літератури
1. Васюра, Ю.Ф., Черепанова, Г.А., Палашева, С. Є. // Електротехніка та енергетика: СБ науч. тр. ВятГТУ (№ 2) / ВятГТУ. - Кіров, 1997. - С.141-144.
2. Інструкція по застосуванню і випробуванню засобів захисту, які використовуються в електроустановках. Міністерство енергетики Російської Федерації. М.: Електроком, 2003.
3. Кім, К.К. Сигналізатори напруги для повітряних ЛЕП 6...35 кВ / Кім К.К., Червоних А.А., Морозов А.С. // Безпека життєдіяльності. - 2003. - № 6. - С.24-27.
4. Червоних, А.А. Безконтактні покажчики напругою понад 1000 В / Червоних, А.А., Хлєбников, В. А, Морозов, А.С. // Наука - виробництво - технології - екологія: Всеросійська науково-технічна конференція: СБ матеріалів у 5 т. - Кіров, 2003. - Т.4 (ЕТФ). - С.22-23.
5. Червоних, А.А., Литвинов, Д.Г., Машковцев, І.І. Прилад для вимірювання електричного поля та визначення допустимого часу перебування персоналу в електричному полі. // Електротехніка та енергетика: СБ науч. тр. ВятГТУ (№ 2) / ВятГТУ. - Кіров, 1997. - С.7-9.
6. Червоних, А.А. Особливості застосування пристроїв для перевірки покажчиків напругою вище 1000 В в польових умовах / Червоних, А.А., Хлєбников, В. А // Наука - виробництво - технології - екологія: Всеросійська науково-технічна конференція: СБ матеріалів у 5 т. - Кіров, 2003. - Т.4 (ЕТФ). - С. 19-22
7. Червоних, А.А. Сигналізатори напруги індивідуальні / Червоних, А.А., Морозов, А.С. // Наука - виробництво - технології - екологія: Всеросійська науково-технічна конференція: СБ матеріалів у 5 т. - Кіров, 2003. - Т.4 (ЕТФ). - С.27-28.
8. Червоних, А.А. Покажчики напруги для електроустановок напруги вище 1000 В / Червоних, А.А., Хлєбников, В. А // Наука - виробництво - технології - екологія: Всеросійська науково-технічна конференція: СБ матеріалів у 5 т. - Кіров, 2003. - Т.4 (ЕТФ). - С.17-19.
9. Червоних, А.А. Покажчики напруги до 1000 В / Червоних, А.А., Литвинов, Д.Г., Феофілактов, С.А. // Наука - виробництво - технології - екологія: Всеросійська науково-технічна конференція: СБ матеріалів у 5 т. - Кіров, 2003. - Т.4 (ЕТФ). - С.29-30.
10. Кривошеїн, І.Л. Малогабаритний пристрій для перевірки покажчиків високої напруги в польових умовах / Кривошеїн, І.Л., Машковцев, І.І., Булатов, А.С. // Щорічна регіональна науково-технічна конференція ВятГТУ "Наука - виробництво - технології - екологія": СБ матеріалів / ВятГТУ. - Кіров, 2000. - Т.3. - С.78-79.
11. Морозов, А.С. Системи сигналізації для пристроїв контролю наявності напруги // Наука - виробництво - технології - екологія: Всеросійська науково-технічна конференція: СБ матеріалів у 5 т. - Кіров, 2002. - Т.4 (ЕТФ). - С.31-32.
12. Попов, В.А. Аналіз факторів, що впливають на наведення напруги при ремонті повітряних ліній / Попов, В.А., Медов, Р.В., Бессоніцин, А.В. // Наука - виробництво - технології - екологія: Всеросійська науково-технічна конференція: СБ матеріалів у 5 т. - Кіров, 2004. - Т.4 (ЕТФ). - С. 209-210.
Додаток А. Принципова схема приладу
