| Скачать .docx |
Реферат: Оптические приборы
РЕФЕРАТ
" Оптические приборы "
1. Светофильтры
При помощи светофильтров обычно отделяют одну часть спектра от других. Это значит, что подыскивают светофильтр с резкой границей поглощения как со стороны длинноволновой части спектра, так и со стороны коротковолновой. Желтые или красные фильтры имеют резко спадающую в коротковолновой части спектра абсорбционную кривую. С их помощью можно отсечь коротковолновую часть спектра практически с любого желаемого места. Фильтры подобного рода имеются в продаже; можно заказать желаемую абсорбционную характеристику и получить фильтр, имеющий соответствующие свойства. Значительно труднее получить с помощью окрашенных стеклянных фильтров абсорбционную кривую, резко спадающую в длинноволновой части спектра, если предъявляются высокие требования к однородности стекла. В этом случае применяют желатиновые фильтры, окрашенные органическими красителями. Некоторые указания по изготовлению таких светофильтров даются ниже.
Узкую область спектра можно выделить при помощи комбинации фильтров Шотта. Для этой цели весьма выгодно применять и интерференционные фильтры. Они отличаются высокой степенью прозрачности и узкой областью пропускания. При помощи интерференционных фильтров очень удобно выделять определенные линии из линейчатых спектров спектральных ламп. Путем последовательного применения двух или нескольких интерференционных фильтров одного типа можно в значительной степени ослабить пропущенный фон. Интерференционные фильтры изготовляются с максимумом пропускания от л=225 лиг до инфракрасной области. Изготовление фильтров для ультрафиолетовой части спектра в настоящее время еще сопряжено с рядом трудностей. В последнее время в продаже появились интерференционные фильтры для краев спектра и отдельных линий. Путем различных комбинаций таких фильтров можно получить любую заданную спектральную полосу пропускания.
Интерференционные фильтры лучше всего приобретать. Пытаться изготовить такой фильтр самостоятельно не имеет смысла.
При применении интерференционных фильтров надо иметь в виду, что их проницаемость меняется с изменением направления падающих лучей. Интерференционные фильтры в потоке лучей нагреваются мало, так как они имеют очень небольшое поглощение. Энергия, не прошедшая через фильтр, отражается. Поэтому необходимо принимать меры, исключающие вредное влияние отраженных лучей. Стеклянные фильтры, обладающие большим поглощением, при интенсивном облучении сильно нагреваются, их кривая поглощения изменяется. Спектральная граница красных фильтров с повышением температуры смещается в красную область спектра. В связи с этим упомянем, что граница спектра пропускания горячей кварцевой колбы ртутной лампы высокого давления лежит в области длин волн > 254 ммк.
Красители вводятся в растворы желатина, которые высушивают на стеклянных пластинках. Рецепты 41 желатинового фильтра опубликованы Ходжменом. Ниже мы даем некоторые из них. Стеклянные пластинки предварительно необходимо очищать при помощи растворов едкого натра в воде и двухромовокислого калия в серной кислоте; желатина взвешивается, в течение часа моется в холодной поде и разминается. Затем берут на 20 г.сухой желатины 300 см3 воды, растворяют ее при температуре 40° С и фильтруют. Этот раствор желатины нагревается до 45° С, смешивается с краской и с помощью пипетки наливается на стеклянную пластинку, очищенную, как указано; пластинку предварительно устанавливают горизонтально и защищают от пыли. Две пластинки, приготовленные таким образом, после высыхания склеивают канадским бальзамом.
Раствор желатины, если к нему добавить сахар, еще лучше прилипнет к стеклу. Для дезинфицирования желатинового раствора пригоден тимол: небольшой кусочек этого вещества, напоминающего камфару, бросается в раствор. В качестве основной подложки, можно применять «хромовую желатину»: к 100 см3 1% раствора желатины добавляется 5 см3 5% раствора хромовых квасцов.
Однако изготовление хорошего фильтра требует все же налгЬ чия известных познаний в области специальных свойств красителей и знания определенных приемов работы с ними; надо думать, что Э.Дж. Уолл был прав, когда он вообще отказался от самостоятельного изготовления подобных цветных фильтров. Поэтому в каждом случае необходимо прежде всего подробно ознакомиться с монографиями по этому вопросу указанного автора или монографией Вейгерта. В отношении всех светофильтров, у которых краситель растворен в желатине, имеется опасность, что их цвет в течение нескольких месяцев или лет изменится, особенно если слой приклеен канадским бальзамом и если фильтр длительное время оставался на свету. Цветные желатиновые пленки выпускаются в продажу рядом фирм.
Можно рекомендовать и так называемые монохроматические фильтры, выделяющие из спектра полосы почти одинаковой ширины, примыкающие друг к другу. Имеются два сорта монохроматических фильтров: для более широких и для более узких областей спектра. Если область пропускания сужается, то уменьшается и максимальное значение пропускания – на несколько процентов. Монохроматические фильтры можно с успехом применять для устранения рассеянного света в простых монохроматорах.
Для серых стекол кривая пропускания, вообще говоря, не обнаруживает зависимости от длины волны. За пределами красной части степень прозрачности в большинстве случаев резко увеличивается. Это свойство надо иметь в виду при применении таких стекол, например, в форме клина в качестве ослабителя в спектральном аппарате. Селективность серого фильтра приобретает большое значение при очень плотных фильтрах. Серые фильтры, полученные фотографическим путем, сравнительно мало селективны. К сожалению, они в большинстве случаев немного рассеивают свет, так что при употреблении этих фильтров рассеянные лучи могут вызвать дополнительный световой эффект.
Значительно проще изготовлять жидкие фильтры. Красящий раствор наливают в ванну с плоскопараллельными стенками. Очень подходят для этой цели упоминавшиеся на стр. 111 цилиндрические стеклянные сосуды, – на концах которых приплавлены плоскопараллельные пластинки; сбоку в сосуд впаивается отросток для наполнения его жидкостью. Широко известны сосуды Лейболъда; относительно них, так же как и относительно изготовления маленьких кювет, см. Вейгерт. Жидкие фильтры из нескольких вполне определенных помещенных друг за другом слоев можно сравнительно просто составлять при помощи соответствующих кювет.
Для наполнения жидких фильтров особенно подходят окрашенные неорганические соли, так как они обнаруживают полную светостойкость.
Следующие указания взяты из работы Гибсона,
4400 А: 5% водный раствор железосинеродистого калия,
5000 А: 6% водный раствор двухромовокислого калия,»
6000 А: пластинки из стекла, окрашенного закисью меди, или из рубцового стекла,
780: йод в сероуглероде,
8200 А: эбонит; проницаемость пластинки толщиной 0,3 мм при 1 лк 37%, при 2 мк 61%.
Ниже приводятся данные о различных инфракрасных фильтрах. Эти фильтры, так же как и многочисленные красители, исследовал Меркельбах в области от 0,6 до 2,8 мк.
Второй класс
Фильтры с определенной длинноволновой границей проницаемости: слой воды толщиной 1 см. Проницаемость при л=1мк 80%, при л= 1,5 лек 0%.
57 г.сернокислой меди на. 1 литр воды, толщина слоя 1 см. Раствор пропускает при л=5800А 80%, начиная от л= 7500 А в сторону длинных волн непрозрачен.
Полунасыщенный водный раствор хлористого железа пропускает при толщине слоя 10 мм: при л=0,7мк 40%, при л=0,8JitK5%, при л=0, имк 0%. К сожалению, раствор малоустойчив. Стекло BG 19 фирмы Шотт при толщине 2 мм пропускает: при л=0,55мк 90%, при л=0,7мк 50% и при л от 0,9 до 2,8 jukменее 5% падающего на него света.
Красный свет поглощается более сильно, чем коротковолновый сине-зеленым фильтром указанной выше фирмы, а также берлинской лазурью.
Фильтры для специальных целей
Если по методу, предложенному Пфундом, обработать целлулоидные пленочки парами селена, то получается черный слой, который, как показали Барнес и Боннер, вместе с кварцевой пластинкой толщиной 0,7 мм пропускает лучи только с длиной волн свыше 40 лиг. В работе приведены кривые поглощения между, 1 и 120 JitK.
Золотые слои, проницаемость которых для зеленого света составляет 73%, исключают, по данным Кишфалуди, красные и инфракрасные лучи.
Для большинства случаев весьма подходящими являются три фильтра, предложенные Р.В. Вудом: слой раствора следующего
Состава: 10 мг нитрозодиметиланилина на 100 мл воды, толщиной 5 мм; этот фильтр непроницаем для лучей с длиной волны от 5000 до 3700 А и проницаем для длин волн от 3700 до 2000 А. При длительном хранении раствор становится непроницаемым р для ультрафиолетовых лучей без изменения своей окраски. Тонкий серебряный слой проницаем для лучей с длиной волны от 3400 до 3100 А. Кривая проницаемости этого слоя представляет собой зеркальное изображение кривой его отражения света. Для изготовления такого фильтра серебрят кварцевую пластинку, добиваясь слоя такой толщины, чтобы при наблюдении через пего Солнце представлялось синим диском, а очертания домов на фоне светлого неба уже не были бы видны. На слой серебра накладывают кольцо из фильтровальной бумаги, пропитанной уксуснокислым свинцом; на это кольцо накладывается затем кварцевая пластинка. В таком виде фильтр сохраняется в течение многих месяцев.
Вуднишел также, что очень тонкие слои щелочных металлов, уже совершенно непрозрачные для видимого' света, пропускают коротковолновый свет. Такой слой можно получить испарением очень тщательно очищенного щелочного металла; пары осаждают на стенку кварцевой колбы, охлаждаемую жидким воздухом; Вуд описал технику приготовления таких слоев, но ее нельзя считать простой. Над этим фильтром продолжали работать О'Брайен, а также Уотстон и Харст. Границы проницаемости лежат для
Cs при 4400 Rb» 3600 К» 3150 Na» 2100 Li остается до 1400 А непрозрачным.
Дреслер и Рикк описали светофильтр, который позволяет относительную спектральную чувствительность селенового фотоэлемента почти полностью приблизить к чувствительности нашего глаза.
Не рекомендуется самому изготовлять такой светофильтр, его следует приобрести в готовом виде, так как для каждого фотоэлемента требуется специальный особый подбор светофильтра. Кроме того, рекомендуется периодически контролировать точность работы установки.
Относительно узкую область около любой данной длины волцы можно выделить известным фильтром Христиапсена. Один такой фильтр для длин волн от 3 до 90 мк кратко описан Барнесом и Боннером. Раньше для выделения необходимой области длин волн пользовались изменением температуры кюветки с раствором; Эйе применяет раствор бромо- и йодортутных соединений калия и бария, относительно нечувствительный к изменению температуры. По данным автора изменять выделяемую область спектра можно, подбирая подходящую концентрацию раствора. Если для выделения отдельных линий в спектре ртутной лампы пользуются жидкими фильтрами, самостоятельно составленными, то можно рекомендовать описанные далее комбинации фильтров. Эти комбинации применимы так же, как фильтры, дополнительные к интерференционным. ■
Желтый дублет 5790/69 А можно выделить, если спектр ртутной лампы пропустить через слой почти насыщенного раствора двухромовокислого калия толщиной 5 см.
Зеленая линия 5461 А. В кюветке, наполненной водой растворяют такое количество тартразина, которое необходимо для того, чтобы синие линии исчезли; для контроля пользуются карманным спектроскопом. Желтый дублет устраняется путем добавления имеющегося в продаже азотнокислого неодима. Раствор почти неограниченно устойчив. Фильтр превосходно подходит для спектроскопических и поляриметрических исследований, а также для микрофотографии. Можно также применить дидимовое стекло, которое, однако, обходится довольно дорого, так как требуется слой толщиной до 2 см.
Группа линий 4358–4347Смешивают 8 г сернокислого хинина с 100 см3 дистиллированной воды и добавляют по каплям разбавленную серную кислоту до тех пор, пока не растворится выпавший вначале пухлый слой белого осадка; его растворение совершается внезапно. Слой этой жидкости толщиной 2 см в соединении с обычным кобальтовым стеклом пропускает, кроме указанной выше группы линий, только следы зеленой линии. Если последнее нежелательно, то в раствор добавляют еще пемпого родамина В. Так как раствор сернокислого хинина буреет после долгого действия света, то Пфунд рекомендует раствор азотисто-кислого натрия толщиной слоя 12 мм; его прозрачность составляет для 4358 А 65%, а для 4047 А 1%.
Еще лучше для этой цели подходит, пожалуй, недавно предложенная Санни и его сотрудниками смесь 6% раствора нитробензола в спирте с 0,01% «розамином 56 экстра»; ее слой толщиной 1 см пропускает линию 4358 А, но зато соседние линии ослабляет до 0,1%; необходимо указать, что этот светофильтр немного чувствителен к действию света.
Для линии 3125 А Бэкстрём кратко описал следующий фильтр: раствор из 14 г.сернокислого никеля и 10 г. сернокислого кобальта на 100 см* дистиллированной воды; этот светофильтр пропускает при слое толщиной в 3 см 3,5% линии 3342 А, но зато 96% линии 3125 А; он является прозрачным минимум до 2300 А. Если к этому раствору добавить еще 45 г.безводного кислого фталата калия, который хорошо поглощает короткие волны, то интенсивность уже соседней линии 3023 А ослабляется до 0,1%, в то время как для линии 3125 А сохраняется высокая проницаемость. Простым, однако не очень хорошим поглотителем является посеребренная кварцевая пластинка.
Для выделения линии 2536 А можно по Ольденбергу пользоваться кварцевой колбой диаметром 40 мм, наполненной хлором до давления примерно 6 атм. Линия 4358 А будет еще сильно ослабляться, но длинноволновые линии – едва ли.
Пользуясь стеклянными фильтрами и обычными спектральными лампами, имеющимися в продаже, можно выделять линии, почти равномерно расположенные на всем протяжении спектра. В противовес жидким фильтрам, стеклянный фильтр имеет то преимущество, что он чуть ли не безгранично устойчив. В справочнике по физике и химии Д'Анса и Лакса приведены комбинации фильтров и соответствующих им спектральных ламп.
Для видимого и ультрафиолетового света хорошие результаты дают прозрачные металлические слои платины, родия, сурьмы, отложенные испарением на кварцевые пластинки.
Тейсинг и Гёберт изготовили с помощью изящного приема серый « фильтр, поглощение которого в области длин волн между 3000 А и 2,3 мк практически является постоянным. Для этого они на один слой, поглощение которого уменьшается при уменьшении длин волн, отложили второй слой, поглощение которого изменяется в противоположном направлении.
Поляризационные пленки, которые теперь изготовляются различными фирмами, при скрещенном положении можно применять в качестве нейтрального фильтра переменной прозрачности. Во многих случаях с большим успехом вместо поляризационных призм употребляются поляризационные пленки. При скрещенном положении лучшие из них уменьшают яркость света в сотни раз. По сравнению с поляризационными призмами они обладают преимуществом большего поля зрения. Пленки можно изготовить почти безграничного размера. Иногда возникают затруднения вследствие необходимости обеспечить их теплоустойчивость. От действия влаги поляризаторы можно надежно защищать, если это вообще необходимо, вклеивая их между стеклянными дисками.
С одной стороны, производство поляризационных фильтров такого типа, с другой стороны, изготовление пленок с двойным преломлением побуждают к проектированию ротационно-дисперсионных светофильтров. Этот вид фильтров много лет назад описал Р.В. В уд при разделении компонентов линии натрии; светофильтры такого типа затем разрабатывались Лайотом, Эхманом, Регием и Хаазе. Фильтр с отверстием Лайотом, пропускал, в зеленой части полоску в 2 А ширины при прозрачности 13%, а в красной части – 3 А при 24%.
2. Зеркальные поверхности
А) Металлы
Результаты весьма многочисленных экспериментальных исследований в этой области приводят к следующим качественным выводам. При больших длинах волн, в несколько микрон, большинство металлов отражает от 90 и почти до 100% падающего света. От 15 мк до почти 4000 А серебро по отражательной способности превосходит все другие металлы; в инфракрасной области вплоть до 8500 А золото отражает так же, как и серебро. Очень хорошим отражателем в длинноволновой области является также латунь. Результаты таких работ представлены графически на рис.

Отражательная способность серебра и алюминия

Отражательная способность серебра и алюминия
Известно, что с уменьшением длин волн отражательная способность всех металлов сильно уменьшается, за исключением кремния. Зеркальный металл, или так называемый сплав Брэшира, применяемый в особенности для отражательных дифракционных решеток, состоит из 68% меди и 32% олова. По данным Пфунда в области Лаймана лучше всего отражает кварц, хуже всего – зеркальный металл.
Б) Слои, уменьшающие отражение
Слои, устраняющие или уменьшающие отражение, в настоящее время широко применяются в оптике. Методы нанесения тонких слоев, например, магния, кальция или фтористого лития стали технически весьма совершенными. В технической оптике уже начинают применяться многослойные покрытия, устраняющие отражение. Значительно увеличена также прочность слоев. Прежде всего, слои, осажденные из газовой фазы, имеют практически твердость стекла, они почти неразрушимы. Методы осаждения слоев из газовой фазы были развиты Геффкеном. Уменьшение отражения на таких слоях весьма значительно. Коэффициент отражения от них в небольшой степени зависит от длины волны и имеет значения от 0,2 до 1%. При применении многослойных покрытий зависимость отражения от длины волны уменьшается. Могут быть также получены зеркала с большой отражающей способностью и незначительным поглощением. Для этого, однако, необходимо четное число слоев.
В табл. указаны прозрачность и рассеяние света оптической системой, состоящей из некоторого числа поверхностей, в предположении, что на каждой поверхности отражается с,=5% или Q1 =I% падающего на нее света. Как и следовало ожидать, выигрыш за счет уменьшения отражения при двух поверхностях незначителен, но при увеличении их числа он становится настолько большим, что, например, при 30 поверхностях вредный рассеянный свет за счет относительного повышения степени проницаемости в три раза уменьшается почти в шесть раз.
3. Микроскоп и его принадлежности, в особенности для термических работ
Микроскоп, т.е. осветительное устройство, окуляр и объектив, представляет собой один из широко применяющихся приборов. Укажем еще на некоторую дополнительную аппаратуру, например камеру для работы при пизких температурах; в этом случае объект располагается в плоской камере, через которую протекает сухой газ, прошедший через холодильную ванну. Для работы при температурах между – 130 и – и кристаллов.
При микроскопическом наблюдении фазовых переходов, процессов плавления или образования монокристаллов при высоких температурах маленькие пробы вещества могут быть в некоторых случаях помещены на нагреваемую электрическим способом U-образную металлическую ленту. Эта лента, сделанная из сплава 60% Pt-) – 40% Rh, служит микропечью. Лента имеет размеры: толщина 0,01 мм, ширина 8 мм, длина боковых сторон 10 мм, расстояние между ними 1,2 мм; воздух в этой печи нагревается до температуры свыше 1800 °С; эта температура может сохраняться длительное время. Температура может быть определена по графику зависимости ее от тока накала, точки которого получены как известные температуры плавления определенных веществ. Ниже перечисляются подходящие для этой цели вещества и указываются их температуры плавления:
K2 SO4 , CaO-MgO-2Si02 , BaO-2Si02 , CaO •Al2 Os ^SiO2 , смесь 15% MgO и 85% SiO2 . В методе, предложенном Ордвеем, капля расплава удерживается капиллярными силами на поверхности термоэлемента Pt–PtRh, нагреваемого переменным током высокой частоты. Постоянное напряжение на нагретом термоэлементе используется для измерения температуры. Цепь измерения температуры должна быть но всей длине термоэлемента ограждена фильтрами от воздействия переменного напряжения. Абсолютная ошибка измерения температуры при 1420° С равна 5°. В методе В ел ьха цепь измерения температуры и цепь нагревателя полностью разделены. Термоэлемент нагревается одной полуволной 50-периодного переменного тока. Во время второй полуволны термоэлемент для определения термо ЭДС подключается к компенсационной схеме.
Для металломикроскопии при высоких температурах имеются.' заводские нагревательные столы. Они имеют вакуумплотные сосуды, в которых небольшой полированный кусочек исследуемого металла нагревают в высоком вакууме или защитной атмосфере и наблюдают процесс изменения его поверхности с температурой.

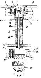
Установка для исследований с поляризационным микроскопом при низких температурах. Схема камеры-приставки к поляризационному микроскопу.J– объектив микроскопа, 2 – пробковое кольцо, 3 – полая пластинка с припаянной латунной трубкой 4, опущенной в сосуд 6 с жидким воздухом 5,7 – термоэлемент, S– посеребренное металлическое зеркало, 9 – камера с охлажденным воздухом,Яп– толстостенная латунная трубка, и – стеклянная трубка, 12 – кожух для трубки ю, 13 – дополнительный нагреватель, 14-фарфоровая трубка, 15 – пластинка с припаянной латунной трубкой 16, опущенной в сосуд с жидким воздухом 17, 18 – нагреватель, 19 – дыоар, 20 – пробковое кольцо, 21 – кольцеобразная пластинка, поддерживаемая предметным столиком микроскопа 22.
Состояние объектив – объект не может быть менее 2,5–3 мм, то при нормальных объективах максимально достижимое увеличение не превышает 250–300. Обзор развития металлографических методов и полученных ими результатов дает Рейнахер 18). Пфейффер описывает самодельный нагревательный стол для исследования легко окисляющихся сплавов с помощью микроскопа. Нагреватель помещен на полом кварцевом держателе, заключенном в стеклянный кожух с водяным охлаждением; держатель закрыт шлифом из плавленого кварца с приплавленной к нему кварцевой шайбой. Печь нагревателя состоит из двух сплавленных вместе трубочек АlОз, через которые проходят платиновые проволоки. Для измерения температуры образца, помещенного в печь, служит термоэлемент. Токоподводящие провода и провода термоэлемента вплавлены в стекло для обеспечения герметичности соединения.
Очень быстро совершенствуются методы ослабления отражения. Ослабление отражения достигается тем, что или изменяется химический состав пограничного слоя линз, или на них наносится слой с другим показателем преломления.
В последнее время очень быстро прогрессирует инфракрасная микроскопия, в которой применяют отражательные микроскопы. Большие успехи в оценке неровностей на поверхностях достигнуты благодаря микроскопам с фазовым контрастом. В ультрафиолетовом микроскопе также с успехом применяется метод фазового контраста.
Простой микроманипулятор состоит из рамы с двумя расположенными под прямым углом деревянными планками, которые соединяются с микроскопом и обеспечивают возможность перемещения прикрепленных к ним микроиголок, микропипеток и микроэлектродов.

Вакуумный нагревательный стол по Пфейфферу