| Скачать .docx |
Дипломная работа: Исследование особенностей граничного трения ротационным вискозиметром
МИНИСТЕРСТВО ОБРАЗОВАНИЯ И НАУКИ УКРАИНЫ
ОДЕССКИЙ НАЦИОНАЛЬНЫЙ УНИВЕРСИТЕТ
им. И.И.МЕЧНИКОВА
Кафедра физики твердого тела и твердотельной электроники
Исследование особенностей граничного трения ротационным вискозиметром |
|
Курсовая работа студента 4 курса физического факультета БУТЕНКО А.Ф. Научный руководитель, профессор. АЛТОИЗ Б.А |
|
ОДЕССА 2004
СОДЕРЖАНИЕ.
Введение
1. Жидкокристаллические слои их особенности
1.1Исследования ЭЖК слоев
1.2 Капиллярный вискозиметр для исследования тонких неоднородных жидких прослоек
2 Исследование особенности граничного трения ротационным вискозиметром
Вывод
Литература
Введение
На поверхности раздела твердое тело – жидкость всегда создается пристенный слой жидкости, свойства которого отличаются от свойств объемной жидкой фазы вследствие действия поверхностных сил твердой подложки. Довольно подробно были исследованы различные свойства теплоемкость, оптическая анизотропия, дихроизм, в меньшей мере были изучены свойства связанные с вязкостью.
Такой параметр как вязкость является наиболее важным физическим свойством смазочных материалов, поскольку ее величина влияет на износ различных механизмов.
Настоящая работа посвящена исследованию — проблемы организации процессов трения и изнашивания, а именно — определению вязкости масел, которые выступают в роли смазочного материала в узлах механизмов, а также влияние ведения ПАВ на их свойства.
1. Жидкокристаллические слои их особенности
1.1Исследования ЭЖК
На поверхности раздела твердое тело – жидкость всегда создается пристенный слой жидкости, свойства которого отличаются от свойств объемной жидкой фазы вследствие действия поверхностных сил твердой подложки. Это впервые было отмечено, согласно Гарди [1], в 1801 г. Лесли. Такие пристенные слои различны по своим параметрам. Это могут быть адсорбционные монослои, либо системы из нескольких молекулярных слое, но могут создаваться более сложные, но и более интересные протяженные пристенные слои, примером которых являются граничные фазы (или эпитропные жидкие кристаллы). Представление об особой пристенной граничной фазы был введен Б.В.Дерягиным при анализе результатов экспериментов, проведенных совместно с В.В.Карасевым [3] по определению вязкости пристенных слоев жидкости. В этих экспериментах было установлено, что у некоторых полярных жидкостей вблизи от поверхности твердой подложки (диэлектрической или металлической) коэффициент вязкости отличается от его значения для объемной жидкости и остается постоянным до некоторой критической толщины ds , после чего скачком изменяется до значения, соответствующего объемной (изотропной) жидкости. Постоянство свойств в пределах всего пристенного слоя и существование резкой (по типу фазовой) границы раздела, отделяющей пристенный слой от объемной жидкости позволило выделять такой слой в отдельную граничную фазу. Далее в работах З.М.Зорина [4] были исследованы адсорбционные слои ряда полярных жидкостей, образованных на твердой подложки, и было показано, что такие слои ограниченно смачиваются собственной объемной жидкостью. Это однозначно указывало на отличие их свойств от свойств объемной жидкости.
Позднее при исследованиях теплоемкости пристенных слоев полярной жидкости (нитробензола) [5,6] было показано, что теплоемкость пристенных слоев нитробензола ниже теплоемкости объемной жидкости и установлено существование теплоты фазового перехода граничная фаза – объемная жидкость. В этих работах также была определена зависимость равновесной толщины граничной фазы от температуры. Проведенные выше указанные исследования пристенных слоев позволили предположить, что структура граничных фаз отлична от структуры объемной жидкости, являясь более упорядоченной, и подобна жидкокристаллической.
Первыми предположение о жидкокристаллическом строении граничных фаз выдвинули Б.В.Дерягин и Л.М.Щербаков [7], однако, тип структуры указан ими не был. Интересно отметить, что к выводу об ориентационной упорядоченности в пристенных полимолекулярных слоях ранее пришли также исследователи граничного трения [8], предположившие связь между гомеотропной упорядоченностью в пристенных слоях алифатических кислот, образованных на металлической поверхности, и возрастанием противоизносных свойств граничных смазочных слоев.
Оптическую анизотропию пристенных слоев воды, толщиной ds ~ 20 нм, образованных на слоистой матрице диэлектрика (пирофиллита) наблюдали Б.В.Дерягин и Грин-Келли [9]. Однако степень упорядоченности молекул в пристенных слоях и направление преимущественной ориентации молекул воды этих опытах установлено не было. В работе [10] для выяснения вопроса о величине и типе оптической анизотропиии, существующей в граничных слоях нитробензола на поверхности стекла и кварца, был использован метод плоского световода переменной толщины [10]. Этим методом было установлено, что для молекул нитробензола ряда характерна гомеотропная ориентация молекул в пристенных слоях и была проведена оценка равновесной толщины пристенных слоев. В последующих исследованиях этим методом была замечена корреляция между способом предварительной подготовки поверхности подложки (ее очистка хромовой кислотой, обработкой водородным пламенем) и величиной оптической анизотропии жидкой прослойки в световоде.
Прямым (и более информативным) способом изучения свойств упорядоченных пристенных слоев, измерения их структурных параметров явился метод исследования дихроизма собственных электронных полос поглощения [11].
Дипольные моменты электронных переходов в молекулах имеют определенные направления (поляризованы) и поэтому в спектрах поглощения ориентационно– упорядоченного ансамбля молекул наблюдается дихроизм поглощения. Для каждой полосы поглощения знак дихроизма определяется взаимным расположением моментов электронного перехода и электрического вектора световой волны, а величина дихроизма зависит от степени ориентационной упорядоченности молекул поглощающей среды. Мерой ориентационной упорядоченности ансамбля молекул является параметр порядка
, (1)
где θ – угол между осью отдельной молекулы и направлением преимущественной ориентацией, а усреднение ведется по всему ансамблю молекул. На максимуме поглощения полосы коэффициент поглощения света – μ определяется выражением:
, (2)
где
- дипольный момент перехода,
- электрический вектор световой волны.
В частном случае гомеотропной ориентации молекул ансамбля коэффициент поглощения инвариантен к состоянию поляризации падающего света и определяется формулой:
, (3)
где
- коэффициент поглощения аналогичной изотропной среды, m – молекулярный параметр, определяющийся значением угла γ между дипольным моментом перехода и длиной осью молекулы:
m = 0,5 (3*cos2 γ -1).
В случае планарной ориентации молекул ансамбля коэффициент поглощения также инвариантен состоянию поляризации падающего света и определяется формулой:
. (4)
Таким образом, определив величину экстинкции ориентационно – упорядоченного пристенного слоя, можно определить минимум ориентации молекул в пристенном слое и рассчитать параметр порядка в нем.
Следует отметить, что высокая экстинкция в максимумах электронно-колебательных полос поглощения (например, для жидкости ароматического ряда) позволяет надежно фиксировать поглощение света в пристенных слоях с толщинами d
40 см.
Для измерения локальных значений коэффициента поглощения в пределах пристенного слоя был разработан метод сканирования по толщине клиновидной прослойки исследуемой жидкости, образованной между двумя прозрачными подложками, узким световым зондом на частоте, соответствующей максимуму электронно-колебательной полосы поглощения.
В случае однородности оптических свойств прослойки зависимость логарифма интенсивности прошедшего света от толщины прослойки будет линейной:
(5)
В случае же структурной (и как следствие) оптической неоднородности подложки зависимость lny = f(d) будет нелинейной, и ее анализ позволяет установить минимум ориентации молекул в прослойке, оценить ее структурной однородности и установить характер границы раздела: пристенный слой – объемная жидкость.
Рассмотренная методика пригодна лишь для жидкостей имеющих интенсивные электронно–колебательные полосы поглощения с длиной волны λ > 200 нм. Однако, у многих жидкостей (например, алифатического ряда) такие полосы лежат в области вакуумного ультрафиолета и этот метод непосредственно не применим.
В этих случаях возможно использовать, вариант метода дихроизма с внедрением в матрицу основной жидкости примесных молекул, изоморфных основным, но обладающих значительной экстинкцией в заданной области спектра и привести измерения их экстинкции.
Другой методикой исследования дихроизма поглощения ориентационно–упорядоченных пристенных слоев является метод нарушенного полного внутреннего отражения [3]. Как известно, в этом случае луч, попадающий из оптически более плотной среды в оптически менее плотную, отражается, но и частично в ней поглощается. Соответствующая геометрия оптических элементов позволяет использовать многократное повторение полного внутреннего отражения, что увеличивает чувствительность метода. Таким способом были подтверждены результаты измерений методом измерения дихроизма собственных полос поглощения степени упорядоченности, существующей в пристенных слоях нитробензола, и гомеотропного типа ориентации молекул в них. Однако этим методом затруднительно определить степень однородности пристенных слоев и установить существование границы раздела: граничная фаза – объемная жидкость.
Исследование дихроизма в клиновидных прослойках ароматических жидкостей образованных между лиофилизированными поверхностями кварца показали, что зависимость lny = f(d) имеет вид выпуклой ломаной. Вблизи от поверхности подложки в интервале толщин 20 нм < d < 60 нм коэффициент поглощения постоянен и меньше, чем в объемной (изотропной) фазе. Это позволяет утверждать, что пристенные слои ароматических жидкостей, толщиной d
60 нм однородно ориентационно упорядоченны, причем длинные оси молекул нормальны к поверхности кварцевой подложки. Такие слои отделены резкой (фазовой) границей раздела от изотропной (объемной) жидкости, что подтверждает выделить их выделение в особое фазовое состояние граничную фазу.
Аналогичные ориентационно упорядоченные пристенные слои жидкости ароматического ряда образуются также и на поверхности сапфира (Al2 O3 ).
Исследование строения пристенных слоев алифатических жидкостей проводились этим методом путем измерения дихроизма примесных молекул. Было показано, что в этом случае ориентационно – упорядоченные пристенные слои обладают несколько большей толщиной, чем у ароматиков (dS = 200нм), а ориентация молекул зависит от рода мономолекулярных слоев ориентантов, нанесенных на поверхность кварца, и эта ориентация может быть как гомеотропной, так и планарной.
Установленная структурная упорядоченность молекул в пристенных слоях органических жидкостей, образованных на лиофильных диэлектрических твердых подложках, однородность структуры в пределах пристенного слоя толщиной d![]()
и существование фазовой границы раздела, отделяющей пристенные слои от объемной жидкой фазы, являются прямыми. Доказательствами того, что такие пристенные слои представляют собой отдельную, граничную фазу, с которой и связаны установленные ранее “аномалии” термодинамических и оптических свойств пристенных слоев жидкости.
Такие граничные фазы исследовавшихся немезогенных органических жидкостей ароматического и алифатического рядов ввиду существования в них дальнего ориентационного порядка молекул следует отнести к особому типу жидких кристаллов, причем по типу симметрии - к нематикам. Однако, в отличие от обычных жидких кристаллов ориентационная упорядоченность в граничных фазах может возникать в поле поверхностных сил лиофильной твердой подложке. Поэтому такие граничные, подобные жидкокристлическим фазы немезогенных жидкостей были названы эпитропными (от греч.”эпи”-поверхность) жидкими кристаллами (ЭЖК).
Отличительной особенностью ЭЖК является их пространственная ограниченность и возможность равновесного сосуществования с объемной жидкой фазой в значительном интервале температур. Убывание равновесной толщины ЭЖК фазы с ростом температуры (с одновременным умненьшением степени ориентационного порядка в ней) свидетельствует о постепенном послойном ориентационном плавлении ЭЖК фазы.
Эта фаза образуется у поверхности лиофильных твердых подложек в поле дальнодействующих поверхностных сил твердой подложки. Так как молекулы жидкостей, образующих ЭЖК фазы анизометричны, то следовательно существенную роль в организации ЭЖК играет анизотропные межмолекулярные взаимодействия (как и при образовании объемной жидкокристаллической фазы). Представления теории Майера-Заупе о механизме образования нематической фазы были положены в основу создания термодинамической модели организации вблизи подложки ЭЖК фазы.
Согласно этой теории ориентационная упорядоченность в объемной жидкокристаллической фазе возникает вследствие действия анизотропной диполь-дипольной составляющей дисперсионной молекулярных сил. Рассчитанная в рамках такого представления зависимость ориентационной составляющей свободной энергии ΔF0 от параметра порядка S при различной температуре. При температурах Т<TC - температуры фазового перехода жидкокристаллическая фаза-объемная жидкость на зависимости ΔF0 (S) существует минимум с ΔF<0, соответствующий устойчивому жидкокристаллическому состоянию. При температуре несколько большей Тс наблюдается два минимума, первый абсолютный минимум (ΔFop =0 при S=0), соответствующий изотропной жидкости и второй минимум (ΔFop >0 при S≠0), соответствующий неустойчивому в объеме, метастабильному (“перегретому”) жидкокристаллическому состоянию.
Жидкости, образующие в пристенных слоях ЭЖК фазу относятся к немезогенным, т.е. при плавлении они сразу переходят в объемную жидкость, т.к. даже при температуре плавления ориентирующих сил межмолекулярных анизотропных взаимодействий недостаточно для организации стабильной в объеме ориентационно упорядоченной мезофазы. Устойчивое мезофазное состояние таких жидкостей может реализоваться (по крайней мере теоретически) лишь в переохлажденном состоянии, а при температурах выше температуры плавления жидкокристаллическое состояние в них метастабильно. Однако, вблизи твердой подложки в прилегающих к ней слоях таких жидкостей дальнодействующие поверхностные силы могут стабилизировать метастабильное жидкокристаллическое состояние в области толщин слоя d≤ds . Такие простые соображения поясняют, во-первых структурную однородность ЭЖК фазы, представляющей собой стабилизированное полем поверхностных сил жидкокристаллическое состояние, обладающее одинаковым ориентационным упорядочением и однородностью всех физических свойств, определяющихся степенью ориентационной упорядоченности. Во-вторых такое представление объясняет существование фазовой границы раздела, отделяющей ЭЖК фазу от объемной изотропной жидкости.
Далее для построения самой упрощенной микроскопической модели ЭЖК фазы была предпринята попытка использования одномерной модели Изинга, в которой система представляет собой решетку, в каждом узле которой элемент может находится в двух дискретных состояниях. В одномерной модели Изинга в отсутствии внешнего ориентирующего поля спонтанная ориентация отдельных элементов отсутствует. Во внешнем ориентирующем поле средний параметр порядка в ней S>0. Для расчетов отдельные совокупности элементов - “цепочки”, равноудаленные от ориентирующей твердой подложки, замыкались (периодическое граничное условие) и для каждой цепочки задавалось некоторое значение энергии поля поверхностных сил, кубически убывающей по мере удаления от поверхности.
Такая схема позволила рассчитать зависимость параметра порядка в системе элементов – молекул от расстояния до поверхности подложки и от температуры. Далее была рассчитана теплоемкость такой системы в функции от толщины слоя (числа цепочек ) и температуры, и теплота перехода ЭЖК фазы в объемную жидкость.
Эта модель качественно описала основные свойства ЭЖК фазы: - существование упорядоченности (S=const) вблизи от поверхности подложки, уменьшение числа упорядоченных цепочек (толщины ЭЖК слоя) с ростом температуры, зависимость теплоты перехода ЭЖК фазы - объемная жидкость от температуры.
Необходимо отметить также, что ЭЖК фаза, существующая в неоднородном поле поверхностных сил не является полностью однородной по степени ориентационного порядка. Так в специально поставленных опытах по измерению дихроизма примесных молекул в сверхтонких (~ 10 – 15 нм) слоях нитробензола было показано, что около десяти молекулярных слоев, непосредственно прилегающих к поверхности подложки, обладают упорядоченностью повышенной по сравнению с объемом ЭЖК фазы.
Далее, при спектральных исследованиях ЭЖК фазы были отмечены изменения формы спектральных полос при уменьшении толщины слоя ЭЖК фазы.
В серии нормированных спектров ЭЖК фазы ароматических жидкостей (нитробензола и анизола) были отмечены изобестические точки, что однозначно свидетельствует о существовании в ЭЖК фазах этих жидкостeй нескольких типов поглощающих центров. Для определения числа таких центров с помощью метода Грама-Шмидта серия экспериментальных спектров была преобразована в серию ортогональных спектров и было показано, что экспериментальные спектры представляют собой наложение двух независимых спектров, один из которых преобладает в тонких слоях ЭЖК, а другой - в более толстых. Поглощающие центры, ответственные за эти спектры можно сопоставить с мономерами и димерами данных жидкостей. Дальнейшие расчеты позволили получить зависимость от расстояния до подложки концентрации димеров и мономеров. Дополнительные эксперименты по исследованию зависимости диэлектрической проницаемости прослоек нитробензола от их толщины также показали, что вблизи от поверхности подложки концентрируются димеры с антипараллельной ориентацией жестких дипольных моментов.
Следует отметить, что предложенные теоретические модели ЭЖК фазы недостаточно адекватно описывают механизм ее возникновения и физические свойства.
Термодинамическая модель ЭЖК фазы в своем настоящем состоянии недостаточно разработана, не оснащена математическим аппаратом и поэтому не позволяет проводить количественных расчетов. В этой и других моделях не рассматривается роль поверхностного близкодействия, определяющегося числом и характером ”активных центров”, находящихся непосредственно на поверхности твердой подложки.
Далее в этих моделях совершенно не учитывается роль второй, смежной фазы, ограничивающей ЭЖК слой с внешней стороной.
Отдельно следует отметить, что при переходе от диэлектрических подложек к металлическим равновесная толщина ЭЖК фаз значительно возрастает, что, по-видимому, связано с возрастанием в этом случае запаздывающих Ван-дер-Вальсовых сил. Укажем также, что в этих моделях игнорируется пространственная неоднородность ЭЖК-фаз, отмеченная в спектральных исследованиях.
В рассмотренных моделях не говорилось о реологических свойствах ЭЖК. Поэтому рассмотрим эти свойства на примере исследования тонких неоднородных жидких прослоек на капиллярном вискозиметре.
1.2 Капиллярный вискозиметр для исследования тонких неоднородных жидких прослоек
В статье "Капиллярный вискозиметр для исследования тонких неоднородных жидких прослоек" Алтоиз Б.А., Поповский Ю.М., описана конструкция капиллярного вискозиметра для исследования реологических свойств тонких (20 ¸ 50 мкм) прослоек жидкости. Опыты с рядом органических немезогенных жидкостей свидетельствуют о пространственной неоднородности таких прослоек – наличия в них пристенного структурированного слоя, толщина которого с течением уменьшается. В рамках модели «срезаемого течением жесткого слоя» проведена оценка этой толщины.
Из оптических исследований прослоек ряда немезогенных органических жидкостей алифатического ряда [1,2] установлено, что на металлической подложке эти жидкости образуют структурированные эпитропные жидкокристаллические (ЭЖК) слои, толщина которых может достигать ds ~5 ¸ 10 мкм. Вследствие анизотропии этих слоев их вязкость должна отличаться от вязкости объемной жидкости. Очевидно, что реологические исследования ЭЖК слоев весьма актуальны для решения теоретических и прикладных задач, связанных с эксплуатацией узлов трения.
Авторами в ранних исследованиях слоев, образованных на диэлектрических подложках, неоднократно отмечалось возрастание вязкости, однако, в этих работах малые толщины слоев (ds ~ 0,01 ¸ 0,1 мкм) затрудняли проведение вискозиметрических измерений и заставляли исследователей применять изощренную экспериментальную технику [3] или ограничиваться косвенной оценкой вязкости пристенных слоев [4]. Для изучения вязкости ЭЖК слоев, образованных на металлических поверхностях, вследствие их больших толщин можно при соответствующей модификации использовать более грубые традиционные методики, принятые в реологии.
1.2.1 Устройство капиллярного вискозиметра. С этой целью нами был сконструирован капиллярный вискозиметр со щелевым зазором переменной толщины, схема которого показана на рис.1.
![]() |
Рис.1. Схема капиллярного вискозиметра для исследования реологических свойств тонких прослоек жидкости
Щелевой зазор создавался между двумя плоско полированными стальными пластинами 1, которые с помощью микрометрического устройства 2 могли перемещаться и фиксироваться на заданном расстоянии. Полированные, обработанные по 14-му классу точности, стальные пластины закреплялись на латунных основаниях 3, в которых размещались установочные болты 4, позволявшие в случае необходимости устранять клиновидность щелевого зазора. Герметизация зазора осуществлялась боковыми и верхними резиновыми прокладками 5, покрытыми тонкой тефлоновой пленкой.
![]() |
Рис.2.Схема создания перепада давлений в капиллярном вискозиметре
Для определения объема жидкости, протекающей через щелевой зазор, использовалась (рис.2) калиброванная измерительная трубка 1, высота столба жидкости в которой фиксировалась катетометром К с точностью 0,01 мм. Для создания перепада давлений вискозиметр через балластную трубку 2 подсоединялся к ресиверу 3 с манометрическим устройством 4. При измерении давлений P ~ 102 ¸ 104 Па использовался водяной, а для больших давлений (до 20 КП) – образцовый механический манометр. Для уменьшения объема пленки жидкости, остающейся за опускающимся мениском, диаметры измерительной трубки выбирались небольшими (~ 1 мм). Поверхности пластин, образующих зазор, и другие металлические детали, входящие в контакт с исследуемой жидкостью, перед сборкой вискозиметра для очистки от органических загрязнений промывались растворителем и просушивались.
После установки заданной величины зазора D он герметизировался. Изотермичность и малость градиентов температур ( DT/l £50 K/м) контролировались системой термопар, а постоянство температуры ( DТ £ 0,5 К) в рабочей ячейке обеспечивалось воздушным термостатом. Для устранения ошибки, связанной с возможным шунтированием потока жидкости, ее протечкой через неплотности резиновых прокладок, предварительно проводился контрольный опыт, при котором через вискозиметр прокачивался воздух и определялась объемная скорость его протекания. Рассчитанные в таких опытах значения вязкости воздуха сравнивались с табличными данными, и в дальнейших измерениях вводилась соответствующая поправка. При зазорах D ³ 50 мкм поправка не превышала нескольких процентов, а при меньших зазорах становилась значительной.
После заполнения вискозиметра исследуемой жидкостью в ресивере создавалось разрежение, и при различных фиксированных перепадах давлений DP в диапазоне DP = 102 ¸ 104 Па проводились измерения интервала времени t протекания через прибор заданного объема жидкости Q . Разброс отсчетов времени в пределах серии измерений был ~ 1%, однако, воспроизводимость последовательных серий достигала 10%, что связано, по-видимому, с возможным попаданием в зазор отдельных частиц твердых примесей. Расход жидкости в единицу времени определял экспериментальную объемную скорость течения qэ = Q/ t (м3 /с), где Q – объем протекшей через капиллярный зазор жидкости за время t, и среднюю (по сечению зазора S) линейную скорость <vэ > = qэ /S . Режимы течения во всех проведенных опытах были ламинарными (Re £ 1). «Объемная» вязкость исследовавшихся жидкостей измерялась стандартными вискозиметрами и сравнивалась с литературными данными.
1.2.2 Экспериментальные результаты. В работе авторами были проведены измерения вязкости тонких (D = 30 ¸ 50 мкм) прослоек индивидуальных органических жидкостей и углеводородных технических смесей, образованных между металлическими пластинами. В случае ламинарного потока средняя скорость <vп > течения ньютоновской жидкости через щелевой зазор толщиной D (рис.3) определяется формулой:
, (2.1)
где p= DP/l (Па/м) – градиент давления по длине зазора l , а m0 (Па·с) – величина коэффициента вязкости жидкости.
Существование на боковых поверхностях щелевого зазора пристенного слоя с иными реологическими характеристиками, чем объемная жидкость, было установлено в опытах с описанным вискозиметром при анализе характера возрастания скорости течения жидкости <vэ > с повышением перепада давления, и сравнением таких зависимостей с теоретическими, рассчитываемыми по (1). Для исследуемых жидкостей при зазорах заведомо больших чем 2ds , т.е. в отсутствие перекрытия пристенных слоев, в области малых перепадов давления наблюдается уменьшение вязкости с ростом давления и поэтому нелинейное возрастание скорости течения жидкости, а при давлениях (0.5 ¸ 1) 104 Па вязкость становится равной вязкости объемной жидкости.
![]() |
Рис.3. Геометрия щелевого зазора вискозиметра и схема течения в нем жидкости с приповерхностным «жестким» слоем
Как пример авторы приведят результаты (рис.4) опытов с технической углеводородной жидкостью МРХ-30. Для тонких (D ~ 30 ¸ 40 мкм) прослоек этого масла при

Рис.4. Зависимость отношения <vэ >/ p – относительной (по отношению к градиенту давления p) экспериментальной средней скорости течения масла МРХ-30 через щелевые зазоры вискозиметра от градиента давления p . Величина зазоров: D1 = 39,7 мкм (·), D2 = 35 мкм (О) и D3 = 30 мкм ( ). Т = 294 К. Сплошные линии – аппроксимация зависимостью (2)
небольшой скорости течения зависимость (1) не выполняется – величина <vэ > возрастает не пропорционально градиенту давления p . Экспериментальные результаты трех серий вискозиметрических опытов (при температуре Т = 294 К) с истечением этой жидкости через зазоры трех фиксированных толщин (D 1 = 39,7 мкм, D 2 = 35 мкм и D 3 = 30 мкм) представлены на рис.4 в виде зависимости относительной (по отношению к градиенту давления p ) скорости течения – величины (<vэ >/p , м2 /Па×с) от p . Экспериментальные данные аппроксимированы (сплошная линия) функцией:
, (2)
где u ¥ , u0 и p ¥ – параметры аппроксимирующей зависимости (приведены в табл.1).
Таблица.1
Параметры аппроксимации (2) экспериментальной зависимости относительной (по отношению к градиенту давления p ) средней скорости <vэ >/p = f( p) течения масла МРХ-30 от градиента давления p в щелевых зазорах вискозиметра трех фиксированных толщин D . Т = 294 К.
Толщина зазора D, мкм |
Параметры аппроксимации | ||
u¥,×10–9, м2/Па×с |
u0 ×10–9, м2/Па×с |
p¥×105, Па/м |
|
| 39,7 | 13,4 | 4,41 | 1,81 |
| 35 | 10,4 | 3,74 | 2,02 |
| 31 | 8,3 | 3,24 | 4,04 |
Из рис.4 видно, что в области малых градиентов давления p < 0,5 МПа/м величина отношения <vэ >/p с увеличением давления растет и лишь при градиентах ( p > 0,5 МПа/м) c повышением давления практически не изменяется. При этом экспериментальная скорость истечения жидкости <vэ > меньше расчетной <vп > , а при больших перепадах давления становится равной ей.
1.2.3 Обсуждение результатов и модель «жесткого, срезаемого» пристенного слоя.
Наблюдаемый характер зависимости <vэ >/p = f(p) объясняется существованием в прослойке пристенных слоев толщиной 2ds . Их наличие приводит к тому, что реальное проходное сечение зазора s , по которому протекает жидкость, меньше, чем геометрическое S=bD (рис.3). С ростом приложенного давления и соответственно скорости течения равновесная толщина слоя на каждой из подложек уменьшается и, начиная с какого–то значительного перепада давления, проходное сечение зазора совпадает с геометрическим.
Поэтому для расчета параметров слоя рассмотрим его простейшую реологическую модель: на поверхностях обеих пластин, ограничивающих зазор, существует неподвижный (гидродинамически «жесткий») слой, периферийная часть которого “срезается” течением (рис.3). При постепенном увеличении скорости течения (за счет повышения перепада давления D P ) толщина пристенного слоя убывает вплоть до нуля.
В такой модели, в соответствии с (1), рассматриваемая величина отношения <vэ >/p может быть представлена в виде:
, (3)
что позволяет по полученным экспериментальным зависимостям <vэ >/p = f(p) рассчитать как начальную толщину слоя d0 s (ее значение при p = 0), так и ее текущее значение – величину ds в функции градиента давления или возрастающей с ним скорости течения жидкости <vэ > .
Рассчитанные таким образом значения толщины ds «жесткого, срезаемого» слоя в зависимости от средней линейной скорости <vэ > течения жидкости в данном зазоре для каждой из трех серий экспериментов приведены на рис.5. В принятой модели пристенного слоя для количественного описания явления его «срезания» течением зависимость ds = f(<vэ >) аппроксимировалась функцией:
. (4)
Здесь d0 s (мкм) – толщина пристенного слоя при отсутствии течения, (<vэ >) – средняя (по сечению зазора) линейная скорость течения жидкости, v0 (мм/с) – параметр, характеризующий «жесткость» слоя, его способность к «срезанию» течением. Значения параметров d0 s и v0 аппроксимирующей зависимости (4) приведены в табл.2.

Рис.5. Зависимость толщины пристенного слоя ds масла МРХ-30 (Т = 394 К) на стальной подложке в модели «жесткого, срезаемого течением слоя» от средней (по сечению) линейной скорости течения жидкости <vэ > в зазоре. Обозначения те же, что и на рис.4. Сплошная линия – аппроксимация D1 = 39,7 мкм (·) функцией (4)
Таблица.2
Параметры МОДели |
Толщина зазора D , мкм | ||
| 39,7 | 35,0 | 31,0 | |
| d 0 s , мкм | 3.4 | 3.2 | 3.1 |
| v 0, мм/с | 2.2 | 1.9 | 2.6 |
Реологические характеристики пристенного слоя масла МРХ-30 (Т = 294 К) на поверхности стали в модели гидродинамически «жесткого, срезаемого слоя»
Как следует из рис.5 и табл.2, при отсутствии течения пристенный слой масла МРХ-30 на стальной подложке имеет толщину d0 s » 3 мкм. «Прочность» слоя на «срезание» сравнительно невелика – уже при скоростях течения <vэ > = v0 ~ 2 мм/с толщина слоя ds ~ 1 мкм, а при <vэ > ~ 10 мм/с ничтожно мала. Рассчитанная величина d0 s близка, но несколько меньше значений равновесной толщины ЭЖК слоя (d0 s » 7 ¸ 9 мкм) алифатических углеводородов и масел, полученных в оптических измерениях [2].
Расхождение с результатами таких измерений по толщине d0 s можно объяснить несовершенством модели слоя, принятой для расчетов этого его параметра. В частности, не в пользу модели гидродинамически неподвижного слоя, о его «не жесткости» свидетельствует то, что даже при наименьших зазорах в наших измерениях не было отмечено предельного напряжения сдвига.
По-видимому, модель ЭЖК слоя, участвующего в течении жидкости, более адекватно может описать его реологические свойства. Для развития такой модели представляется необходимым одновременно с вискозиметрическим опытом проведение независимого измерения (оптическими или иными способами) структурных характеристик (толщины, однородности и др.) ЭЖК слоя прослойки при ее течении.
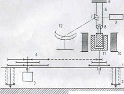
2 Исследование особенности граничного трения ротационным вискозиметром
В настоящей работе в исследованиях был использован разработанный и сконструированный в лаборатории эпитропных жидких кристаллов Одесского Национального Университета ротационный вискозиметр, предназначенный для исследования Куэтовского течения в тонких (5 ¸ 50 мкм) однородных и неоднородных (с приповерхностными структурированными слоями) жидких прослойках.
Для прямых измерений вязкости тонких прослоек смазочных жидкостей между стальными подложками в приборе применялась в качестве рабочей цилиндрической пары вискозиметра стандартный узел топливной аппаратуры - распылитель форсунки, что позволило исследовать вязкость прослоек масла и топлива толщиной до 6 мкм. Схема установки представлена на рис.1. Измерения на приборе проводились методом задания постоянной скорости W (от 3 до 200 об/мин) вращения наружного цилиндра - корпуса форсунки (Rн
~ 3×10-3
м). Набор штоков форсунки - сменных внутренних цилиндров различных диаметров позволял изменять толщину прослойки жидкости до 20 мкм. Пределы измерения коэффициента вязкости составляли h= 5×10-3
¸1 Па×сек, изменения скорости деформации - e = 50 ¸ 4×103
с-1
. Измерителем крутящего момента в вискозиметре является бифилярный подвес 5 (рис.1) с регулируемой чувствительностью. Вращение наружного цилиндра в точно обработанной цилиндрической поверхности корпуса 10, играющего роль подшипника скольжения, обеспечивается реверсивным асинхронным двигателем 3 с редуктором и ременными передачами. Соосность цилиндрической пары и натяжение подвеса обеспечивается системой грузов (калиброванных по массе дисков), располагаемых на цанговом держателе внутреннего цилиндра - штока форсунки. Число устанавливаемых дисков определяет чувствительность бифилярного подвеса к крутящему моменту трения. Прецизионная регулировка чувствительности измерителя крутящего момента обеспечивается изменением длины нитей подвеса. Поверхности деталей, входящие в контакт с исследуемой жидкостью, перед сборкой вискозиметра очищались от механических и органических загрязнений путем промывки растворителями (бензин высокой очистки и эфир) и просушивались. Исследуемые жидкости отстаивались и фильтровались. После заполнения вискозиметра исследуемой жидкостью при различных фиксированных угловых скоростях вращения внешнего цилиндра (в диапазоне = 102
¸ 104
рад/с) проводились измерения угла поворота j внутреннего цилиндра. Разброс отсчетов угла в пределах серии измерений был ~ 1%, однако, воспроизводимость последовательных серий достигала 10%, что связано, по-видимому, с возможным попаданием в зазор отдельных частиц твердых примесей. Режимы течения во всех проведенных опытах были ламинарными (Re<<1). «Объемная» вязкость исследовавшихся жидкостей измерялась стандартными капиллярными вискозиметрами. 
Рис.1.Схема ротационного вискозиметра.
Исследование было посвящено исследованию масла САЕ 30. Масло отработало 950 часов в циркуляционной системе двигателя 64А25/34. Масло было исследовано и установлено, что на стальной поверхности образуется сравнительно толстый ЭЖК слой. Результаты измерения вязкости приведены на Рис.2. На последнем этапе исследований в масло был введён 1 % алиинновой кислоты, результаты измерения вязкости приведены Рис.4.Толщина слоя между цилиндрами составляла D=13.1мкм.

Рис.2. Зависимость вязкости от средней скорости течения масла: САЕ-30 между цилиндрами в ротационном вискозиметре.
На рис 2 мы наблюдаем ,что вязкость препарата падает со скоростью и примерно при величине скорости 5 мм/с становится равной вязкости изотропной жидкости, что свидетельствует о структурированности приповерхностного слоя.
По аналогии с приведенной теоретической моделью обработки данных в работе с капиллярным вискозиметром.
Была рассмотрена простейшая гидродинамическая модель "жесткого срезаемого слоя".
Т.е вязкость приграничного слоя равна бесконечности и эти слои срезаются.
Введем 51=2, 54=1, 53= r

Модель:
В полярных координатах:
х = rcos ω t y = r sin ω t
ω = v / r
Найдем компоненты скорости
Vx = -r ω sin ω t =- ω y
Vy = r ω cos ω t = ω x
Напряжение сдвига
Sxy
=η
, подставим
![]()
для у=0
![]()
![]()
![]()
найдем момент сил
![]()
![]()
![]()
![]()

![]()
![]()

Получим для момента
![]()
![]()
![]()
![]()
![]()
![]()

![]()
-толщина приповерхностного слоя.
Используя эту модель можем построить графики зависимость толщины приповерхностного слоя от скорости течения масла.

Рис.3. Зависимость толщины приповерхностного слоя от скорости течения препарата.
На Рис.3 мы видим, что со скоростью приповерхностный слой разрушается и при скорости примерно 5 мм/с он фактически разрушается полностью.
По аналогии проведем расчеты для масла САЕ-30 с добавкой 1% олеиновой кислоты, получим

Рис .4 Зависимость вязкости от средней скорости течения масла САЕ-30 с добавкой ПАВ между цилиндрами в ротационном вискозиметре.
Применим модель "жесткого слоя", получим:
Рис.5. Зависимость толщины приповерхностного слоя от скорости течения препарата с добавкой ПАВ.
На Рис4 мы видим, что величина коэффициента вязкости масла уменьшается с ростом скорости сдвиговой деформации более плавно, что связано, с повышение прочности структуры слоя при введении ПАВ. Заметим, что скорость, при которой величина вязкости препарата становится равной вязкости изотропной жидкости, т.е. соответствующая скорости полного разрушения структурированной прослойки более чем вдвое выше, чем для масла САЕ без добавления ПАВ (рис. 2).
Зависимость на Рис 5 говорит о повышении прочности структуры слоя при введении в масло ПАВ.
Механизм действия ПАВ можно представить следующим образом. Молекулы олеиновой кислоты, концентрируясь на межфазной границе раздела масло-металл, образуют мономолекулярный гомеотропно ориентационно упорядоченный слой. Этот слой, являясь ориентантом для эпитропной ЖК фазы масла, способствует повышению дальнего ориентационного параметра порядка ЭЖК — одного из параметров, определяющего «гидродинамическую прочность» структурированного слоя.
Выводы
1.Из ранее проведенных исследований ЭЖК слоев, следует ,что такие структурно чувствительные свойства этих объектов как их вязкость ,толщина, и зависимость этих свойств от скорости течение, температуре влияния ПАВ не достаточно изучена.
2.Для установление свойств собственных эпитропных жидкокристаллических слоев необходимо использование гидродинамических моделей.
3.Проведены исследования реологических свойств моторного масла САЕ-30, на ротационном вискозиметре, при различных скоростях и температурах.
4.В рамках модели ЭЖК слоя «жестко срезаемый слой» рассчитали толщину ЭЖК слоя САЕ-30 и ее изменение со скоростью течение. С ростом скорости течения ЭЖК слой утончается и при скорости 5 мм/с этот слой разрушается .Получены зависимости. Приведены параметры толщины со скоростью и приведены апраксемирующие параметры.
Получены зависимости корелирующие с результатами полученных для подобного смазывающего материала в щелевом вискозиметре.
В вискозиметре исследовалось масло лигированое ПАВ, установлено влияние такой присадки на структурные свойства.
Введение в качестве ПАВ олеиновой кислоты 1% ,приводит к упрочнению ЭЖК слоя: повышению его толщины и разрушается при скорости 10мм/с.
Такое влияние ПАВ может быть практически применено для уменьшения износа и научного обоснованного подбора масла.
СПИСОК ИСПОЛЬЗОВАННОЙ ЛИТЕРАТУРЫ
1. Б.А.Алтоиз, В.Т.Дейнега. Влияние граничного слоя жидкости на эффективность теплообмена в системах с каналами малого сечения. Научно-технический сборник «Тепловые режимы и охлаждение радиоэлектронной аппаратуры». Одесса: Вып.1.- 2001.- С.15-18.
2. Алтоиз Б.А., Поповский Ю.М. Капиллярный вискозиметр для исследования тонкихнеоднородных жидких прослоек Вюпик Одеськ. держ. ун-ту.- 2001. 1.6, вип.З. Фп. мат. науки-С. 191-198.
3. Алтоиз Б.А., Поповский Ю.М. Физика приповерхностных слоев. - Одесса: Астропринт, 1995.- 153 с;
4. Ландау Л.Д., Лившиц Е.М. Гидродинамика.-М.: Наука, 1986.-617с.
5. Царгородская А.Б., Алтоиз Б.А., Поповский А.Ю. Исследованиеориентациошюйслоевнитробензола, образованных на металлической эролиспершыхсистем. К.- Одеса, В ища школа, -1998-
6. Б.А.Алтоиз, А.Ю.Поповский. Метод клиновидной кюветы в исследованиях ориента-ционно упорядоченных пристенных слоев, сформированных вблизи непрозрачных подложек // Зб1рник наукових праць «Вюник Одеського державного ушверситету". -1999.-Т.4.-Вип.4.-С.22-26
7. Поповский Ю.М.. Берникова Н.Б. Исследование оптической анизотропии граничных слоев полидиметилсилоксилана и его смесей стетрадеканом. // Вопросы физики формообразования и фазовых превращений. - Калинин: КГУ. - 1983. - С. 25-32
8. .Зорин З.М., Чураев Н.В.. Новикова А.В. Вязкость полимолекулярных пленок воды и декана на поверхности кварца // Вопросы физикиформообразования и фазовых превращений. -Тула, 1993. - Вып. 3. -С. 42-49.
9. Алтоиз Б.А., Поповский Ю.М. Физика приповерхностных слоев. -Одесса: Астропринт, 1995. -153 с.
10. Алтоиз Б.А., Поповский Ю.М. Капиллярный вискозиметр для исследования тонких неоднородных жидких прослоек // BicHHK Одеськ. нашон. ун-ту. -2001. -Т. 6. - Вип. 3. Ф1з.-мат. науки. - С. 191-198.
11. Овчинников П.Ф. Виброреология. - Киев: Hay ко ва думка, 1983. -271 с.
12. АлтоизБ.А., Поповский Ю.М. Капиллярный вискозиметр для исследования тонких неаднородныхжидких прослоек // Весник Одеськ. нацон. ун-ту. 2001. Т.6. Вип.З.
13. Алтоиз Б.А., Поповский А.Ю. Метод клиновидной кюветы в исследованиях ориентационно упорядоченных пристенных слоев сформированных вблизи непрозрачных подложек // Вісник Одеськ. держ. ун–ту.– 1999.– Т. 4., вип.3. Фіз.–мат. науки.– С. 22–26.
14. Поповский Ю.М., Берникова Н.Б. Исследование оптической анизотропии граничных слоев полидиметилсилоксилана и его смесей с тетрадеканом. // Вопросы физики формообразования и фазовых превращений.– Калинин: КГУ. – 1983. – С.25–32.
15. Зорин З.М., Чураев Н.В., Новикова А.В. Вязкость полимолекулярных пленок воды и декана на поверхности кварца // Вопросы физики формообразования и фазовых превращений. – Тула:– 1993. – Вып.3. – С.42–49.
16. Алтоиз Б.А., Поповский Ю.М. Физика приповерхностных слоев. – Одесса: Астропринт, 1995.–
17. Р.Фейман., Р.Лейтон., М. Сэндс. Фейнмановские лекции по физики. // Физика сплошных сред. - Москва: Мир, 1977-С253-257


