| Скачать .docx |
Реферат: Энергетическая освещенность
Министерство образования Российской Федерации
Волгоградский государственный технический университет
Кафедра «Техническая эксплуатация и ремонт автомобилей»
СЕМЕСТРОВАЯ РАБОТА
по дисциплине «Основы научных исследований»
Тема: «Энергетическая освещенность»
Вариант: 74
Студент: Литвинов Александр Владимирович
Группа: АТ-312
Направление: 5521 «Эксплуатация транспортных средств»
Преподаватель: Зотов Николай Михайлович
Дата сдачи на проверку: ___________
Роспись студента: ___________
Волгоград 2003
СОДЕРЖАНИЕ:
1. Характеристика энергетической освещенности ….…………………. 3
2. Способы, датчики и приборы, используемые для измерения энергетической освещенности и их принципы работы……….……..…………6
3. Примеры измерения энергетической освещенности при производстве, испытании, диагностировании, техническом обслуживании и ремонте автомобилей или их элементов ….…..……………..……………12
Список литературы…………………………………………………….....13
1. Характеристика энергетической освещенности
До относительно недавнего времени (начало XX века) глаз человека был единственным известным приемником излучения. Поэтому мера излучения определялась только реакцией глаза, т. е. световым потоком.
Однако в настоящее время положение существенно изменилось. Хорошо известны и во многих случаях подробно изучены излучения в ультрафиолетовой и в инфракрасной областях спектра; часто говорят также о рентгеновском и гамма-излучениях, энергия которых в большинстве случаев относительно мала. В связи с этим появилась потребность в оценке общей мощности излучения не только со зрительной (визуальной), но и с физической точки зрения, и наряду со световым потоком все большую роль начинает играть поток излучения, который иногда называют также лучистым потоком. Под потоком излучения (лучистым потоком) понимается общая мощность, передаваемая электромагнитными колебаниями, независимо от длины волны или частоты излучений, входящих в состав рассматриваемого потока. Поток принято обозначать буквой Ф и измерять в ваттах.
Как естественное следствие того, что поток излучения становится одной из основ радиационной энергетики, возникает потребность во всех видах его производных, применяемых для характеристики разных случаев его пространственного распределения.
Угловая плотность лучистого потока называется силой излучения и определяется выражением:

,
где dФ – лучистый поток, распространяющийся в данном направлении внутри элементарного телесного угла dΩ, содержащего это направление. Телесный угол есть мера множества прилегающих друг к другу направлений в пространстве (рис. 1). Он измеряется площадью, которую на поверхности сферы единичного радиуса вырезает коническая поверхность, содержащая все эти направления и имеющая вершину в центре сферы, или, что то же самое, отношением площади, вырезаемой на поверхности сферы произвольного радиуса к квадрату радиуса:
,
где
– вырезаемая конической поверхностью площадь; l – радиус сферы.

В данной работе рассматривается энергетическая освещенность
(облученность), характеризующая уровень облучения поверхности, на которую падает поток излучения, и распределение потока вдоль поверхности (рис. 2). Таким образом, это величина, определяющая поверхностную плотность потока:
,
где dA – элемент облучаемой поверхности; dФ – падающий на этот элемент поток.
Очевидно, что если поток распределяется на поверхности равномерно, то:
,
где Ф – поток, падающий на всю поверхность.
Единица измерения облученности – ватт на квадратный метр.
Для примера облученность солнечной энергией при высоком Солнце и чистой атмосфере (у земной поверхности длины волн λ = 0,3 - 4 мкм) в Белоруссии составляет для перпендикулярной лучам площадки 1 кВт/м2
, а для горизонтальной 0,8 кВт/м2
. Значение облученности может находиться в очень широких пределах.
Если поверхность dA облучается точечным источником (любой источник может считаться точечным при достаточно больших расстояниях по сравнению с размерами источников) и расположена под углом θ к оси телесного угла dΩ, то для облученности получим формулу (рис. 3):
.
Если поверхность нормальна к направлению распространения излучения, то:
.
Эту зависимость часто называют законом обратных квадратов.
Для характеристики общей насыщенности пространства энергией излучения вводится понятие пространственной облученности .
Для раскрытия понятия пространственной облученности введем понятие лучистости. Лучистостью B называется сила излучения с единицы площади проекции испускающей поверхности на плоскость, перпендикулярную к направлению излучения. Лучистость определяет поверхностно-угловое распределение лучистого потока в пространстве.

Пусть точка О находится в пространстве, где излучение распространяется во всевозможных направлениях (рис. 4). Опишем вокруг данной точки малую сферу с экваториальным сечением, площадь которого равна единице. Допустим, что элемент пространства, окружающего сферу, видимый из точки О под телесным углом имеет лучистость B. Лучистый поток через сферу, создаваемый этим элементом пространства, равен:
,
а полный лучистый поток через рассматриваемую «единичную» сферу от всего пространства определится интегрированием этого выражения в пределах полного телесного угла 4π:
.
Лучистый поток, падающий со всех сторон на сферу с экваториальным сечением, равным единице площади, и называют пространственной облученностью E0 . Таким образом, пространственная облученность:
.
Если лучистость В постоянна по всему пространству, то:
.
В случае, когда излучение падает в данную точку пространства только из полусферы, обладающей постоянной лучистостью:
.
Размерность пространственной облученности одинакова с размерностью обычной облученности на плоскости: Вт/м2 .
Насыщенность пространства энергией излучения может быть определена еще при помощи среднесферической облученности E4π , которая определяется выражением:
![]()
и представляет собой среднюю облученность по поверхности элементарно малой сферы с центром в данной точке пространства.
Необходимо подчеркнуть, что среднесферическая облученность представляет собой чисто расчетное понятие, тогда как облученность является физической реальностью, поддающейся непосредственному измерению. Наконец, очень важно то, что пространственная облученность – это функция точки, а облученность на плоскости – функция точки и направления.
2. Способы, датчики и приборы, используемые для измерения
энергетической освещенности и их принципы работы
Способы. Выделяют 3 основных способа измерения энергетической освещенности:
1. радиометрический способ ;
Радиометрический способ основан на простом принципе: при поглощении тепловым приемником потока излучения происходит нагревание вещества. Ввиду этого измерение энергетической освещенности сводится к измерению температуры. Степень повышения температуры определяется в свою очередь путем измерения того или иного эффекта, зависящего от температуры. К ним относится тепловое расширение вещества, изменение его оптического сопротивления, испарение и т. д. Чаще всего эффекты линейно зависят от энергетической освещенности.
2. фотоэлектрический способ ;
Фотоэлектрический способ основан на принципе фотоэффекта. Внешний фотоэффект наблюдается у металлов и некоторых полупроводников. При падении излучения на поверхность какая-то доля падающего потока поглощается. Энергия поглощенного фотона передается электрону внутри металла; его кинетическая энергия увеличивается. Если она превысит работу выхода, необходимую для преодоления потенциального барьера, то электрон вырывается из металла. Энергия выходящих электронов линейно зависит от частоты падающего излучения, а их число – от числа падающих квантов.
3. способ измерения энергетической освещенности через световые величины
При измерении энергетических величин приемник должен просуммировать излучения всех длин волн, испускаемые источником. Иначе говоря, он должен быть неселективным в пределах всего диапазона, излучаемого источником. Трудно обеспечить с достаточной точностью неселективность в очень широком диапазоне длин волн. Все измерения обычно производят в атмосфере, которая имеет значительное поглощение в различных участках ультрафиолетовой и инфракрасной областей. Дополнительное осложнение состоит в том, что это поглощение зависит от состояния атмосферы и, следовательно, меняется от случая к случаю. Если учесть все трудности, связанные с измерениями в широком спектральном диапазоне, в некоторых случаях может оказаться, что определение энергетических величин, в частности энергетической освещенности, через световые выгодно как с точки зрения точности, так и по соображениям трудоемкости.
Датчики. Датчиками при измерении энергетической освещенности являются приемники излучения (детекторы). До настоящего времени разработано множество типов приемников излучения. Они отличаются друг от друга механизмом действия, чувствительностью, точностью, селективностью к длине волны излучения, степенью сложности устройства. Для различных экспериментов удобны различные приемники. Широкое распространение получили тепловые приемники – приемники, в которых превращенное излучение превращается в тепло и измеряется вызванное этим изменение температуры. Они особенно удобны для измерений в инфракрасной области спектра. Тепловые приемники с некоторой оговоркой можно считать неселективным.
Виды тепловых приемников:
1. термоэлементы;
2. термостолбики;
3. болометры;
4. приемники, основанные на термическом расширении;
5. терморезисторы.

Термоэлемент представляет собой термопару, один из спаев которой нагревается падающим излучением (рис. 5). При наличии излучения спай нагревается, поэтому в цепи возникает разность потенциалов ΔV. Как правило, для термопары используются проволочки, сильно отличающиеся по своим электрическим свойствам. Для получения высокой чувствительности необходимо устранить все бесполезные потери тепла. С этой целью термопару
помещают в откаченные сосуды, окна которых прозрачны для исследуемой радиации.
Термостолбики представляют собой последовательно соединенные термопары.
Болометры в основном используются в инфракрасной области спектра. Действие их основано на изменении сопротивления тонкого проводящего или полупроводящего слоя при изменении его температуры.
В качестве приемника излучения, основанного на термическом расширении, часто применяют две тонкие полоски твердых веществ, обладающие разными коэффициентами теплового расширения и скрепленные вместе. При нагревании этот двухслойный приемник изгибается, а измерение изгиба не вызывает затруднений.
Терморизисторы – термочувствительные сопротивления из окислов металлов (Ni, Co, Mn).
Широко распространены и применяются фотоэлементы .
Устройство фотоэлемента несложно. Он состоит из вакуумной колбы, на одну из стенок которой нанесен светочувствительный слой K (фотокатод). Внутри колбы помещен анод A. До облучения фотокатода тока в цепи нет, он появляется при облучении. При неизменном значении потока Ф ток i зависит от разности потенциалов между анодом и катодом.
По мере ее увеличения наступает насыщение. Значение энергетической освещенности измеряют обычно в условиях насыщения. Это проще. Величина тока измеряется обычными методами и дает надежную информацию о величине энергетической освещенности. Наличие порога фотоэффекта затрудняет создание фотоэлементов для инфракрасной области спектра.
Приборы.
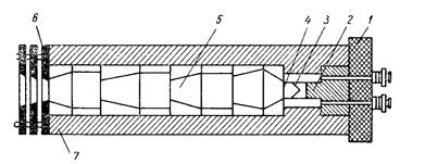
Наиболее широкое применение получили радиометры
. Радиометр, изображенный на рисунке 7, работает по принципу замещения лучистого нагрева электрическим. Приемная часть радиометра – камера 3 в ви
де конической полости из медной фольги; по ее внутренней поверхности плотно уложена манганиновая нагревательная
обмотка. Камера подвешена внутри массивного латунного корпуса 7 с помощью двенадцати ленточных термоэлементов, горячие спаи которых приклеены к наружной стенке камеры, а холодные прикреплены к внутренней стенке корпуса. Внутренняя поверхность камеры покрыта камфарной чернью. Корпус радиометра, никелированный снаружи и вычерненный внутри, имеет внутренние и наружные диафрагмы 5 и 6, определяющие «угол зрения» прибора и предохраняющие его от паразитного нагрева. Коэффициент поглощения прибора – 0,99. Измерение термо-ЭДС осуществляется потенциометром, снабженным гальваническим усилителем.
При измерениях с помощью термоэлектрических приемников энергетическая освещенность E (в идеальном случае полного замещения мощности падающего излучения мощностью электрического тока) вычисляется по формуле:
,
где I – сила тока в нагревательном элементе; U – падение напряжения на его проводящих концах; A – площадь приемной поверхности; α – коэффициент поглощения черни.
Значения I и U измеряются непосредственно при определении E. Площадь A определяется по размерам измерительной диафрагмы, установленной вблизи приемной поверхности.

Схема современного радиометра представлена на рисунке 8. Фотоприемное устройство представляет собой преобразователь излучения в электрический сигнал. Оно состоит из нескольких фотоприемников. Сигналы с ФПУ подаются на предварительный усилитель, где происходит одновременно с усилением сигналов и их масштабирование. Усиленные сигналы постоянного тока подаются на входы АЦП для преобразования в цифровую форму. Цифровые сигналы с выходов АЦП подаются в микропроцессор для дальнейшей обработки.

Программное обеспечение позволяет представлять результаты измерений в необходимой форме для вывода их на внешний дисплей и на внешний персональный компьютер.
В последнее время измерение величины энергетической освещенности носит не только научный характер в таких областях как физика, астрономия, биология и т. д., но находит широкое применение для контроля условий труда рабочих, в музейной практике для защиты от обесцвечивания и порчи материалов музейных экспонатов, архивных материалов, редких книг, в метеорологии, в сельском хозяйстве и т. д.
3. Примеры измерения энергетической освещенности при
производстве, испытании, диагностировании, техническом
обслуживании и ремонте автомобилей или их элементов
Электрооборудование автомобиля содержит большое число различных элементов: генератор, многочисленные реле, АКБ, стартер, распределитель, катушка зажигания, свечи, пучки проводов и т. д. Электромагнитные волны, исходящие от электроприборов автомобиля пагубно сказывается на состоянии здоровья, как водителя, так и пассажиров. Велико излучение и от самого двигателя внутреннего сгорания при переходных процессах (холостой ход, резкое увеличение оборотов до 4500 об/мин). Поэтому при производстве, испытании и диагностировании автомобиля необходимо измерять значение облученности, и следить, чтобы оно находилось в пределах нормы.
Значение облученности измеряют при производстве, испытании, диагностировании, техническом обслуживании инфракрасного датчика-переключателя, в основу принципа работы которого, заложена реакция на тепловое излучение объекта, попадающего в зону его действия. В результате этой реакции переключатель замыкает контакты различных приборов (освещение, сирена и т. д.), что делает прибор отличным средством сигнализации, широко используемом на автомобильном транспорте. По тому же принципу работает антирадар, реагирующий на излучение СВЧ-диапазона.
При производстве лакокрасочных материалов для автомобилей измеряют значения энергетической освещенности, при которой материал сохраняет свой цвет. Обесцвечивание вызывается в основном ультрафиолетовой частью спектра. Испытания проводят на специальных стендах при определенных значениях энергетической освещенности.
Список использованной литературы:
1. Рвачев В. П. Основы экспериментальной фотометрии и спектрофотометрии. Гомель: издательство Гомельского университета, 1977
2. Эпштейн М. И. Измерение оптического излучения в электронике. М.: Энергоатомиздат, 1990
3. Гуревич М. М. Введение в фотометрию. Л.: Энергия, 1968
4. Гуревич. М. М. Фотометрия (теория, методы и приборы). Л.: Энергоатомиздат, 1983
5. Сапожников Р.А. Теоретическая фотометрия. М.: Энергия, 1977
6. Степанов Б.И. Введение в современную оптику: Фотометрия. О возможном и невозможном в оптике. Мн.: Наука и техника, 1989