| Скачать .docx |
Курсовая работа: Определение энергоэффективности гидравлических и пневматических систем
КУРСОВАЯ РАБОТА
по дисциплине «Энергетический аудит»
на тему: «Определение энергоэффективности гидравлических и пневматических систем»
СОДЕРЖАНИЕ
1.Определение энергоэффективности гидравлических и пневматических систем
2.Определение энергоэффективности системы сжатого воздуха
Список использованной литературы
1 ОПРЕДЕЛЕНИЕ ЭНЕРГОЭФФЕКТИВНОСТИ ГИДРАВЛИЧЕСКИХ И ПНЕВМАТИЧЕСКИХ СИСТЕМ
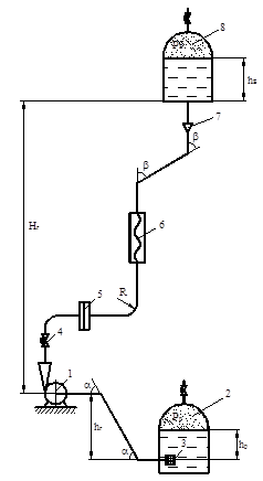
Рассчитать трубопроводную сеть (рис.1) и подобрать насосный агрегат 1 для подачи жидкости в производственных условиях из резервуара 2 в бак 8, расположенный на высоте
над осью насоса. Величины абсолютных давлений на свободных поверхностях жидкости в резервуаре и баке равны соответственно
и
На всасывающей линии имеются приемный клапан 3 с защитной сеткой, на нагнетательной линии – дисковая задвижка 4 и обратный клапан 7. В системе возможна установка расходомерной шайбы (диафрагмы) 5 или охладителя 6.

Рисунок 1.1 - Схема трубопроводной сети
Таблица 1.1 – Исходные данные
| Величины |
Вариант |
|
| Обозначение |
Размерности |
7 |
| Жидкость |
__ |
Вода |
| Температура жидкости |
°C |
20 |
| Давление:
|
МПа |
0,20 |
| МПа |
0,0,9 |
|
| Высоты: |
м |
1,2 |
| м |
0,8 |
|
| м |
1,0 |
|
| Углы |
градус |
15;60 |
| Отношение R/d отводов |
__ |
6 |
| Степень h/d открытия задвижки |
__ |
0,75 |
| Отношение So/S площадей диафрагмы |
__ |
0,4 |
| Коэффициент сопротивления охладителя |
__ |
4 |
| Материал и состояние труб |
__ |
Медные |
| Назначение трубопровода |
__ |
Вспомогательные трубопроводы для технической воды |
ПОРЯДОК ПРОВЕДЕНИЯ РАСЧЕТА
1 Величины расходов Q, м3 /з, высоты НГ , м, подъема жидкости и длины L2 , м, нагнетательного трубопровода следует принять равными:



где n – (n=93);
длина всасывающего участка трубопровода.

где n – число.
Диаметры труб в пределах всасывающего и нагнетательного участков считать постоянными, углы отводов принять равным ![]()
Ориентировочные значения допустимых скоростей течения жидкости в технических трубопроводах 0,6 – 0,8 м/с на всасываемом участке, допустимые скорости течения жидкости в напорных трубопроводов на нагнетательном участке 1,0 – 3,0.
2 Определяем диаметр труб для участков системы:


Приймаємо d1 =160 мм и d2 =80 мм.
3 Уточняем величины истинных скоростей течения жидкости в трубах:

.
4 Суммарные потери на всех участках системы определяем с учетом режима движения жидкости, материалов и состояния поверхностей труб, характера местных сопротивлений.
Значения чисел Рейнольдса вычисляем по формуле:
![]()
где ν=1,01·10-6 м2 /с – кинематический коэффициент вязкости для воды при температуре 20°С.


Режим движения жидкости на участках – турбулентный, так как
.
Коэффициент λi потерь на трение можно определить по графику зависимости λ от Re для шероховатых труб:
и
.
где
- значение абсолютной шероховатости для бесшовных стальных труб, принимаем
.
При Re1 =110891 – λ1 =0,023.
При Re2 =200990 – λ2 =0,025.
5 Потери напора на отдельных участках при движении жидкости по трубам вычисляем по формуле:

где g=9,81 м/с2 – ускорение свободного падения тел.
6 Выбираем коэффициенты местных сопротивлений на всасываемом участке:
![]()
где коэффициенты местных сопротивлений:
- всасывающего клапана с сеткой
при ![]()
- коэффициент сопротивления колена
при ![]()
![]()

7 На нагнетательном участке:
![]()
коэффициент сопротивления задвижки при ![]()
коэффициент сопротивления диафрагмы при
;
коэффициент сопротивления охладителя;
коэффициент сопротивления обратного клапана (при
);
коэффициент сопротивления "выход из трубы";
коэффициент сопротивления колена при
;
- коэффициент сопротивления отвода.
![]()
.
8 Требуемый напор Н насоса определяем по формуле:

где
разность уровней свободных поверхностей жидкости в баке и резервуаре,
плотность воды при температуре
.
,
.
.
Для значений подачи 0; 0,25; 0,5; 0,75; 1; 1,25 рассчитываем напор насоса.
Таблица 1.2 – Результаты гидравлического расчета системы для разных значений подачи
|
|
|
|
|
|
|
|
|
|
|
|
|
0 |
0 |
0 |
0 |
0 |
0 |
0 |
0 |
36 |
| 14,4 |
02 |
0,8 |
31683,2 |
63366,3 |
0,024 |
0,026 |
0,017 |
1,13 |
37,2 |
| 27 |
0,37 |
1,5 |
58613,8 |
118812 |
0,023 |
0,025 |
0,06 |
4 |
40,1 |
| 40,5 |
0,56 |
2,24 |
88712,9 |
177426 |
0,022 |
0,025 |
0,13 |
8,7 |
45 |
| 54 |
0,75 |
3 |
118812 |
237623,8 |
0,021 |
0,025 |
0,24 |
15,7 |
52 |
| 72 |
1 |
4 |
158416 |
316831,7 |
0,021 |
0,025 |
0,43 |
28 |
64,5 |

Рисунок 1.2 – Характеристика насоса
По значениям Q и H выбираем центробежный насос типа К горизонтальный одноступенчатый, консольного типа с рабочим колесом одностороннего входа.
Насос 4К –8, с частотой вращения 2900 об/мин.
Мощность на валу насоса 17,5 кВт; на валу электродвигателя – 28 кВт.
Коэффициент полезного действия – 65,5 %.
9 Определяем потери:
,
Т – время эксплуатации в год (5000 ч);
С – стоимость
. Принимаем С=0,5 грн.
Потери мощности:
,
Требуемая мощность электродвигателя с учетом запаса по возможным перегрузкам:
,

к = 1,05-1,2 – коэффициент запаса. Принимаем к = 1,2.
.
![]()
Определяем цену перерасхода электрической энергии в год одним электродвигателем:
.
Суммарный перерасход электрической энергии в год:
,
.
Полученные данные свидетельствуют о небольших потерях энергии при работе насоса.
Для повышения энергоэффективности гидравлической системы необходимо:
- уменьшение сопротивления сети трубопровода (местные и по длине трубопровода) за счет увеличения диаметра труб, уменьшения количества отводов, колен;
- уменьшить потери воды при ее подаче в оптимальном режиме, а также путем замены фланцевых уплотнений;
- повышение КПД насоса до паспортных данных за счет точной балансировке рабочих колес, а также за счет замены старых уплотнений новыми.
2 ОПРЕДЕЛЕНИЕ ЭНЕРГОЭФФЕКТИВНОСТИ СИСТЕМЫ СЖАТОГО ВОЗДУХА
Рассчитать приведенную на схеме рисунка 2.1 сеть и подобрать компрессор на потребление сжатого воздуха с рабочим давлением
в ремонтном цехе химического комбината.

Рисунок 2.1 – Схема компрессорной сети
Длины
участков АВ, ВС, СД, CF, BE вычисляем по формуле:
число из двух последних цифр номера зачетной книжки (
);
вариант задания;
порядковый номер участка.
![]()
Таблица 1. Исходные данные
| Точка присоединения |
Потребитель |
Расход воздуха на единицу оборудования
|
Количество |
| D |
Молоток пневматический КЕ-16 |
1,6 |
3 |
| Е |
Молоток отбойный ОМП – 10 |
2,3 |
1 |
| F |
Машина шлифовальнаяШР – 2 |
2,8 |
2 |
| F |
Гайковерт ручной ГП – 14 |
0,5 |
1 |
| E |
Пистолет – пульверизатор ПУ – 1 |
0,03 |
2 |
| D |
Ножницы-кусачки ПНК-3 |
1,3 |
1 |
| D |
Пила ручная РПТ |
1,9 |
1 |
| E |
Пылесос для производственного мусора ПП – 3 |
1,3 |
1 |
1 Определяем длину участка сети ABCD:
;
;
;
;
.
2 Находим расчетный расход воздуха на участках:
,
где
число потребителей с удельным расходом воздуха
на участке і-м участке трубопровода (і=3…5).

;

3 Определяем расчетный расход
компрессора суммированием расходов по участкам
![]()
.

4 Вычисляем величину потребного воздуха с учетом условий одновременности работы каждого вида оборудования и потерь сжатого воздуха от утечек.
Потребный расход по участкам
![]()
коэффициент одновременности работы;
при z<10,
при z=11…20,
при z>20.
коэффициент утечек; ![]()
Общий расход
![]()






Потребный расход
компрессора – это расход воздуха на участке АВ магистрали.
5 Расчет ориентировочных диаметров трубопроводов на каждом из участков сети:
![]()
| Участок |
1 |
2 |
3 |
4 |
5 |
|
|
|||||
| Вычесленный |
0,048 |
0,043 |
0,033 |
0,028 |
0,023 |
| Принятый |
0,050 |
0,050 |
0,040 |
0,04 |
0,025 |
6 Потери давления в сети от трения в сети и на местных сопротивлениях обычно не привышают 6-8% от среднего давления в трубопроводе.
Приведенные длины учкстков сети:
![]()
где
эквивалентная длина, соответствующая наличию на участке длиной
количеством m определенного вида местных сопротивлений с удельной характеристикой
.
![]()
.
.
Приведенная длина магистрали:
,
![]()
7 Потери давления по магистрали:
,
,
,
,
.
Потребное давление Р, развиваемое компрессором, должно быть не менее
![]()
![]()
8 По основным параметрам Q и P подбираем тип и марку требуемого компрессора.
Таблица 2.6 – Технические характеристики компрессора
| Тип компрессора |
ВП3-20/9 |
|
| Производительность, |
20 |
|
| Конечное давление, МПа |
0,87 |
|
| Масса, кг |
4800 |
|
| Габариты, мм |
2370х1670х2230 |
|
| Двигатель |
Мощность, кВт |
132 |
| Тип |
ДСК-12-24-12 |
|
| Частота вращения, |
500 |
|
4 Емкость воздухосборника V:
,
где
производительность компрессора,
.
![]()
5 Определяем потери:
,
производительность компрессора и расчетная производительность
;
конечное давление и расчетное давление компрессора, МПа;
Т – время эксплуатации в год (5000 ч);
С – стоимость
. Принимаем С=0,5 грн.
Определяем цену перерасхода электрической энергии в год:
.
Полученные данные свидетельствуют о довольно больших потерях энергии при работе компрессора.
Для повышения энергоэффективности гидравлической системы необходимо:
- увеличение диаметра нагнетающих воздуховодов, дает экономию 6%;
- уменьшения количества отводов, колен;
- можно эффективно использовать тепло от компрессорной системы сжатого воздуха для отопления производственных помещений, а также для подогрева воды на технологические нужды. Это повышает энергетический КПД компрессора на 4-5%.;
- так как нагрузка компрессора не постоянная по времени, то его производительность должна контролироваться;
- целесообразна установить ресивер
СПИСОК ИСПОЛЬЗОВАНОЙ ЛИТЕРАТУРЫ
1 Методические указания к практическим занятиям по проведения гидравлических расчетов трубопроводных сетей, выбору насосных, вентиляционных и компрессорных установок промышленных предприятий по курсу «Гидравлика и гидравлические машины». Волков Н. И., 1989.
2 Каталог справочник насосы. Соколова Т.Ф., Тихонов А.Я., 1953.