| Скачать .docx |
Реферат: Способы разрушения водонефтяной эмульсии
ФЕДЕРАЛЬНОЕ АГЕНТСТВО ПО ОБРАЗОВАНИЮ
УХТИНСКИЙ ГОСУДАРСТВЕНЫЙ ТЕХНИЧЕСКИЙ УНИВЕРСИТЕТ
Кафедра РЭНГМ и ПГ
Реферат на тему: «Способы разрушения водонефтяной эмульсии»
Дисциплина: «Сбор и подготовка скважинной продукции»
Выполнил ст.гр. РЭНГМ 2 -06: Попов М. А..
Проверил: Воронина Н. В.
Ухта 2010
ВВЕДЕНИЕ
Обводнение продуктивных пластов нефтяных месторождений вызывает серьезные осложнения при добыче, сборе и подготовке нефти, связанные с образованием водонефтяных эмульсий [1].
Образование стойких эмульсий снижает показатели безотказности работы насосных установок из-за увеличения количества обрывов штанг ШГНУ, пробоев электрической части УЭЦН вследствие перегрузок погружного электродвигателя. Рост давления жидкости в системах сбора нефти и газа влечет за собой порывы коллекторов. Затрудняются сепарация газа и предварительный сброс воды. Однако наибольший рост энерго- и металлоемкости, связанный с необходимостью разрушения стойких эмульсий, имеет место в системах подготовки нефти. Эмульсия - это гетерогенная система, состоящая из двух несмешивающихся или мало смешивающихся жидкостей, одна из которых диспергированна в другой в виде мелких капелек (глобул) диаметром, превышающим 0.1 мкм. При образовании эмульсий образуется огромная поверхность дисперсной фазы. На такой огромной межфазной поверхности может адсорбироваться большое количество стабилизирующих эмульсию веществ - эмульгаторов. Основными эмульгаторами и стабилизаторами эмульсий являются высокомолекулярные соединения нефти (асфальтены, смолы и высокоплавкие парафины) и высокодиспергированные твердые минеральные частицы.
Считают, что устойчивость образующихся эмульсий зависит не сколько от концентрации эмульгаторов (асфальтенов, смол и др.) в нефти, сколько от их степени дисперсности, которое в свою очередь определяется содержанием в нефти парафиновых и ароматических углеводородов.
Эмульсии со временем разрушаются. В некоторых случаях возникает необходимость ускорить разрушение эмульсий, например, разрушение эмульсии в сырой нефти. Ускорить процесс разрушения можно всеми путями, ведущими к уменьшению прочности защитной пленки эмульгатора и увеличению возможности соприкосновения частиц друг с другом.
1 ПРИЧИНЫ ОБРАЗОВАНИЯ И СВОЙСТВА НЕФТЯНЫХ ЭМУЛЬСИЙ
Поскольку водонефтяная эмульсия представляет собой неустойчивую систему, тяготеющую к образованию минимальной поверхности раздела фаз, вполне естественно ожидать наличие у нее склонности к расслоению. Однако в реальных условиях эксплуатации нефтедобывающего оборудования во многих случаях образуются эмульсии, обладающие высокой устойчивостью. Это в значительной степени определяет выбор технологии их дальнейшей обработки, а также глубину отделения водной фазы от нефти. Агрегативную устойчивость эмульсий измеряют временем их существования до полного разделения образующих эмульсию жидкостей. В случае эмульсий, полученных из разных нефтей, их устойчивость может составлять от нескольких секунд до года и более.
Устойчивость нефтяных эмульсий зависит от величины глобул воды (ее дисперсности), плотности и вязкости нефти, содержания в ней легких фракций углеводородов, эмульгаторов и стабилизаторов эмульсии, а также от состава и свойств эмульгированной воды.
К естественным стабилизаторам эмульсий относят содержащиеся в нефти асфальтены, смолы, нафтены и парафины, являющиеся природными ПАВ. Кроме того, к ним относят мельчайшие твердые частицы веществ (глина, кварц, соли и т. д.), находящихся в продукции скважин во взвешенном состоянии.
В зависимости от концентрации дисперсной фазы в эмульсиях их подразделяют на разбавленные или слабо концентрированные (дисперсной фазы менее 20 %), концентрированные (до 74 %) и высококонцентрированные (свыше 74 %). Разбавленные эмульсии с мелкодисперсной структурой обладают высокой стойкостью к разрушению.
В промысловых эмульсиях размер капель дисперсной водной фазы обычно составляет от 0,1 до 250 мкм. Капли более крупного размера могут существовать только в потоке вследствие быстрой седиментации в статических условиях.
Устойчивость большинства нефтяных эмульсий типа "вода в нефти" со временем возрастает. В процессе старения эмульсии на глобулах воды увеличивается слой эмульгатора и, соответственно, повышается его механическая прочность. При столкновении таких глобул не происходит их коалесценции из-за наличия прочной гидрофобной пленки. Для слияния глобул воды необходимо эту пленку разрушить и заменить ее гидрофильным слоем какого-либо ПАВ. Старение эмульсий интенсивно протекает только в начальный период после их образования, а затем заметно замедляется. Особенности старения обратной эмульсии зависят от состава и свойств нефти, пластовой воды, условий образования эмульсии (температура, интенсивность перемешивания фаз.
К основным характеристикам нефтяных эмульсий относят степень разрушения за определенный период времени, эффективную (в ряде случаев структурную) вязкость, средний поверхностно-объемный диаметр эмульгированных капель водной фазы. В совокупности эти параметры отражают интенсивность эмульгирования нефти, ее физико-химические свойства и адсорбцию эмульгатора.
Об интенсивности разрушения эмульсии можно судить по разности между плотностями воды и нефти rD, а также отношению суммарного содержания асфальтенов (а) и смол (с) к содержанию парафинов (n) в нефти (а+с)/n. Последний показатель предопределяет способ деэмульгирования нефтяных эмульсий. Показатель rD соответствует движущей силе гравитационного отстаивания. Оба показателя являются качественными характеристиками эмульсий и позволяют разделять их на группы.
В зависимости от соотношения плотностей воды и нефти эмульсии классифицируют [5] на трудно расслаиваемые (rD = 0,200-0,250 г/см 3 ), расслаиваемые (rD = 0,250-0,300 г/см 3 ) и легко расслаиваемые (rD = 0,300-0,350 г/см 3 ). По показателю (а+с)/n нефти подразделяют на смешанные ((а+с)/n = 0,951-1,400), смолистые ((а+с)/n = 2,759-3,888) и высокосмолистые ((а+с)/n = 4,774-7,789).
Совместный подъем пластовых жидкостей в скважинах происходит с одновременным их смешением и диспергированием в насосном оборудовании. Интенсивное перемешивание пластовых жидкостей в рабочих органах насосных установок и последующая адсорбция природных стабилизаторов на межфазной поверхности в подъемнике приводят к тому, что на устье скважин формируются агрегативно устойчивые высокодисперсные эмульсии обратного типа.
В скважинах, оборудованных УЭЦН, эмульсеобразование происходит наиболее интенсивно. Средний поверхностно-объемный диаметр капель равен 3-8 мкм, причем какой-либо определенной зависимости размера капель от типоразмера насоса не установлено. На месторождениях вязкой нефти диаметр эмульгированных капель несколько больше. Согласно формирование дисперсной структуры эмульсии в УЭЦН завершается на первых сорока ступенях насоса. В дальнейшем, по мере подъема нефти в НКТ, структура эмульсии не претерпевает существенных изменений. С повышением вязкости и плотности нефти вязкость эмульсий образовавшихся в УЭЦН возрастает, а их стойкость увеличивается.
При добыче нефти штанговыми насосами особенно сильное эмульгирование происходит в клапанных узлах насосов и резьбовых соединениях НКТ. Эмульсия начинает формироваться при движении жидкости через насос. Средний диаметр капель водной фазы на выходе из насоса составляет около 90 мкм. В дальнейшем эмульгирование нефти протекает в НКТ за счет турбулизации потока при омывании встречных конструктивных элементов труб (например, муфт штанговых колонн).
Часть энергии, затрачиваемая на диспергирование эмульсии, концентрируется на межфазной поверхности в виде энергии поверхностного натяжения. Однако ожидаемое слияние капель сдерживается защитными адсорбционными слоями эмульгатора на межфазной поверхности. По той же причине затруднено дробление капель дисперсной фазы в движущемся потоке.
2 ЗАЗРУШЕНИЕ ВОДОНЕФТЯНЫХ ЭМУЛЬСИЙ
Существуют следующие способы разрушения нефтяных эмульсий:
- отстаивание;
- фильтрация;
- центрифугирование;
- термическое воздействие;
- электрическое воздействие;
- внутритрубная деэмульсация;
- воздействие магнитного поля.
Отстаивание применяют при высокой обводненности нефти и осуществляют путем гравитационного осаждения диспергированных капель воды. На промыслах применяют отстойники периодического и непрерывного действия разнообразных конструкций. В качестве отстойников периодического действия обычно используют сырьевые резервуары, при заполнении которых сырой нефтью происходит осаждение воды в их нижнюю часть. В отстойниках непрерывного действия отделение воды происходит при непрерывном прохождении обрабатываемой смеси через отстойник. В зависимости от конструкции и расположения распределительных устройств движение жидкости в отстойниках осуществляется в преобладающем направлении горизонтально или вертикально.
Фильтрацию применяют для разрушения нестойких эмульсий. В качестве материала фильтров используются вещества, не смачиваемые водой, но смачиваемые нефтью. Поэтому нефть проникает через фильтр, а вода - нет.
Целью использования центрифуги является повышение эффективности разделения на фазы водонефтяной эмульсии, сокращение количества аппаратов, используемых в схемах промысловой подготовки нефти и газа, т.е. снижение металлоемкости добывающей нефтяной промышленности, удаление вместе с водой присутствующих в ней механических примесей, т.е. повышение эксплуатационной надежности промысловых трубопроводов.
В настоящее время в промысловой подготовке добываемой водонефтяной эмульсии, чтобы отделить нужные и ценные продукты: нефть и газ от воды и друг от друга выполняются всего две операции: разгазирование и обезвоживание, но чтобы осуществить эти две операции применяются очень громоздкие схемы цепей аппаратов. Все эти схемы цепей аппаратов вместе с насосными станциями для откачки отделенных друг от друга воды и нефти занимают очень много места, все аппараты соединены между собой большим количеством трубопроводов, на которых установлено большое количество разнообразных задвижек для отключения данного аппарата из схемы в случае ремонта или аварийного выхода из строя. Все это большое количество оборудования очень сложно обслуживать.
Кроме того, в извлекаемой на поверхность водонефтяной эмульсии содержится очень большое количество механических примесей, которые потом при движении по трубопроводам действуют как абразив, протачивая во всех трубопроводах канавки, и их стенки истончаются до такой степени, что под действием повышенного давления в трубопроводе он разрывается и это приводит к авариям с большими материальными, экономическими и экологическими затратами и потерями.
Т.о. сокращение количества аппаратов в схемах промысловой подготовки нефти и уменьшнение количества порывов промысловых трубопроводов являются первостепенейшими и актуальнейшими задачами, а решение этих проблем вместе позволит снизить металлоемкость нефтедобывающей промышленности.
Все эти задачи позволяет решить предлагаемый способ разделения водонефтяных эмульсий с помощью центрифугирования, который широко применялся на промыслах США в 1920-1940 гг.
В предлагаемом способе подготовки нефти вместо традиционного гравитационного используется более мощная центробежная сила для разделения на фазы водонефтяной эмульсии. Разница в осуществлении способа состоит в том, что в традиционном многоаппаратном способе сначала идет операция разгазирования и только потом осуществляется операция обезвоживания. В предлагаемом же способе сначала идет обезвоживание и только потом проводится разгазирование нефти, но обе эти операции осуществляются одновременно и в одном аппарате.

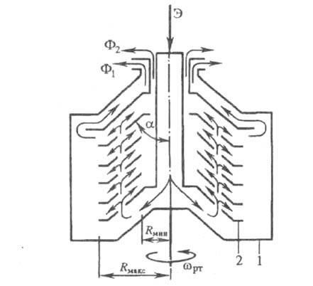
Рисунок 1 - Сепаратор для разделения эмульсий : 1 - ротор; 2 - пакет тарелок ; Ф 1 и Ф 2 - фугаты; Э - эмульсия .
Центрифуги обладают очень большими недостатками: они имеют цилиндрический барабан и, разделяемая жидкость поступает в него с одного конца, а разделенные компоненты выходят с другого конца барабана, т.е. перемещение жидкости идет вдоль оси центрифуги с очень небольшой скоростью, а присутствующие в жидкости механические примеси, как материал, имеющий большую плотность, прижимаются к стенкам барабана центрифуги и еще больше замедляют движение жидкости вдоль оси центрифуги. Поток жидкости при такой малой скорости неспособен смыть и унести с собой механические примеси. По этим причинам применяемые центрифуги имеют очень низкую производитльность и большую энергоемкость.
Число оборотов центрифуги имеет огромное значение. При малой скорости будет недостаточна центробежная сила и центрифуга не выполнит своего назначения. При слишком большой скорости вращения стенки барабана могут не выдержать разрывающих усилий и произойдет авария. При эксплуатации центрифуг нужно иметь в виду, что в начальной стадии, когда барабан развивает вращение, осадок неравномерно распределяется по поверхности барабана. В результате барабан начинает «бить», что крайне вредно отражается на прочности станины. Для смягчения толчков и ударов центрифугам придаются резиновые амортизаторы. По этим же соображениям на центрифугах устанавливают тормоз, позволяющий после выключения электромотора плавно и сравнительно быстро остановить барабан. Также важно, чтобы при изготовлении центрифуги барабан был тщательно сбалансирован (центр тяжести барабана и вала должен совпадать с осью вращения. Пусковой период для двигателя представляет наибольшую трудность, поскольку ему приходится преодолевать инерцию барабана, инерцию находящейся в нем жидкости и трение барабана о воздух. В связи с этим мощность центрифуги всегда рассчитывают на пусковой период. Рабочая мощность обычно в 2-3 раза меньше пусковой.
На работу центрифуг существенно влияет вязкость жидкой фазы. С увеличением этого параметра производительность центрифуги уменьшается. Поэтому в некоторых случаях (когда это допустимо) для уменьшения вязкости жидкости прибегают к ее нагреву. Нагревание эмульсии приводит не только к уменьшению вязкости, но и снижению
Предлагаемый способ промысловой подготовки нефти решает большинство актуальнейших задач, стоящих перед добывающей нефтяной промышленностью.
Для размещения оборудования предлагаемого способа не нужно много места, оно очень компактно и его легко монтировать и обслуживать.
Центрифуги могут иметь практически любую производительность, их очень легко можно будет автоматизировать.
Термическое воздействие на водонефтяные эмульсии заключается в том, что нефть, подвергаемую обезвоживанию, перед отстаиванием нагревают до температуры 45-80 0 С. При нагревании уменьшается прочность слоев эмульгатора на поверхности капель, что облегчает их слияние. Кроме того, уменьшается вязкость нефти и увеличивается разница плотностей воды и нефти, что способствует быстрому разделению эмульсии. Подогрев осуществляют в резервуарах, теплообменниках и трубчатых печах.
Разложение эмульсий электрическим методами, ввиду сравнительной простоты необходимых для этой цели установок, применимости для большинства эмульсий и достаточной надежности в работе, получило широкое распространение. Электрический способ разрушения эмульсий применяют на нефтеперерабатывающих заводах при обессоливании нефти на ЭЛОУ (электроочистительных установках), а также при очистки нефтепродуктов от водных растворов щелочей и кислот (электрофайнинг). В обоих случаях используют электрическое поле высокой напряженности. Под действием электрического поля взвешенные частицы воды сливаются в более крупные, которые под действием силы тяжести осаждаются вниз. Отстоявшаяся вода с растворенными в ней солями выводится из нижней части электородегидратора, обезвоженная нефть - из верхней части. Для достижения минимального содержания солей нефть промывают на ЭЛОУ, состоящих из 2-3 последовательно соединенных ступеней электродегидраторов. Основными технологическим параметрами процесса являются: температура, давление, удельная производительность дегидраторов, расход диэмульгатора, расход промывной воды и степень ее смешения с нефтью, напряженность электрического поля. Применяемый на ЭЛОУ подогрев нефти позволяет уменьшить ее вязкость, что существенно повышает подвижность капелек воды в нефтянойсреде и ускоряет их коалесценцию. Вместе с тем подогрев нефти на ЭЛОУ сопряжен с серьезными недостатками. С повышением температуры сильно увеличивается электропроводность нефти и, соответственно, повышается расход электроэнергии, значительно усложняются условия работы проходных и подвесных изоляторов. Поэтому подогрев разных нефтей на ЭЛОУ проводят в интервале температур 60-1500С, выбирая для каждой нефти оптимальное значение, обеспечивающее минимальные затраты на ее обессоливание.Внутритрубную деэмульсацию проводят посредством добавления в эмульсию химического реагента-деэмульгатора. Это позволяет разрушать эмульсию в трубопроводе, что снижает ее вязкость и уменьшает гидравлические потери.
Для каждого состава нефти подбирают свой наиболее эффективный деэмульгатор, предварительно оценив результаты отделения пластовой воды в лабораторных условиях.
Любое органическое вещество, обладающее моющими свойствами, может с той или иной эффективностью использоваться в качестве деэмульгатора. Высокоэффективные деэмульгаторы, применяемые на нефтепромыслах и нефтеперерабатывающих заводах для обезвоживания и обессоливания нефти, содержат смесь ПАВ различных структур и модификаций. Теории, объясняющие механизм действия деэмульгаторов, разделяют на две группы:
- физическая, предполагающая протекание физической адсорбции молекул деэмульгатора на коллоидных частицах, разрыхляющее и модифицирующее действие деэмульгаторов на межфазный слой, которое способствует вытеснению и миграции молекул (частиц) стабилизатора в ту или иную фазу;
- химическая, основанная на предположении о преобладающей роли хемосорбции молекул деэмульгатора на компонентах защитного слоя с образованием прочных химических связей, в результате чего природные стабилизаторы нефти теряют способность эмульгировать воду.
Согласно общепринятой в настоящее время теории, разработанной под руководством академика П.А. Ребиндера, при введении ПАВ в нефтяную эмульсию на границе раздела "нефть - вода" протекают следующие процессы. ПАВ, обладая большей поверхностной активностью, вытесняет природные стабилизаторы с поверхности раздела фаз, адсорбируясь на коллоидных или грубодисперсных частицах природных стабилизаторов нефтяных эмульсий. Молекулы деэмульгаторов изменяют смачиваемость, что способствует переходу этих частиц с границы раздела в объем водной или нефтяной фаз. В результате происходит коалесценция.
Таким образом, процесс разрушения нефтяных эмульсий является в большей степени физическим, чем химическим и зависит от:
- компонентного состава и свойства защитных слоев природных стабилизаторов;
- типа, коллоидно-химических свойств и удельного расхода применяемого деэмульгатора;
- температуры, интенсивности и времени перемещения нефтяной эмульсии с деэмульгатором.
Технологический эффект применения деэмульгатора заключается в обеспечении быстрого и полного отделения пластовой воды при его минимальном расходе.
Как правило, подбор высокоэффективного, оптимального для конкретной водонефтяной эмульсии деэмульгатора осуществляют эмпирически. Это обусловлено тем, что в зависимости от технологии добычи и подготовки нефти, ее химического состава, физико-химических свойств и обводненности, минерализации пластовой воды, наличия в ней механических примесей и других факторов к деэмульгатору предъявляются специфические требования.
На нефтегазодобывающих предприятиях нашел также применение метод предотвращения образования стойких эмульсий (метод искусственного увеличения обводненности нефти). Сущность метода заключается в возврате на прием насоса некоторой части добываемой воды, расслоившейся в отстойной расширительной камере или в поле центробежных сил. Избыток водной фазы, образовавшейся в насосе, приводит к переходу водонефтяной смеси из одной структуры потока в другую. Вязкость образовавшейся прямой эмульсии в десятки и сотни раз меньше вязкости обратных эмульсий. В соответствии с этим резко снижается и стойкость прямых эмульсий, что создает благоприятные условия для отделения водной фазы и возвращения некоторого ее объема на прием насоса. Подачу оборотной воды на прием насоса можно осуществить самоподливом в затрубное пространство скважины, без применения дополнительных перекачивающих органов.
Метод самоподлива предполагает потерю производительности установки за счет рециркулируемой части водной фазы. Однако многократное снижение вязкости нефти в колонне труб позволяет существенно увеличить коэффициент подачи установок, что не только компенсирует потерю, но и в ряде случаев повышает производительность насосов.
ЗАКЛЮЧЕНИЕ
Наличие значительного количества и разнообразия методов разрушения эмульсий крайне осложняет и затрудняет выявление наиболее рациональных из них. Между тем, нашей задачей является выбор и применение такого метода, который был бы наиболее рациональным. С целью облегчения этой задачи при описаниях различных методов, приведенных выше, дается оценка положительных и отрицательных особенностей каждого из них. Рациональность методов определяется следующим основными показателями качественности их: эффективность, возможность полного отделения воды, максимальная простота метода и оборудования, экономичность процесса.
СПИСОК ЛИТЕРАТУРЫ
1. Абрамзон А.А. Поверхностно-активные вещества, свойства и применение. Л.: Химия, 1981.
2. Амелин И.Д., Андриасов Р.С.и др. Эксплуатация и технология разработки нефтяных и газовых скважин. М. Недра, 1978.
3. Воюцкий А. Р. Курс коллоидной химии. М.: Политиздат, 1976.
4. Позднышев Г.Н. Стабилизация и разрушение эмульсий. М.: Недра, 1982.
5. Смирнов Ю.С., Мелошенко Н.Т. Химическое деэмульгирование нефти как основа ее промысловой подготовки //Нефтяное хозяйство, 1989.