| Скачать .docx |
Реферат: Магнитные пускатели
МИНИСТЕРСТВО ОБРАЗОВАНИЯ РОССИЙСКОЙ ФЕДЕРАЦИИ
ДАЛЬНЕВОСТЧНЫИ ГОСУДАРСТВЕННЫЙ ФЕДЕРАЛЬНЫЙ
УНИВЕРСИТЕТ
Кафедра Электроэнергетики и Электротехники
Отчёт по
лабораторной работе № 1
«МАГНИТНЫЕ ПУСКАТЕЛИ»
Выполнили: студенты гр.Б-3441б
Хиневич А.В.
Мамонов Р.И.
Пухов А.Е.
Тыщук А.Д.
Проверил: преподаватель
Бурлакова Г.И.
Владивосток
2011
1.
Магнитный пускатель
- электрический аппарат, предназначенный
для дистанционного управления трехфазными асинхронными электродви-
гателями с короткозамкнутым ротором мощностью до 75 кВт при
напряжении до 660 кВ. Пускатели осуществляют защиту электродвигателей
при перегрузках и нулевую защиту. Для цепей управления и сигнализации
могут быть установлены дополнительные блокировочные контакты
(замыкающие и размыкающие). Магнитные пускатели используют для местного и дистанционного
управления электросиловой установкой, а также для защиты
электродвигателя от перегрузки или от самопроизвольного включения
установки после снятия напряжения в сети и последующей его подачи. Основные узлы магнитного пускателя - электромагнит переменного
тока с прямоходовым якорем, контакты мостикового типа, замыкающие и
размыкающие блок-контакты. Для управления пускателями применяют
двухкнопочные или трехкнопочные посты, для защиты от тепловых
перегрузок - тепловые реле. Электромагнит
- основной элемент электромеханического узла
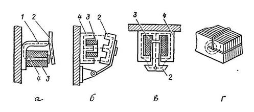
управления. Электромагнит, рис. 1., состоит из неподвижного сердечника
4, закрепленного на ярме 1, подвижного якоря 2 и втягивающей катушки 3.
Рис.1. Конструкция электромагнитов постоянного тока (а), переменного
тока с поворотным якорем (б), с прямоходовым якорем (в) и устройство
короткозамкнутого витка на сердечнике. 1 - ярмо; 2 - якорь; 3 - катушка; 4 - сердечник
При питании катушки однофазным переменным током магнитный
поток, меняя направление, периодически снижается до нуля, что вызывает
вибрацию якоря и гудение. Создается шум, расшатывается магнитная
система. Для ослабления этих явлений на торцовую поверхность сердечника
или якоря накладывают короткозамкнутый виток,
рис. 4.1.г), 4.2.а).
Наконечник полюса расщепляется на неравные части (2/3 и 1/3), и на его
большую часть насаживается короткозамкнутый виток из меди или
алюминия.
По времени срабатывания и возврата электромагнитные аппараты
подразделяются на безинерционные Оякл и 1откл < 0,001 с),
быстродействующие (от 0,001 до 0,05 с), нормальные (от 0,05 до 0,15 с),
замедленные (от 0,15 до 9 с).
Контакты.
В пускателях переменного тока широко распространена
мостиковая контактная система,
как для главных, так и вспомогательных
(блок-контактов) контактов, которая обеспечивает быстрое гашение дуги. В
качестве материала главных контактов применяется металлокерамика,
а
для вспомогательных — серебро или биметалл.
Основой биметалла является
медь, покрытая тонкой пластиной из серебра.
2. Существуют магнитные пускатели серии ПМЕ, ПА и ПМА. Для пускателей серии ПМЕ предназначены пристраиваемые тепловые реле ТРН, а для пускателей серии ПА – они встроенные.
Магнитные пускатели общепромышленного применения серии ПМЕ,
ПА имеют в обозначении цифры, следующие за буквами, которые означают:
первая цифра - величина магнитного пускателя; вторая цифра - исполнение
магнитного пускателя по роду защиты от окружающей среды (1 - открытое
исполнение, 2 - защищенное); третья цифра - электрическое исполнение ( 1 -
реверсивный; 2 - нереверсивный).
В настоящее время выпускаются пускатели электромагнитные серии
ПМА ( с 3 по 6 величину), предназначенные для дистанционного пуска
непосредственным подключением к сети, остановки и реверсирования
трехфазных асинхронных двигателей с короткозамкнутым ротором
мощностью до 75 кВт при напряжении до 660 В переменного тока частотой
50, 60 и 100 Гц.
Структура условного обозначения пускателя ПМА-3132: первая цифра
- величина пускателя в зависимости от номинального тока (3 - третья
величина); вторая - назначение и наличие теплового реле (1 - без реле,
нереверсивный), всего чисел от 1 до 0; третья — степень защиты и наличие
кнопок (3-е кнопками «Пуск» и «Стоп»); четвертая — род тока в цепи
управления (2 - переменный, 660 В).
![]() |
| Рис. 2. Схема включения нереверсивного пускателя |
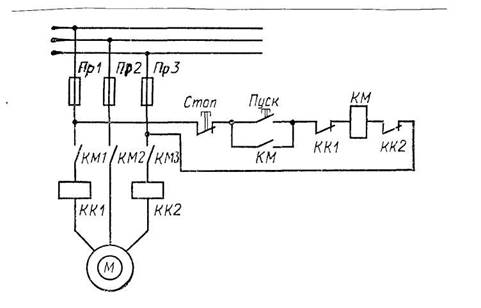
3.
В схеме пускателя, приведенной на рис. 2, в двух фазах двигателя М
включены нагревательные элементы тепловых реле КК1, КК2. Тепловые реле
защищают двигатель от перегрузки,
а предохранители Пр 1 - ПрЗ защищают
питающую сеть от КЗ в двигателе.
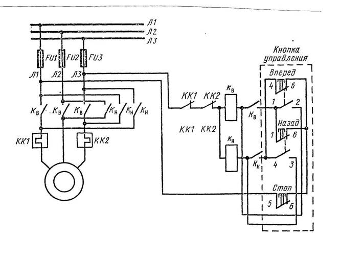
Схема включения реверсивного пускателя приведена на рис. 3.

Рис. 3 Схема включения реверсивного пускателя
4.
1. Можно управлять двигателями на расстоянии — дистанционно.
2.
Обеспечивается нулевая защита, то есть защита от исчезновения напряжения в сети или при его значительном снижении - до 50-60% I
номинального значения. После восстановления напряжения |
электродвигатель остается отключенным. Для его включения
следует нажать кнопку Пуск.
3. Обеспечивается при помощи теплового реле защита
электродвигателя от перегрузок. Тепловое реле может настраиваться
по току защищаемого электродвигателя непосредственно в
электроустановке путем замены нагревательного элемента.
