| Скачать .docx |
Реферат: Переход горения в детонацию в движущейся водородо-воздушной смеси
МИНИСТЕРСТВО ОБРАЗОВАНИЯ РОССИЙСКОЙ ФЕДЕРАЦИИ
МОСКОВСКИЙ ФИЗИКО-ТЕХНИЧЕСКИЙ ИНСТИТУТ
(ГОСУДАРСТВЕННЫЙ УНИВЕРСИТЕТ)
Факультет проблем Физики и энергетики
Кафедра Физика высоких плотностей энергии
Переход горения в детонацию в движущейся
водородо-воздушной смеси
Выпускная квалификационная
работа на степень бакалавра
студента 682 группы
Петренко Максима Игоревича
Специальность 010900 «прикладные физика и математика»
Научный руководитель: к.ф.-м.н.
Головастов Сергей Викторович
Москва, 2010г.
Оглавление
№ стр.
1. Введение _______________________________________________________ 3
1.1 Детонация________________________________________________ 5
1.2 Модели детонационной волны______________________________ 5
1.3 Ячеистая структура_________________________________________ 8
1.4 Инициирование детонации _________________________________ 9
Сильное или прямое инициирование____________________________ 9
Слабое инициирование, ускорение пламени______________________ 10
1.5 Исследование формирование детонации в потоках______________ 13
1.6 Влияние диафрагмы и препятствий на формирование детонации__ 14
2. Цели___________________________________________________________ 14
3. Экспериментальная установка _____________________________________ 15
4. Определение расхода реагентов____________________________________ 18
5. Глава I. Переход горения в детонацию в движущейся водородо-воздушной
смеси без диафрагмы__________________________________________ 20
Результаты __________________________________________________ 22
6. Глава II. Переход горения в детонацию в движущейся водородо-воздушной
смеси с диафрагмой __________________________________________ 25
Результаты __________________________________________________ 26
7. Сравнение результатов____________________________________________ 29
8 . Выводы__________________________________________________________ 31
9. Литература ______________________________________________________ 31
1. Введение.
С развитием теории газовой детонации практический интерес к ней вырос. Поскольку давление и температура продуктов сгорания при детонационном сжигании выше в несколько раз (например, в два раза при сжигании стехиометрической водородо-воздушной смеси), чем при медленном сжигании, возник вопрос о проектировании различного рода устройств, в том числе и двигателей, с высокой удельной мощностью, достигаемой при детонационном режиме сжигания топлива. Одним из современных перспективных направлений развития детонации является использование ее в пульсирующих детонационных устройствах (рис.1), в частности, в пульсирующих детонационных двигателях (ПДД). Вопросы безопасности и непрерывность работы устройства требует непрерывной (импульсно-периодической) подачи топлива в камеру сгорания, что неизбежно приводит к инициированию детонации в потоке компонентов топлива. Несмотря на то, что числа Рейнольдса потока детонационноспособного газа в камере сгорания могут достигать 105 , практически все исследовательские работы по инициированию и формированию детонации были проведены в неподвижных смесях.
Рис.1 . Цикл в пульсирующем детонационном устройстве.
При создании высокоэффективного детонационного устройства целесообразно применять схему инициирования детонации, основанную на поджиге горючей смеси электрическим разрядом с последующим переходом горения в детонацию. При этом необходимо учитывать все факторы, влияющие на горение и формирование детонации (границы камеры сгорания, преграды, диафрагмы, шероховатости, спирали и т.п.) Скорость потока в данном случае может привести к совершенно иной картине формирования детонации и другим законам инициирования детонации, что мало исследовано [1,2]. Данная работа посвящена исследованию влияния диафрагмы при слабом инициировании детонации, на ее формирование.
Известно [3,4], что повышение энергии инициирования приводит к уменьшению времени инициирования детонации (преддетонационный период) и сокращению расстояния (преддетонационное расстояние) от места выделения энергии до места возникновения детонации. Однако, такие энергии достигают значений 103 Дж (~1000 Дж для стехиометрической водородо-воздушной смеси), что не выгодно с экономической точки зрения. Данная работа отвечает на вопрос о том, как можно с помощью размещения диафрагмы уменьшить преддетонационное расстояние, сохранив при этом энергию и время инициирования прежними.
Детонация.
Явление детонации было открыто в 1881 году французскими физиками Малляром и Ле Шателье [17]и независимо от них Бертело и Вьей [18]. В опытах над распространением пламени было обнаружено, что при обычных условиях пламя в трубе, заполненной гомогенной смесью, распространяется с небольшой скоростью, порядка нескольких метров в секунду. Но при некоторых обстоятельствах медленный процесс горения внезапно переходит в очень быстрый процесс, распространяющийся со скоростью 2000–3000 м/с. Этот быстрый процесс был назван «фальшивым горением» или детонацией (от франц. «detoner»).
Модели детонационной волны.
Факт наличия двух скоростей распространения горения требовал теоретического объяснения, которое было дано русским физиком В. А. Михельсоном в 1889 году. В 1893 г. Михельсоном [5], а затем в 1899 г. Чепменом и в 1905 году Жуге была создана газодинамическая теория детонации, основанная на теории ударных волн. Отличие волны детонации от ударной волны состоит в том, что химическая реакция оказывает влияние на энергетический баланс при переходе через волну. В газодинамической теории предполагалось, что фронт реакции является поверхностью разрыва, бегущей по детонационноспособному газу и сразу превращающей его в продукты сгорания.
В системе координат, в которой этот фронт покоится (рис.2б), законы сохранения массы, количества движения и энергии для плоского фронта в трубе постоянного сечения дают [6]:
, (1)
, (2)
(для идеального газа; (3)
для реального –
, (4)
где E 1 и E 1 включают в себя теплоты образования веществ.)
Для полноты системы необходимо еще одно уравнение
, (5)
которое получается из условия касания прямой Михельсона адиабаты Гюгонио (рис.3).
Рис.2. Схема волны детонации. а) детонационная волна (ДВ) в лабораторной системе координат; б) ДВ в системе отсчета, в которой эта волна покоится. I – фронт ударной волны, разогревающей газ, II – фронт пламени. D – скорость детонационной волны в лабораторной системе координат, p, ρ – давление и плотность газа перед и за фронтом детонационной волны, u – скорость газа.
Рис.3. Адиабата Гюгонио (Г(1) = Q 0 ). Г(1) =0 – ударная адиабата для несгоревшего газа, не учитывающая тепловыделение. p0 , ρ0 – начальные давление и плотность. OD – прямая Михельсона.
Появление новых экспериментальных данных, не укладывающиеся в рамки классической теории детонации, привело к необходимости более детального теоретического изучения структуры и механизма газовой детонации. В 40-х годах нашего века была создана одномерная модель детонации, учитывающая ширину зоны реакции [7,8,9] – модель Зельдовича-Неймана-Деринга. Исходная модель ЗНД основана на гипотезе о том, что ударный скачок создает течение с такими плотностью и температурой, которые достаточны для возбуждения экзотермических реакций на сравнительно небольшом расстоянии (1—10 мм) за ударным скачком. Последующее развитие теории привело к созданию модели, согласно которой ударная волна первоначально возбуждает в газе лишь поступательные и вращательные степени свободы, и через конечное время достигается равновесие по колебательным степеням свободы. Стоит отметить, что выражения (1-5) будут иметь другой вид для одномерной модели ЗНД, учитывающей конечную длину зоны индукции.
Ячеистая структура.
Ячеистая структура детонации в смесях газов, находящихся вдали от пределов детонации была открыта в 1957–1958 гг. [10]. Такая неодномерная структура (рис.4) детонации возникает из-за того, что одномерный комплекс «ударная волна - зона горения» неустойчив, т.к. практически невозможно при поджиге смеси ударной волной в ударной трубе создать равномерный поджиг по всей плоскости. Осредненные параметры детонационной волны остаются такими же, как в одномерной теории, но условие Чепмена - Жуге, выполняется уже не в плоскости, а для отдельных ячеек детонации.
Рис.4 . Следовые отпечатки газовой детонации на части внутренней поверхности детонационной трубы.
Размеры ячейки пропорциональны периоду индукции данной смеси. Они являются характеристикой состава и начальных параметров смеси.
Знание размеров ячейки очень важно с практической точки зрения, так как позволяет определять, во-первых, как будет распространяться детонация в трубах и, во-вторых, найти, так называемый, первый критический диаметр, определяющий размер канала в котором детонация не будет распространяться. Описанная выше картина соответствует случаю, когда размер ячейки l много меньше характерного размера трубы d.
Инициирование детонации.
Распространение детонационных волн изучено довольно подробно. Определены стационарные скорости детонации газовых смесей, размеры ячеек, концентрационные пределы распространения детонации. Однако как в первой половине XX-го века, так и в настоящее время наибольший научный интерес представляет инициирование детонации. Различают несколько способов инициирования детонации.
Сильное или прямое инициирование.
Прямое инициирование детонации с помощью сильных ударных волн заключается в том, что ударная волна, инициирующая детонацию, может быть создана в канале при мощном выделении энергии [11]. В том случае, если амплитуда ударной волны выше, чем амплитуда детонационной волны, детонационная волна формируется сразу за ударной волной. Если скорость ударной волны меньше, но превышает 0,5 скорости детонации Чепмена-Жуге, то скорость такой ударной волны непрерывно увеличивается до возникновения детонационной волны. При этом минимальная энергия инициирования станет зависящей от мощности источника и времени выделения энергии, химические реакции должны завершиться за время роста давления в волне сжатия.
Для многих смесей найдены критические энергии инициирования детонации в одномерной, двумерной и трехмерной постановках [12]. Получены выражения для величины критической энергии инициирования детонации [3,4].
Слабое инициирование, ускорение пламени.
Механизм возникновения детонации при таком инициировании в неподвижном газе описан в [13]. При поджигании горючей смеси возникает фронт нормального горения, движущийся с дозвуковой скоростью относительно газа впереди него. Расширяющиеся (ускоряющиеся) продукты горения порождают волны сжатия и вызывают движение в газе перед фронтом пламени. Волны сжатия догоняют друг друга, образуя ударные волны. Состояние газа перед фронтом пламени изменяется: повышаются температура, давление, скорость газа, возникает турбулентность, происходит искривление фронта горения и увеличение площади его поверхности, приводящее к возрастанию скорости нормального горения. Сложное взаимодействие многочисленных волн в образовавшемся турбулентном потоке приводит в некоторый момент времени к возникновению детонации. Детонация почти всегда возникает непосредственно перед фронтом ускоряющегося пламени [6]. Одновременно от точки, где произошел переход в детонацию, в обратном направлении начинает распространяться волна, называемая ретонационной волной. Эта волна дожигает смесь. Наиболее ярко это проявляется при движении в трубах, где существенно влияние стенок.
В неограниченном объеме также может происходить ускорение пламени. Экспериментальные и теоретические исследования [11,13,14] показывают, что возможны случаи, когда ускорение пламени заканчивается стабилизацией скорости горения на дозвуковом уровне, и когда ускорение пламени приводит к скачкообразному переходу горения в детонацию.
Работа [15] посвящена явлению самовоспламенения смеси за ударной волной – идея «взрыва во взрыве». Механизм градиентного ускорения пламени рассматривается в работе [16]. Исследовано также влияние возбуждения электронного состояния молекул кислорода с помощью электрического разряда на переход от дефлаграции к детонации. Во всех этих работах начальная скорость горючей смеси принималась равной нулю.
Сокращение преддетонационного расстояния может быть достигнуто повышением вкладываемой в инициатор энергии. В предельном случае, когда энергия превышает критическую энергию инициирования детонации, преддетонационное расстояние равно нулю. Выделяемая инициатором энергия определяет скорость ударной волны, движущейся по детонационноспособному газу. В работе [3,4] показано, что в покоящихся средах существует предельная скорость такой ударной волны, которая разделяет формирование детонации на два сценария: дальнейшее ускорение до возникновения детонационной волны и ослабление с последующим ускорением до возникновения детонационной волны. Также преддетонационное расстояние может быть сокращено посредством внесения диафрагмы. В данной работе получены результаты исследования этой ситуации.
Исследование формирования детонации в потоках.
Исследования формирования детонации в потоках горючей смеси проводились в Отделе №2 ИТЭС ОИВТ РАН [20-23]. Влияние турбулентности потока смеси на переход горения в детонацию было исследовано в CH4
+O2
+N2
смесях в ДКС длиной 7 м и диаметром 36 мм. Использовались метано-воздушные смеси в различной степени α обогащенные кислородом,
, где
- расход кислорода,
- расход азота. Скорость процесса определялась как средняя величина на определенной базе.
Получены зависимости концентрационных пределов детонации в CH4 -O2 -N2 смесях от числа Рейнольдса. Следует отметить, что границы существования детонации, т.е. концентрационные пределы, следует понимать условно, а именно при большей длине ДКС они могут расширяться.
Влияние диафрагм и препятствий на формирование детонации.
Численные исследования были проведены в Московском Государственном Университете [19]. На рис.5. представлены поля плотности, и скорости в последовательные промежутки времени в 6 и 7 турбулизирующих камерах. Видно, что в каждой камере после первой горение проходит одни и те же стадии: выход пламени из трубы, расширение и замедление в камере, выталкивание в следующую трубу с продолжением горения в камере.
Рис.5. Поля плотностей в 6-й – 7-й камерах. Отношение площадей камеры и трубы 25, объемная концентрация топлива 0.012. [19]
2. Цели.
Формирование детонации в потоке водородно-воздушной смеси при слабом инициировании.
Исследование воздействия преграды на переход горения в детонацию.
3. Экспериментальная установка.
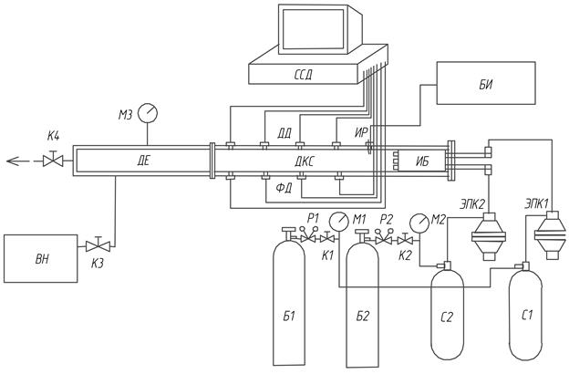
Работы по исследованию ПГД производились на следующей установке, общий вид которой представлен на рис.6.
Рис.6 . Внешний вид экспериментального стенда
ДКС – детонационная камера сгорания, ДЕ – демпферная емкость, ИБ – инжекторный блок, ИР – искровой разрядник, БИ – блок инициирования, С1, С2 – буферные емкости, Б1, Б2 – баллоны с реагентами, ЭПК1, ЭПК2 – электро-пневмоклапаны, ВН – вакуумный насос, ФД – фотодиоды, ДД – датчики давления, ССД – система сбора данных, К1, К2, К3, К4 – краны, Р1, Р2 – редукторы, М1, М2, М3 – манометры.
Рис.7. Инжекторный блок ИБ
Такая конструкция обеспечивала раздельную подачу реагентов и смешение их непосредственно в камере сгорания ДКС. Внутренний диаметр трубы составлял 83 мм, а длина ее – 2510 мм, вместе с демпферной емкостью ДЕ, представляющей собой продолжение детонационной камеры сгорания. С помощью крепежных фланцев к ДКС крепился инжекторный блок ИБ (рис.7), способный принимать различное положение вдоль трубы относительно системы инициирования – искрового разрядника. Реагенты поступали из буферных емкостей БЕ, а подача топлива отсекалась с помощью электро-пневмоклапанов ЭПК, время срабатывания которых составляло две
миллисекунды (рис.8). В процессе инжекции давление в буферных емкостях практически не менялось. Для этой цели объем буферных емкостей был увеличен примерно в 8 раз и составил 40 л. Так как подвижность водорода выше, чем воздуха, из-за его малого молярного веса, то для синхронного заполнения рабочей камеры компонентами детонационноспособной смеси необходимо было несколько задерживать поступление водорода относительно воздуха. Время такой задержки на открытие ЭПК легко может быть определено. Для этой цели стоит рассмотреть открытие клапанов как разрыв диафрагмы. Дальнейшее течение газа по подводящим трубкам стоит рассмотреть как движение газа за фронтом ударной волны. Для введения времени задержки используется линия временной задержки, позволяющая сдвинуть фазу сигнала на открытие водородного ЭПК относительно открытия воздушного ЭПК на 4 мс. Время открытия клапанов регулируется с помощью блока задержки.
Поджиг горючей смеси производился с помощью искрового разряда, создаваемого искровым разрядником ИР (рис.9). ИР располагался на расстоянии 150 мм от инжекторного блока. Разряд на ИР происходил через определенное время после подачи реагентов в камеру сгорания. Это время составляло от 20 до 90 мс и регулировалось с помощью задержки, так же, как и сигнал, задерживающий подачу водорода относительно подачи воздуха.
Для очистки рабочей камеры использовался форвакуумный насос ВН производительностью 3 л./c. В промежутках между экспериментами камера не осушалась полностью и не прочищалась, так что работы производились в горючей смеси, содержащей некоторое постоянное количество паров воды.
Конструкция инжекторного блока со сменными инжекторами позволяла производить исследования с различными типами инжекторов.
Средствами диагностики служили пьезодатчики PCB-112B10 и PCB-113B34 , расположенные вдоль трубы на одинаковом расстоянии друг от друга (четыре сечения). В одном сечении с ними располагались фотодиоды ФД. ДД и ФД позволяли определить время прихода ударной волны и фронта пламени с погрешностью меньшей одной мкс. Сигналы записывались на два четырехлучевых цифровых запоминающих осциллографа Tektronix 3014B (частота канала – 100 МГц) , образуя, таким образом, систему сбора данных ССД. Заключение по поводу фиксирования датчиками детонационной волны делалось на том основании, что фронт пламени регистрировался фотодатчиком одновременно с ударной волной, регистрируемой пьезодатчиком (в пределах разрешающей способности измерительных приборов).
4. Определение расхода реагентов.
В работе использовались в качестве инжекторов сверхзвуковые сопла. Для них была проведена серия тарировочных экспериментов, представляющие собой выяснение зависимости давления смеси и расхода в трубе от времени инжекции и давления в буферных емкостях. В ходе тарировочных работ время открытия клапанов равнялось времени инжекции при исследовании детонации.
Как оказалось, даже при довольно большом объеме буферной емкости расход газа не является постоянным. При этом наблюдается нестационарный режим истечения – 40 мс и выше, и квазистационарный – 0-40 мс. Это может быть объяснено либо адиабатическим понижением температуры в буферных емкостях из-за понижения давления вследствие истечения газа, либо образованием нестационарных процессов вблизи инжекторного блока, и возможно, наличием газовой пробки. На основе тарировочных данных была получена зависимость давления P детонационной смеси в ДКС от времени инжекции и давления в буферных емкостях P0 (рис.10.).

Рис.10 . Зависимость давления в камере P от времени инжекции t.
P0 – давление в водородной буферной емкости.
А ниже приведен мгновенный расход реагентов, выраженный в литрах, инжектируемых в ДКС за одну миллисекунду (рис.11.):

Рис.11 . Мгновенный расход компонентов
![]()
5. Глава I Переход горения в детонацию в движущейся водородо-воздушной смеси без диафрагмы.
Работы по исследованию перехода дефлаграции в детонацию и параметров детонации проводились на водородо-воздушной смеси в соотношении реагентов: 29,6%H2 +70,4%воздух. Рассмотрим механизм возникновения детонации. При поджигании горючей смеси возникает фронт нормального горения. Расширяющиеся (ускоряющиеся) продукты горения порождают волны сжатия и вызывают движение в газе перед фронтом пламени. Волны сжатия догоняют друг друга, образуя ударные волны. Перед фронтом пламени повышаются температура, давление, скорость газа, возникает турбулентность, происходит искривление фронта горения и увеличение площади его поверхности, приводящее к возрастанию скорости нормального горения. Сложное взаимодействие многочисленных волн в образовавшемся турбулентном потоке приводит в некоторый момент времени к возникновению детонации. Детонация почти всегда возникает непосредственно перед фронтом ускоряющегося пламени. Одновременно от точки, где произошел переход в детонацию, в обратном направлении начинает распространяться волна, называемая ретонационной волной(рис.12.).
Рис.12. Диаграмма перехода из дефлаграции в детонацию.
При этом скорость сформировавшейся детонационной волны ДВ резко возрастет, после чего начнет постепенно принимать стационарное значение (рис.13).
Рис.13. Эволюция скоростей ударной волны, а затем детонационной, принимающей стационарное значение
В нашем случае датчики давления располагались во 2,3,4 сечениях, а световые датчики в 1,2,4,5 сечениях детонационной камеры сгорания (рис.14.).
Рис.14. Общий вид детонационной камеры сгорания. B – инжекторный блок, C – детонационная камера сгорания, I – искровой разрядник, P – выход к насосу, R – демпферная емкость (цилиндрическая бочка), 1, 2,…- измерительные датчики.
Результаты.
В ходе эксперимента были получены данные, описывающие
процесс горения в ДКС и сведённые в таблицу 1.
| D2-3,м/с |
D3-4,м/с |
D2-4,м/с |
W1-2,м/с |
W2-4,м/с |
W4-5,м/с |
|
| 1 |
855 |
865 |
859 |
621 |
717 |
1784 |
| 2 |
860 |
872 |
872 |
737 |
729 |
1896 |
Таблица 1. Скорости распространения: D – ударной волны, W – фронта пламени, в соответствующих сечениях.

Рис.15. Осциллограмма датчиков давления и световых датчиков в отсутствии диафрагмы при энергии инициации E=0,1 Дж.
Из осциллограммы (рис.15.) видно, что фронт пламени с момента поджига, постепенно проходя все сечения, разгоняется. В 5-ом сечением он догоняет ударную волну и происходит детонация (скорость детонации водородо-воздушной смеси V=1900 м/с). По осциллограмме можно проследить ход ударной волны (рис.16.).

Рис.16 . Эволюция ударной волны.
![]()
![]()
![]()
6. Глава
II
Переход горения в детонацию в движущейся водородо-воздушной смеси с диафрагмой.
Водородо-воздушные смеси обладают меньшей теплотой сгорания, чем водородо-кислородные смеси. Поэтому возможность инициирования детонации за фронтом ударной волны на небольшой преддетонационной длине, при данной энергии поджига, мала. Существенным фактором, повышающим возможность перехода из дефлаграции в детонацию, является турбулизирующий фактор, увеличивающий поверхность горения, приводя тем самым к интенсивному тепловыделению. Существует множество турбулизирующих устройств, таких как расположенные внутри канала ударной трубы преграды, диафрагмы, различные сетки, а также шероховатые поверхности. Работы проводились с медной диафрагмой (рис.17.), установленной между 2-м и 3-м сечениями (рис.18.).
Рис.17 . Медная диафрагма.
Рис.18. Общий вид детонационной камеры сгорания. B – инжекторный блок, C – детонационная камера сгорания, I – искровой разрядник, P – выход к насосу, R – демпферная емкость (цилиндрическая бочка), 1, 2,…- измерительные датчики. Между 2-м и 3-м сечениями установлена медная диафрагма.
Механизм происхождения детонации отличается от предыдущего случая. При поджигании горючей смеси возникает фронт нормального горения. Перед фронтом пламени повышаются температура, давление, скорость газа, возникает турбулентность, происходит искривление фронта горения и увеличение площади его поверхности, приводящее к возрастанию скорости нормального горения. Скорость ударной волны выше скорости фронта пламени, поэтому она раньше достигает диафрагмы. В момент достижения диафрагмы, ударная волна отражается и происходит взрыв. После чего нагоняющий фронт горения объединяется с вновь появившейся ударной волной в комплекс и возникает детонация.
Результаты.
Экспериментально были получены данные качественно подтверждающие описанный механизм. В таблицу 2 сведены результаты исследования.
| D2-3,м/с |
D3-4,м/с |
D2-4,м/с |
W1-2,м/с |
W2-4,м/с |
W4-5,м/с |
|
| 1 |
855 |
1100 |
947 |
604 |
1356 |
1774 |
| 2 |
855 |
1172 |
969 |
600 |
1434 |
1774 |
| 3 |
871 |
1123 |
965 |
587 |
1418 |
1774 |
Таблица 2. Скорости распространения: D – ударной волны, W – фронта пламени, в соответствующих сечениях.

Рис.19. Осциллограмма датчиков давления и световых датчиков с диафрагмой при энергии инициации E=0,1 Дж.
Из осциллограммы (рис.19.) видно, что фронт пламени с момента поджига, постепенно проходя все сечения, разгоняется. После прохождения диафрагмы происходит детонация и в 4-м сечении регистрируется комплекс УВ, ФП (детонационная волна). Скорость сформировавшейся ДВ резко возрастает, после чего начинает спадать до постоянного значения (рис.21.). По осциллограмме можно проследить ход ударной волны (рис.20.)

Рис.2 0 . Эволюция ударной волны.

Рис.2 1 . Диаграмма инициирования детонации в движущейся смеси. 1 – волна ретонации, 2 – детонационная волна, 3 – фронт пламени, 4 – ударная волна, 5 – скорость детонации Чепмена-Жуге.
7. Сравнение результатов.
В Отделе №2 ИТЭС ОИВТ РАН была проделана работа по исследованию перехода горения в детонацию в метано-воздушной смеси [24]. Схема установки на рис.21.

Рис.21. Схема экспериментальной установки. DC- демпферная ёмкость, DCC- детонационная камера сгорания, IS- искровая система, FSS- система снабжения топливом, 1- инжекторный блок, 2- искровой разрядник, 3,4- буферные ёмкости, 5- электро-пневмоклапаны, 6- фотодиоды, 7- препятствия.
Препятствие выполнено в виде композиции 3-х диафрагм различного диаметра (рис.22.).

Рис.22. Препятствие в виде 3-х диафрагм.
В ходе эксперимента были получены интересные данные, из которых можно сделать следующие выводы:
Была сформирована детонация на расстоянии 80 калибров, вместо 20, полученных при слабом поджиге водородо-воздушной смеси.
Также, возникшая детонация в сечении 3-ей диафрагмы препятствия, оказалась неустойчива, в отличии от детонации сформированной в водородо-воздушной смеси при слабом инициировании.
7. Выводы.
1. Была сформирована детонация на расстоянии 20 калибров в потоке водородо-водушной смеси при слабом инициировании.
2. Экспериментально показано, что применение кольцевых преград в ДКС способствует сокращению длины и времени формирования детонации в движущейся смеси.
3. Полученная детонация волна оказалась устойчивой в отличии от детонации сформированной в метано-воздушной смеси.
8. Литература.
1. Бакланов Д.И., Гвоздева Л.Г., Калтаев А., Щербак Н.Б. Переход горения в детонацию в турбулентном потоке в пульсирующем детонационном двигателе // Химическая физика, 2005, т.24, №7, с.5-12.
2. Бакланов Д.И., Володин В.В., Головастов С.В., Голуб В. В. Возникновение детонации в потоке горючей смеси // Химическая физика, 2005, т.24, №7, с.13-15.
3. Jackson S.I., Grunthaner M.P. and Shepherd J.E. Wave implosion as an initiation mechanism for pulse detonation engines // 39th AIAA, paper 2003-4820, 2003.
4. Зельдович Я.Б., Когарко С., Смирнов Н.Н. Экспериментальные исследования сферической детонации в газах // Сов. физ.-тех. физика, 1956, т.1, с.1689-1713.
5. Михельсон В. А. О нормальной скорости воспламенения гремучих газовых смесей//Учен. зап. Моск. ун-та. Отд. физ.-матем. 1893. Вып. 10. С. 1-92.
6. Щелкин К. И., Трошин Я. К. Газодинамика горения. М.: Изд-во АН СССР, 1963.
7. Зельдович Я. Б. К вопросу об энергетическом использовании детонационного горения//ЖЭТФ. 1940. Т. 10. С . 542.
8. Neumann J. Theory of detonation waves//Office of Scientific Research and Development Rept. 1942. N 549.
9. Doring W., Burkhard G. Contriburion to the theory of detonation//Tech. Rept., Wright-Patterson Air Forse Base, Dayton, 1949.
10. Войцеховский Б. В., Митрофанов В. В., Топчиян М. Е. Структура фронта детонации в газах. Новосибирск: Изд-во СО АН СССР, 1963.
11. Васильев А. А., Митрофанов В. В., Топчиян М. Е. Детонационные волны в газах. // Физика горения и взрыва. 1987. №5. С. 109–131.
12. А.А. Васильев, Ю.А. Николаев, В.Ю. Ульяницкий. Критическая энергия инициирования многофронтовой детонации. ФГВ 1979, т. 15, № 6, с. 94-103.
13. Зельдович Я. Б., Компанеец А. С. Теория детонации. М.: Гостехиздат, 1955.
14. Вильяме Ф. А. Теория горения. М.: Наука, 1971.
15. Oppenheim A.K., Urtiew P. A. Experimental observations of the transition to detonation in an explosive gas // Proc Roy Soc A. 1966. V. 295. P. 13-28.
16. Зельдович Я. Б., Либрович В. Б., Махвиладзе Г. М., Сивашинский Г. М. Развитие детонации в неравномерно нагретом газе // Журнал прикладной механики и технической физике. 1970. № 2. С. 76-82.
17. Mallard E., Le Chatelier H. L.//Compt. Rend. Acad. Sci. Paris. 1881. V. 93. P. 145.
18. Bertelot M., Vieille P.// Compt. Rend. Acad. Sci. Paris. 1881. V. 93. P. 18.
19. N.N.Smirnov, V.F.Nikitin, Fundamentals of Deflagration to Detonation Transition in Gases, In: CD Proc. of 19th ICDERS. 2003. Hakone. ISBN 4-9901744-1-0.
20. Baklanov D.I., Gvozdeva L.G., Scherbak N.B. Pulsed detonation combustion chamber for PDE /In: High-Speed Deflagration and Detonation: Fundamentals and Control. Ed. by G.D. Roy and others. Moscow: ELEX-KM Publishers, 2001, P. 239-250.
21. Baklanov D.I., Gvozdeva L.G., Scherbak N.B. The formation of high-speed gas flow in frequency mode during non-stationary propagation of detonation // AIAA Paper 98-2562.
22. Baklanov D.I., Bormotova T.A., Golub V.V., Makeich A.A., Volodin V.V., Meyers J., Lu F.K. The influence of shear layer control on DDT // AIAA paper 2003 – 1207.
23. D.I. Baklanov, S.V. Golovastov, V.V. Golub, V.V. Volodin. Detonation formation in moving detonable mixture flow. // Application of Detonation to Propulsion / [Ed. by G. Roy at al.]. – Moscow: TORUS PRESS LTD., 2004. p.225-231.
24. FLAME PROPAGATION IN FLOW OF METHANE-AIR MIXTURE
Golovastov S.V., BaklanovD.I., VolodinV.V., FalyakhovT.M.