| Скачать .docx |
Реферат: Истечение жидкостей из отверстий и насадков
|
СОДЕРЖАНИЕ
Введение........................................................................................................................................ 3
1. Истечение через малые отверстия в тонкой стенке при постоянном напоре............................................................................................................................................. 4
2. Истечение при несовершенном сжатии.......................................................... 7
3. Истечение под уровень............................................................................................... 8
4. Истечение через насадки при постоянном напоре................................. 9
5. Истечения через отверстия и насадки при переменном напоре (опорожнение сосудов)..................................................................................................... 12
6. Истечение из-под затвора в горизонтальном лотке.............................. 14
7. Давление струи жидкости на ограждающие поверхности............. 17
Заключение................................................................................................................................ 19
Литература.................................................................................................................................. 20
Введение
Почти в любой современной машине или аппарате в том или ином виде происходит истечение жидкости из отверстий и насадков. Поэтому важно знать параметры истечения.
Рассмотрим различные случаи истечения жидкости из резервуаров, баков, котлов через отверстия и насадки (коротки трубки различной формы) в атмосферу или пространство, заполненное газом или той же жидкость. В процессе такого истечения запас потенциальной энергии, которым обладает жидкость, находящаяся в резервуаре, превращается в кинетическую энергию свободной струи.
Основным вопросом , который интересует в данном случае, является определение скорости истечения и расхода жидкости для различных форм отверстий и насадков.
1. Истечение через малые отверстия в тонкой стенке при постоянном напоре
Рассмотрим большой резервуар с жидкостью под давлением Р0 , имеющий малое круглое отверстие в стенке на достаточно большой глубине Н0 от свободной поверхности (рис.1).

Рис. 1. Истечение из резервуара через малое отверстие
Жидкость вытекает в воздушное пространство с давлением Р1 . Пусть отверстие имеет форму, показанную на рис.2, а, т.е. выполнено в виде сверления в тонкой стенке без обработки входной кромки или имеет форму, показанную на рис.2, б, т.е. выполнено в толстой стенке, но с заострением входной кромки с внешней стороны. Струя, отрываясь от кромки отверстия, несколько сжимается (рис.2, а). Такое сжатие обусловлено движением жидкости от различных направлений, в том числе и от радиального движения по стенке, к осевому движению в струе.

Рис. 2. Истечение через круглое отверстие
Степень сжатия оценивается коэффициентом сжатия.
![]()
где Sс и Sо - площади поперечного сечения струи и отверстия соответственно; dс и dо - диаметры струи и отверстия соответственно.
Скорость истечения жидкости через отверстие такое отверстие
![]()
где Н - напор жидкости, определяется как
![]()
φ- коэффициент скорости
![]()
где α - коэффициент Кориолиса; ζ- коэффициент сопротивления отверстия.
Расход жидкости определяется как произведение действительной скорости истечения на фактическую площадь сечения:
![]()
Произведение ε и φ принято обозначать буквой и называть коэффициентом расхода, т.е. μ = εφ.
В итоге получаем расход
![]()
где ΔР - расчетная разность давлений, под действием которой происходит истечение.
При помощи этого выражения решается основная задача - определяется расход.
Значение коэффициента сжатия ε, сопротивления ζ, скорости φ и расхода μ для круглого отверстия можно определить по эмпирически построенным зависимостям. На рис.3 показаны зависимости коэффициентов ε, ζ и μ от числа Рейнольдса, подсчитанного для идеальной скорости
![]()
где ν - кинематическая вязкость.

| Рис. 3. Зависимость ε, φ и от числа Reu |
Рис. 4. Инверсия струй |
При истечении струи в атмосферу из малого отверстия в тонкой стенке происходит изменение формы струи по ее длине, называемое инверсией струи (рис.4). Обуславливается это явление в основном действием сил поверхностного натяжения на вытекающие криволинейные струйки и различными условиями сжатия по периметру отверстия. Инверсия больше всего проявляется при истечении из некруглых отверстий.
2. Истечение при несовершенном сжатии
Несовершенное сжатие наблюдается в том случае, когда на истечение жидкости через отверстие и на формирование струи оказывает влияние близость боковых стенок резервуара (рис.5).

Рис. 5. Схема несовершенного сжатия струи
Так как боковые стенки частично направляют движение жидкости при подходе к отверстию, то струя по выходе из отверстия сжимается в меньшей степени, чем из резервуара неограниченных размеров, как это было описано в п.1.
При истечении жидкостей из цилиндрического резервуара круглого сечения через круглое отверстие, расположенное в центре торцевой стенки, при больших числах Re коэффициент сжатия для идеальной жидкости можно найти по формуле, представленной Н.Е. Жуковским:
![]()
где n - отношение площади отверстия Sо к площади поперечного сечения резервуара S1
![]()
Расход жидкости при несовершенном сжатии
![]()
где напор Н нужно находить с учетом скоростного напора в резервуаре
![]()
3. Истечение под уровень
Часто приходится иметь дело с истечением жидкости не в атмосферу, а в пространство, заполненное этой же жидкостью (рис.6) такой случай называется истечением под уровень , или истечением через затопленное отверстие.

Рис.6. Истечение по уровень
В этом случае вся кинетическая энергия струи теряется на вихреобразование, как при внезапном расширении.
Скорость истечения в сжатом сечении струи
![]()
где φ - коэффициент скорости; Н - расчетный напор,
![]()
Расход жидкости равен
![]()
Таким образом, имеем те же расчетные формулы, что и при истечении в воздух (газ), только расчетный напор Н в данном случае представляет собой разность гидростатических напоров по обе стенки, т.е. скорость и расход жидкости в данном случае не зависят от высот расположения отверстия.
Коэффициенты сжатия и расхода при истечении под уровень можно принимать те же, что и при истечении в воздушную среду.
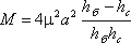
4. Истечение через насадки при постоянном напоре
Внешним цилиндрическим насадком называется короткая трубка длиной, равной нескольким диаметрам без закругления входной кромки (рис. 5.7). На практике такой насадок часто получается в тех случаях, когда выполняют сверление в толстой стенке и не обрабатывают входную кромку. Истечение через такой насадок в газовую среду может происходить в двух режимах.
Первый режим - безотрывный режим . При истечении струя, после входа в насадок сжимается примерно так же, как и при истечении через отверстие в тонкой стенке. Затем струя постепенно расширяется до размеров отверстия из насадка выходит полным сечением (рис.7).

Рис.7. Истечение через насадок
Коэффициент расхода μ, зависящий от относительной длины насадка l / d и числа Рейнольдса, определяется по эмпирической формуле:

Так как на выходе из насадка диаметр струи равен диаметру отверстия, то коэффициент сжатия ε = 1 и, следовательно, μ = φ , а коэффициент сопротивления ζ = 0,5.
Если составить уравнение Бернулли для сжатого сечения 1-1 и сечения за насадком 2-2 и преобразовать его, то можно получить падение давления внутри насадка
P2
- P1
0,75Hg
ρ
При некотором критическом напоре Нкр абсолютное давление внутри насадка (сечение 1-1 ) становится равным нулю (P1 = 0), и поэтому
![]()
Следовательно, при Н > Нкр
давление P1
должно было бы стать отрицательным, но так как в жидкостях отрицательных давлений не бывает, то первый режим движения становится невозможным. Поэтому при Н
Нкр происходит изменение режима истечения, переход от первого режима ко второму (рис.8).

Рис.8. Второй режим истечения через насадок
Второй режим характеризуется тем, что струя после сжатия уже не расширяется, а сохраняет цилиндрическую форму и перемещается внутри насадка, не соприкасаясь с его стенками. Истечение становится точно таким же, как и из отверстия в тонкой стенке, с теми же значениями коэффициентов. Следовательно, при переходе от первого режима ко второму скорость возрастает, а расход уменьшается благодаря сжатию струи.
При истечении через цилиндрический насадок под уровень первый режим истечения не будет отличаться от описанного выше. Но при Н > Нкр перехода ко второму режиму не происходит, а начинается кавитационный режим.
Таким образом, внешний цилиндрический насадок имеет существенные недостатки: на первом режиме - большое сопротивление и недостаточно высокий коэффициент расхода, а на втором - очень низкий коэффициент расхода. Недостатком также является возможность кавитации при истечении под уровень.
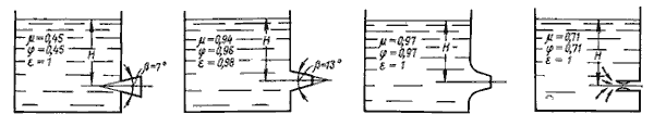
Внешний цилиндрический насадок может быть значительно улучшен путем закругления входной кромки или устройства конического входа. На рис.9 даны различные типы насадков и указаны значения соответствующих коэффициентов.

Рис.9. Истечение жидкости через насадки а - расширяющиеся конические;
б - сужающиеся конические; в - коноидальные; г - внутренние цилиндрические
Конически сходящиеся и коноидальные насадки применяют там, где необходимо получить хорошую компактную струю сравнительно большой длины при малых потерях энергии (в напорных брандспойтах, гидромониторах и т.д.). Конически сходящиеся насадки используют для увеличения расхода истечения при малых выходных скоростях.
5. Истечения через отверстия и насадки при переменном напоре (опорожнение сосудов)
Рассмотрим случай опорожнения открытого в атмосферу сосуда при постоянно уменьшающемся напоре, при котором течение является неустановившемся (рис.10).
Однако если напор, а следовательно, и скорость истечения изменяются медленно, то движение в каждый момент времени можно рассматривать как установившееся, и для решения задачи применить уравнение Бернулли.

Рис.10. Схема опорожнения резервуара
Обозначим переменную высоту уровня жидкости в сосуде за h , площадь сечения резервуара на этом уровне S , площадь отверстия Sо , и взяв бесконечно малый отрезок времени dt , можно записать следующее уравнение объемов:

где dh - изменение уровня жидкости за время dt .
Отсюда время полного опорожнения сосуда высотой Н
![]()
Если будет известен закон изменения площади S по высоте h , то интеграл можно подсчитать. Для призматического сосуда S = const (рис.11), следовательно, время его полного опорожнения
![]()
Из этого выражения следует, что время полного опорожнения призматического сосуда в два раза больше времени истечения того же объема жидкости при постоянном напоре, равном первоначальному.
|
|
|
| Рис.11. Опорожнение призматического резервуара |
Рис.12. Опорожнение непризматического резервуара |
Для определения времени истечения жидкости из горизонтального цилиндрического сосуда (цистерны) (рис.12) выразим зависимость переменной площади S от h :
![]()
где l - длина цистерны; D - диаметр цистерны.
Тогда время полного опорожнения такой цистерны, т.е. время изменения напора от h1 = D до h2 = 0, получится равным
![]()
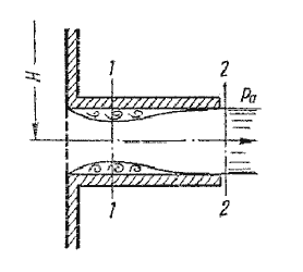
6. Истечение из-под затвора в горизонтальном лотке
Во многих водозаборных и водопропускных гидротехнических сооружениях расходы воды проходят через отверстия, перекрываемые затворами. Затворы поднимают на определенную высоту над дном и пропускают через отверстия необходимые расходы. Чаще всего на гидромелиоративных сооружениях устраивают отверстия прямоугольного сечения, истечение из которых и рассмотрим.
Отверстия могут быть незатопленными (истечение свободное) и затопленными, когда уровень воды за затвором влияет на истечение.
Если отверстие незатопленное, то вытекающая из-под затвора струя находится под атмосферным давлением (рис.13). При истечении через затопленное отверстие струя за затвором находится под некоторым слоем воды (рис.14).

Рис. 13. Истечение из-под затвора через незатопленное отверстие
Когда затвор приподнят над дном, вытекающая из-под него струя испытывает сжатие в вертикальной плоскости. На расстоянии, примерно равном высоте отверстия а (высоте поднятия затвора), наблюдается наиболее сжатое сечение. Глубина в сжатом сечении hc связана с высотой отверстия а следующей зависимостью:
hc = ε'a
где ε' - коэффициент вертикального сжатия струи.
Коэффициент вертикального сжатия ε' зависит от отношения высоты отверстия а к напору (глубине воды перед затвором) Н . Для ориентировочных расчетов можно принимать ε' = 0,64.
Если составить уравнение Бернулли для сечений, проведенных перед затвором и в сжатом сечении, после преобразований получим:
![]()
где φ - коэффициент скорости,
![]()
где Н0 - напор с учетом скорости подхода,
![]()
Тогда расход при истечении из-под затвора при незатопленном отверстии определится по формуле:
![]()
где S - площадь отверстия, S = ab .

Рис.14. Истечение из-под затвора при затопленном отверстии
При истечении через затопленное отверстие (рис.14) расход определится по формуле:
![]()
где hz - глубина в том сечении, где наблюдается максимальное сжатие истекающей из-под затвора струи.
Глубина hz определяется из зависимости
![]()
в которой
![]()
а hб - глубина в отводящем канале (бытовая глубина).
7. Давление струи жидкости на ограждающие поверхности
Если вытекающая из отверстия или насадка струя попадает на неподвижную стенку, то она с определенным давлением воздействует на нее. Основное уравнение, по которому вычисляется давление струи на площадку, имеет вид
![]()
На рис.15 приведены наиболее часто встречающиеся в практике ограждающие поверхности (преграды) и уравнения, по которым вычисляется давление струи на соответствующую поверхность.
Величина давления струи, естественно, зависит от расстояния насадка до преграды. С увеличением расстояния струя рассеивается и давление уменьшается. Соответствующие исследования показывают, что в данном случае струя может быть разбита на три характерные части: компактную, раздробленную и распыленную (рис.16).
В пределах компактной части сохраняется цилиндрическая форма струи без нарушения сплошности движения. В пределах раздробленной части сплошность потока нарушается, причем струя постепенно расширяется. Наконец, в пределах распыленной части струи происходит окончательный распад потока на отдельные капли.

Рис.15. Взаимодействие струи жидкости с неподвижной поверхностью

Рис. 16. Составные части свободной струи
Заключение
Истечение жидкости из отверстий и насадков (коротких трубок различной формы и сечений) характерно тем, что в этом процессе потенциальная энергия жидкости на очень коротком расстоянии и за очень короткое время превращается в кинетическую энергию струи (или капель в общем случае). При этом происходят какие-то, большие или не очень, потери напора. Подобные режимы течения жидкости возникают при вытекании жидкости из резервуаров, баков, котлов в атмосферу или пространство, заполненное жидкостью. Аналогичные явления происходят при протекании жидкости через малые отверстия и щели в направляющей, контрольной и регулирующей аппаратуре различных гидравлических систем.
Основной вопрос, на который нужно было найти ответ, состоял в том, как определить расход и скорость истечения через отверстия или насадки различной формы.
Литература
1. Осипов П.Е. Гидравлика, гидравлические машины и гидропривод. М.: Лесная промышленность, 1981, 424 с.
2. Идельчик И.Е. Справочник по гидравлическим сопротивлениям. - М.: Машиностроение, 1975, 559 с.
3. Башта Т.М. и др. Гидравлика, гидромашины и гидроприводы. - М.: Машиностроение, 1982, 423 с.
4. Лабораторный практикум по гидравлике, гидромашинам и гидроприводу / Под ред. Вильнера Я.М.: Минск, Высшая школа, 1980, 224 с.
5. Лабораторный курс гидравлики, насосов и гидропередач / Под ред. Руднева С.С. и Подвидза Л.Г. - М.: Машиностроение, 1974, 415 с.

