| Скачать .docx |
Реферат: Расчет электрической цепи постоянного тока
Задание на выполнение работы
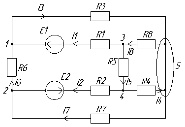
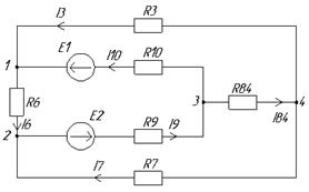
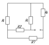
Схема исследуемой цепи:

Рис. 1. Принципиальная схема исследуемой цепи
Таблица 1. Параметры элементов схемы
| Элемент схемы | E1 | E2 | R1 | R2 | R3 | R4 | R5 | R6 | R7 | R8 |
| U, V | 20 | 47 | ||||||||
| RF , W | 51 | 130 | 175 | 240 | 300 | 140 | 179 | 500 |
Пункт 1. Рассчитаем значения токов ветвей методом уравнений Кирхгофа. Для расчета используем схему, приведенную на рис. 1. Данная схема содержит 5 узлов, 8 ветвей, 2 источника ЭДС и не содержит источников тока. Подсчитаем количество уравнений системы, составленной по методу Кирхгофа.
Количество уравнений для первого закона равно:
![]()
где Nу – количество узлов рассматриваемой принципиальной схемы.
Количество уравнений для второго закона равно:
,
где Nв , NT – количество узлов и источников тока соответственно.
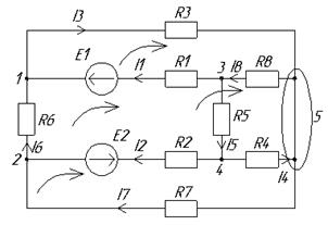
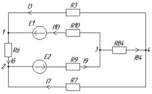
Подставив значения, получаем, что количество уравнений, составленных по первому закону равно 4, а по второму также 4. Приняв положительное направление обхода контуров и направления токов в ветвях, отметим это на схеме (рис. 2.).

Рис. 2
Составим систему уравнений, основываясь на направлениях токов и положительном направлении обхода.

Подставив значения сопротивлений резисторов из таблицы 1, сформируем матричное уравнение вида AX= B, где


Решая указанную систему, получаем искомую матрицу Х, которая содержит значения токов.

Найденные токи перечислены в таблице 2.
Таблица 2
| Номер тока | 1 | 2 | 3 | 4 | 5 | 6 | 7 | 8 |
| Значение тока, mA | 11 | -16 | 2 | 7 | -9 | -10 | 6 | 2 |
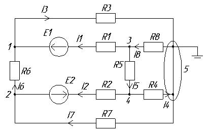
Пункт 2. Рассчитаем токи в исходной схеме по методу контурных токов. Количество уравнений для данного метода равно количеству уравнений для второго закона Кирхгофа, которое было подсчитано ранее. Исследуемая принципиальная схема содержит 4 контура, в которых действуют 4 контурных тока, направления которых показаны на рис. 3.

Рис. 3. Условные положительные направления контурных токов
Учитывая эти положительные направления можно записать систему уравнений по методу контурных токов в общем виде:
![]()

Собственные сопротивления контуров:

Общие сопротивления контуров:

Контурные Э.Д.С.:

Матрицы, составленные по представленным данным имеют вид:


Решив систему, получим:
![]()
Зная контурные токи, находим токи в ветвях:

Сравнивая значения токов, полученные методом контурных токов и методом уравнения Кирхгофа, видим, что они практически совпадают.
Пункт 3. Рассчитаем токи методом узловых напряжений. Схема с нумерацией узлов и условными положительными направлениями узловых напряжений показана на рис. 4.

Рис. 4. Направления узловых напряжений.
Анализируемая схема содержит четыре независимых узла, значит количество уравнений будет равно количеству уравнения первого закона Кирхгофа, а общий вид системы для определения узловых напряжений будет таким:
![]()

Собственные проводимости узлов:

Общие проводимости узлов:

Узловые токи:

Матрицы имеют вид:


Решив систему, получим:

Зная узловые напряжения, найдем токи ветвей. Для этого воспользуемся вторым законом Кирхгофа:

Найденные токи совпадают с рассчитанными ранее другими методами.
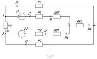
Пункт 4. Преобразование заданной схемы в трёхконтурную.


Рис. 5. Преобразование заданной схемы в трёхконтурную
Изменяются параллельно соединённые участки цепи одним эквивалентным.
![]()
![]()
![]()
Пункт 5. Рассчитаем токи в исходной схеме по методу контурных токов. Схема содержит три независимых контура с тремя контурными токами, она изображена на рис. 6.

Рис. 6. Нахождение тока в преобразованной цепи
Необходимо составить систему уравнений для первого и второго уравнения Кирхгофа.
Составляем матрицу для получения нужных токов.


Получаем искомые токи:

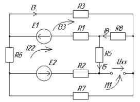
Пункт 6. Расчёт тока в заданной ветке методом эквивалентного генератора.
После разрыва исследуемой ветви схема примет вид, показанный на рис. 7.

Рис. 7.
После разрыва ветви
схема упрощается: резисторы
теперь образуют одну ветвь с током
.
Рассчитаем напряжение холостого хода, составив уравнение второго закона Кирхгофа:
.
Для того, чтобы рассчитать
, необходимо знать токи знать токи
и
. После разрыва
схема содержит 3 независимых контура и 4 независимых узла. Поэтому рассчитаем токи методом контурных токов. Система уравнений в общем виде будет такой:

Собственные сопротивления контуров:

Общие проводимости узлов:

Узловые токи:

Матрицы имеют вид:
, 
Ее решение:
Искомые токи ![]()
![]()
Теперь можно найти
:
![]()
Для расчета
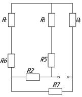
исключим из схемы источники энергии, оставив их внутренние сопротивления. Для этого имеющиеся в схеме источники напряжения необходимо замкнуть накоротко. Схема без источников имеет вид (рис. 8):

Рис. 8. Схема для определения ![]()
В принципиальной схеме резисторы
,
и
соединены треугольником. Заменим это соединение эквивалентной звездой
,
,
. Имеем:

![]()
После замены схема имеет вид (рис. 9):

Рис. 9.
Проведём нужные преобразования ещё раз:


Рис. 10.
После сделанных преобразований мы имеем еще один условный треугольник
,

Рис. 11.

Эквивалентное сопротивление генератора можно найти следующим способом:
![]()
Для проверки правильности расчетов определим по формуле эквивалентного генератора ток в ветви с
в исходной схеме:
![]()
Этот ток практически совпадает с найденным ранее, что свидетельствует о буквальной правильности вычислений.
| Ток | Метод уравнений закона Кирхгофа | Метод контурных токов | Метод узловых напряжений | Метод уравнений Кирхгофа для преобразованной схемы | Метод эквивалентного генератора |
| I1 | 0,11 | 0,11 | 0,11 | ||
| I2 | -0,16 | -0,16 | -0,12 | ||
| I3 | 0,02 | 0,02 | 0,02 | -0,02 | |
| I4 | -0,07 | -0,07 | 0,07 | -0,1 | -0,07 |
| I5 | -0,1 | -0,1 | -0,1 | ||
| I6 | -0,01 | -0,01 | -0,01 | 0,01 | |
| I7 | 0,06 | 0,06 | 0,06 | 0,06 | |
| I8 | 0,02 | 0,02 | 0,02 | ||
| I9 | 0,15 | ||||
| I10 | 0,11 |