| Скачать .docx |
Курсовая работа: Особенности фазовых превращений в бинарных смесях
ФЕДЕРАЛЬНОЕ АГЕНСТВО ПО ОБРАЗОВАНИЮ
ГОСУДАРСТВЕННОЕ ОБРАЗОВАТЕЛЬНОЕ УЧРЕЖДЕНИЕ
ВЫСШЕГО ПРОФЕССИОНАЛЬНОГО ОБРАЗОВАНИЯ
«БАШКИРСКИЙ ГОСУДАРСТВЕННЫЙ ПЕДАГОГИЧЕСКИЙ УНИВЕРСИТЕТ им. М. АКМУЛЛЫ»
(ГОУ ВПО «БГПУ им. М. АКМУЛЛЫ»)
Факультет физико-математический
Кафедра общей физики
Специальность физика
Курс IV
ОСОБЕННОСТИ ФАЗОВЫХ ПРЕВРАЩЕНИЙ В БИНАРНЫХ СМЕСЯХ
КУРСОВАЯ РАБОТА
Научный руководитель д.ф.-м.н., профессор
.
Уфа 2007
СОДЕРЖАНИЕ
Введение
1. Критические явления в двойных смесях
1.1. Критические явления при испарении двойных смесей
1.2. Критические явления растворения в двойных смесях
1.3. Критические явления и устойчивость по отношению к диффузии
1.4. Геометрическая интерпретация условия устойчивости по отношению к диффузии
2. Связь между условиями механической устойчивости и устойчивости по отношению к диффузии в двойных системах
3. Расслаивание в регулярных растворах
4. Фазовые переходы смачивания и предсмачивания в бинарной системе (метанол-гептан)
5. Взаимная растворимость в твердом состоянии
Приложение
Литература
ВВЕДЕНИЕ
Важно, представлять, что проблема фазовых переходов не зависит от существования уравнения состояния, общего для обеих фаз. Такого рода непрерывное уравнение неизвестно, например, для твердого тела и жидкости. Расчет условий сосуществования фаз, основывающийся на использовании общего для них уравнения состояния и применении теоремы Максвелла, необходимо рассматривать как искусственный прием, который может привести к правильным результатам, но не может быть обоснован при последовательном статистическом рассмотрении.
В действительности, при рассмотрении проблемы фазовых переходов, задача заключается в изучении мольной свободной энергии F /п. В области сосуществования двух фаз F / n является линейной функцией мольного объема, а давление остается постоянным. Термодинамика сама по себе не может ничего сказать ни о существовании таких областей, ни об их числе. Эта задача должна решаться методами статистической механики взаимодействующих систем, которые еще не вполне разработаны. Все же можно отметить, что фазовые переходы непосредственно связаны с числом геометрических измерений системы. Можно показать, что в одномерном случае, когда молекулы располагаются вдоль некоторой линии, фазовые переходы невозможны независимо от природы межмолекулярных сил. Термодинамические свойства непрерывно изменяются во всей области изменения температуры и «объема», которым в данном случае является длина фазы.
Общая формулировка условий, определяющих возникновение новой фазы, является важной проблемой теоретической физики, которая не нашла еще своего полного разрешения.
1. КРИТИЧЕСКИЕ ЯВЛЕНИЯ В ДВОЙНЫХ СМЕСЯХ
1.1. КРИТИЧЕСКИЕ ЯВЛЕНИЯ ПРИ ИСПАРЕНИИ ДВОЙНЫХ СМЕСЕЙ
Рассмотрим теперь подробно критические явления, происходящие при испарении двойной смеси. В этом случае удобно рассматривать T — р-диаграмму при постоянном составе (рис.1). При наличии одного чистого вещества получается просто кривая АС, оканчивающаяся в критической точке С. Когда речь идет о смеси постоянного состава, необходимо принять во внимание, что одной и той же температуре соответствуют два значения давления, одно из которых соответствует жидкости, а другое пару того же самого состава. Этим двум давлениям соответствуют две точки (Разумеется, жидкость и пар в этих состояниях не находятся в равновесии.) При повышении температуры мы получаем кривую FGKH на рис.1, левая ветвь которой от F до К соответствует жидкости, а правая ветвь КН — пару. Точка К является критической точкой, в которой обе фазы тождественны. Вблизи К расположены точка М, соответствующая температуре Т m и также точка L , соответствующая давлению рт . Нужно указать, что в некоторых системах положение точки К может отличаться от изображенного на рис.1: она может находиться не между L и М, но и левее L или ниже М. Установить это, конечно, можно только экспериментом, Критическое давление и критическая температура в случае двойной смеси имеют совершенно иной смысл, чем для чистого вещества. Так, максимальному давлению, при котором могут сосуществовать две фазы, соответствует точка L , а максимальной температурой, при которой возможно сосуществование двух фаз, является температура Тт вточке М.
Рис.1. T – p-Диаграмма двойной Рис.2 .Критическая кривая в смеси постоянного состава. системеСHСl3 — СO2. А — критическая точка чистого СHСl3 , В — критическая точка чистой СО2 . . |
![]() |
![]() |
В случае, изображенном на рис.1, выше критического давления имеется, следовательно, область давлении рс рт , в которой система может находиться в конденсированном состоянии, и, аналогично, имеется область температур Тс Т m , расположенная выше критической температуры, в которой может происходить конденсация. Для чистого вещества эти три точки L , К и М совпадают, но для двойной смеси эхо не является необходимым.
При рассмотрении рис.1 обнаруживаются еще две интересные особенности. Если повышать температуру системы при постоянном давлении p1 , то первоначально система содержит только жидкость. При пересечении изобары и кривой жидкости в точке G начинается испарение. В общем случае изобара затем пересечет ветвь кривой, соответствующую пару, и это будет соответствовать моменту полного испарения. Однако в рассматриваемом нами частном случае изобара снова пересекает кривую жидкости в точке D , расположенной между L и К. Вэтой точке имевшийся ранее пар исчезает. Это явление называется ретроградным испарением. По ту сторону D система переходит из жидкого состояния в газообразное без разделения на две фазы. Подобным же образом, если сжимать пар при температуре Т1 , при пересечении изотермы с кривой пара начинается конденсация. Однако изотерма еще раз пересекает кривую пара между точками М и К, и образовавшаяся было жидкость снова испаряется. Это явление называют ретроградной конденсацией.
Геометрическим местом критических точек, соответствующих последовательности смесей различного состава, является критическая кривая, изображенная на рис.2.
Помимо диаграммы Т —р при постоянном составе, полезно исследовать зависимость мольных объемов обеих фаз от состава при постоянной температуре. Если температура ниже любой из критических температур па критической кривой, диаграмма имеет вид, изображенный на рис.3.
Линия va г vb г соответствует мольным объемам паровой фазы, линия
va ж v в ж относится к жидкой фазе. Прямые va ж va г , q ж q т , …, соединяющие две фазы, находящиеся в равновесии, были названы Ван дер Ваальсом бинодалями.

Рис. 3. v —x-диаграмма двойной смеси ниже критической области (Т = const).
Рис.4. v —x- диаграмма двойной смеси в критической области (Т= const).
При температуре, лежащей между критическими температурами образующих смесь чистых компонентов, диаграмма v — xприобретает вид, изображенный на рис.4. Бинодали становятся все короче и короче и, наконец, исчезают в критической точке К. Кривая va г r г Kr ж va ж называемая кривой насыщения .
Нужно отметить, что на рис.3 и рис.4 представлены лишь примеры типичного поведения смесей, и возможны также многие другие формы кривых.
1.2. КРИТИЧЕСКИЕ ЯВЛЕНИЯ РАСТВОРЕНИЯ В ДВОЙНЫХ СМЕСЯХ
Помимо критических явлений при испарении, когда жидкая фаза становится тождественной газовой фазе, существуют также критические явления при растворении, при которых тождественными в критической точке становятся две жидкие или две твердые фазы, причем каждая из них является раствором.
Например, н -гексан и нитробензол при обычных давлениях смешиваются в любых отношениях при температурах, превышающих 19° С. Ниже этой температуры образуются две фазы, одна из которых обогащена гексаном, другая — нитробензолом. При 10° С мольные доли нитробензола и гексана в одной из фаз равны соответственно 0,18 и 0,82, а в другой — 0,70 и 0,30 (см. рис.5).

Рис.5. Фазовая диаграмма системы н -гексан — нитробензол при атмосферном давлении. x C 6 Hs NO 2.
В точке С обе жидкие фазы становятся одинаковыми. Эта точка называется критической точкой растворения. При изменении общего давления критическая температура и состав критической смеси также изменяются и образуют критическую кривую растворения.
Повышение давления повышает критическую температуру растворения и вызывает уменьшение взаимной растворимости веществ. Мы уже видели ранее, что давление оказывает незначительное влияние на термодинамические свойства конденсированных фаз; и в рассматриваемом случае повышение давления на 250 атм также изменяет критическую температуру всего лишь на 1,6° С.
В приведенных выше примерах критическая температура является наивысшей температурой, при которой возможно сосуществование двух фаз; в таких случаях говорят о верхней критической температуре растворения.
Иногда наблюдается и другой тип поведения систем, соответствующий рис.6, на котором изображена фазовая диаграмма системы с нижней крити ческой температурой растворения. Нижеэтой температуры система всегда образует одну устойчивую фазу. Примерами систем такого рода являются жидкая двуокись углерода — нитробензол, диэтиламин — вода и триэтиламин — вода.


Рис.6. Фазовая диаграмма системы диэтиламин — вода с нижней критической температурой растворения {р = const).
Рис.7. Фазовая диаграмма системы м -толуидин—глицерин с верхней и нижней критическими температурами растворения (р= 1 атм)
Наконец, существуют системы, обладающие как верхней, так и нижней критическими температурами -растворения. Примером является система м-толуидин — глицерин, фазовая диаграмма которой изображена на рис.7.
1.3 КРИТИЧЕСКИЕ ЯВЛЕНИЯ И УСТОЙЧИВОСТЬ ПО ОТНОШЕНИЮ К ДИФФУЗИИ
При исследовании критических явлений в однокомпонентных системах мы видели, что существенное значение при этом имеет условие механической устойчивости. Критическая точка, в сущности, отделяет области механически устойчивых состояний от метастабильных и неустойчивых областей.
В двойных системах необходимо, кроме того, принять во внимание условие устойчивости по отношению к процессам диффузии. Фактически здесь именно это условие определяет устойчивость системы. В пункте 2 выясним, почему условие механической устойчивости не имеет никакого значения при определении равновесия в двойной системе.
Условие равновесия по отношению к диффузии может быть записано в виде
µ12 = µ22 < 0,
что эквивалентно
или
(1)
Эти условия можно проиллюстрировать на примере системы гексан — нитробензол, фазовая диаграмма которой была приведена на рис.5.

Рис.8 . Изменение химического потенциала с составом при постоянных Т и р.
Если для ряда температур изобразить химический потенциал гексана как функцию мольной доли нитробензола при постоянном давлении, мы получим семейство кривых, схематически изображенное на рис.8. Выше 19° (кривая 1)имеется только одна фаза, и условия (1) всегда выполнены.
Напротив, пиже 19° кривая (например,
кривая 3)состоит из трех частей, а именно из участка, соответствующего слою, богатому нитробензолом, участка, относящегося к слою, богатому гексаном, и горизонтальной прямой, соединяющей эти участки и соответствующей одновременному наличию двух фаз.
Кривая при 19° С образует границу между этими двумя типами кривых. Горизонтальный отрезок на ней выродился в одну точку перегиба С, характеризуемую условиями

(2)
Критическое состояние устойчиво, так как
Действительно, если химический потенциал fit разложить в ряд в области, примыкающей к критической точке, то, пренебрегая членами высших порядков, получим
(3)
Из рис.8 следует, что знак (µ1 - µ1,с ) противоположен знаку
(х
2
– х
2,с
), и поэтому
(4)
1.4 ГЕОМЕТРИЧЕСКАЯ ИНТЕРПРЕТАЦИЯ УСЛОВИЯ УСТОЙЧИВОСТИ ПО ОТНОШЕНИЮ К ДИФФУЗИИ
Так же, как и в случае системы, состоящей из одного вещества критической точки в двойной системе указывает на существование некоторой непрерывной последовательности состояния между двумя фазами, которые становятся идентичными в критической точке.
Так, на рис.5 видно, что в системе гексан — нитробензол, повышая температуру выше 19°, можно перейти от слоя, богатого гексаном, к слою, богатому нитробензолом, не наблюдая ни на одной из стадий этого процесса возникновения новой фазы.
Поэтому обе части кривой 3 на рис. 8 можно рассматривать как отрезки непрерывной кривой FBMNAE на рис.9. Так же можно показать, что состояния между М и N неустойчивы и характеризуются условием
(5)
в то время как ВМ и AN соответствуют метастабильным состояниям. Граница между метастабильностью и неустойчивостью определяется точкой, в которой
(6)

условию устойчивости (1) можно придать форму
(7)
Это неравенство имеет простой геометрический смысл. Бели при постоянных Т и р откладывать g как функцию х2 , то (7) означает, что, для того чтобы система была устойчивой, эта кривая должна быть обращена выпуклостью вниз (см. рис.10, кривая 1).
Если кривая имеет вид 2 и между (некоторыми значениями х2 имеется участок, обращенный выпуклостью вверх, то в этой области ( N М) система не может находиться в состоянии устойчивого равновесия и распадается на две фазы.

Рис.9. Изменение химического потенциала с составом при постоянных Т и р.

Рис.10. Изменение средней свободной энергии Гиббса ( g = G /п) с составом при постоянных Т и р.
Мольные доли x 2 ’ и x 2 ’ компонента 2 в этих двух находящихся в равновесии фазах могут быть рассчитаны следующим образом.
Так как µ является парциальной мольной величиной, g определяется соотношением
(8)
Используя
получим
(9)
Условием истинного равновесия по отношению к распределению компонента 2 между фазами является
![]()
или
(10)
Аналогично, исходя из A1 = 0, найдем
(11)
Подставляя в (10) значения
х1
= 1 — х2
и
получим
(12)
Вычитая (11) из (12), видим, что в состоянии истинного равновесия
(13)
Подставив это выражение в (12), получим
(14)
Условия (13) и (14) также имеют простой геометрический смысл.
Значения х2 , соответствующие двум находящимся в равновесии фазам, т. е. х2 ' и х2 ", таковы, что функции g ’ и g ” имеют общую касательную АВ (см. рис.10). Легко показать, что отрезки AN и MB соответствуют состояниям метастабильного равновесия, склонным к превращению в двухфазную систему.
В связи с
![]()
условиям (2) и (4), выполняющимся в критической точке, можно придать вид


(15)
2. СВЯЗЬ МЕЖДУ УСЛОВИЯМИ МЕХАНИЧЕСКОЙ УСТОЙЧИВОСТИ И УСТОЙЧИВОСТИ ПО ОТНОШЕНИЮ К ДИФФУЗИИ В ДВОЙНЫХ СИСТЕМАХ
Выясним теперь значение условия механической устойчивости в двойных системах
(16)
Если ввести мольную свободную энергию
и мольный объем
,
неравенство (16) можно переписать в виде
(17)
В то же время условием устойчивости но отношению к диффузии является(7), т. е.
(18)
Придадим теперь двум последним неравенствам более удобный для нас вид.
Для этого прежде всего докажем, что
(19)
Действительно, в соответствии с
F = U – TS и G = U – TS + pV = H – TS
(20)
Но
(20.1)
и значит
(21)
Уравнение (19) немедленно следует из (20) и (20.1).
Продифференцировав (19) по x 2 при постоянных T и p , получим
(22)
Кроме того,
(23)
Подставляя (23) в (22), мы можем теперь переписать (18) в форме
(24)
Это условие устойчивости по отношению к диффузии должно выполняться одновременно с условием механической устойчивости (17). Для одновременного выполнения двух этих условий необходимо, чтобы
(25)
Найдем теперь границу, отделяющую устойчивые состояния от неустойчивых, и покажем, что при переходе из области, в которой выполнены оба неравенства (17) и (24), в область, в которой выполняется только одно из них, первым нарушается неравенство (24).
Обращаясь к (24), мы видим, что нет причин, запрещающих одновременное выполнение условий


(26)
В этом случае уравнением искомой границы было бы
(27)
Если же предположить, что первым нарушается неравенство (17), т. е. уравнением границы является
(28)
то, как легко убедиться, при переходе из области, в которой выполнены (17) и (24), к границе, определяемой (28), мы необходимо должны перейти через область, в которой (24) оказывается нарушенным, так как отрицательный второй член превосходит первый при приближении
к нулю.
Таким образом, граница между устойчивыми и неустойчивыми состояниями должна определяться (27), и на этой границе в общем случае

Искомая граничная поверхность в пространстве
определяется, следовательно, уравнением
(29)
Условие механической устойчивости поэтому не принимает никакого уча стия в определении границы устойчивости, которая определяется толькотем, что на граничной поверхности нарушается условие устойчивости по отношению к диффузии. Это является обоснованием метода, использовавшегося нами в п.1.3 и п.1.4, в котором мы учитывали только условие устойчивости по отношению к диффузии.
Рассмотрим теперь, каким образом условие механической устойчивости появляется при переходе к чистому веществу. Для этого запишем (29) в следующей эквивалентной форме:
(30)
Если теперь устремить х2 к нулю, то, используя (19) и
,
легко убедиться, что
(31)
В то же время
в общем случае остается конечной величиной. Вследствие этого (30) для чистого вещества снова приводит к тому, что граничным становится условие механической устойчивости
(32)
в полном соответствии с уравнением
![]()
Диаграмма
,
которой мы уже пользовались, позволяет представить эти результаты в наглядной форме (см. рис. 4. и 11). Кривая va
г
kva
ж
на рис.11 — это кривая насыщения, с которой мы встречались на рис.4. Кривая AkB
определяется уравнением (27); внутри нее расположены состояния, неустойчивые по отношению к диффузии. Ван дер Ваальсом эта кривая была названа спинодалъю.
Критическая точкаk
лежит одновременно и на кривой насыщения и на спинодали.
Кривая АКВ определена условием
(33)
и внутри ее не выполнены ни условие устойчивости по отношению к диффузии, ни условие механической устойчивости. Эта кривая не принимает участия в определении критической точки смеси. Очевидно, наконец, что при приближении к чистому веществу А спинодаль и кривая, определяемая уравнением (33), сближаются друг с другом, что находится в соответствии с уравнениями (30) — (32).
3. РАССЛАИВАНИЕ В РЕГУЛЯРНЫХ РАСТВОРАХ
Для того чтобы прийти к более конкретным заключениям, необходимо знать зависимость коэффициентов активности от независимых переменных Т, р и х2 .
Мы рассмотрим случай, при котором коэффициенты активности γ1 и γ2 определяются соотношениями
(34)
где α — постоянная величина,
αi – активность компонента i ,
x i – мольная доля компонента,
γi
– коэффициент активности, ![]()
Как будет показано ниже, такая зависимость коэффициентов активности от состава и температуры характерна для класса растворов, называемых строго регулярными растворами и исследованных в частности Гильдебрандом и Фаулером и Гуггенгеймом.
Физический смысл (34) будет рассмотрен ниже, пока же мы можем выяснить, к каким результатам приводит применение условий устойчивости в данном частном случае. Аналогичные расчеты можно произвести, исходя из любых других уравнений для коэффициентов активности, установленных экспериментально или выведенных теоретически.
При выполнении (34) с учетом что
,
где
- стандартный химический потенциал компонента i,
- химический потенциал компонента iв чистом состоянии.
тогда химические потенциалы имеют форму
(35)
(36)
где функции
и
по определению равны химическим потенциалам чистых компонентов 1 и 2, находящихся в том же физическом состоянии, что и в растворе. Поэтому если система распадается на две
фазы, то
имеет одно и то же значение в обоих слоях, и это же справедливо по отношению
.
Дифференцируя (35), получим
(37)
Для того чтобы система находилась в равновесном состоянии, устойчивом по отношению к разделению на две фазы, в соответствии с
![]()
![]()
необходимо и достаточно, чтобы
(38)
Если величина
положительна и достаточно велика, то это неравенство не может выполняться при всех концентрациях. Поскольку максимальным значением х2
(1- х2
) является 0,25, минимальное значение
равно 4. Поэтому для всех значений
должна существовать область концентраций, в которой (38) не выполняется. В этой области система уже не находится в состоянии устойчивого равновесия и распадается на две фазы.
Прежде всего, используя уравнения (2), можно рассчитать положение критической точки при данном давлении р. Если Тс и ( x 2 ) c — соответственно критическая температура и критический состав, то
(39)
(40)
Откуда
(41)
Итак, уравнения (34) для коэффициентов активности приводят к критической точке, соответствующей эквимолекулярной смеси двух компонентов. Кроме того, в этом случае мы всегда имеем дело с верхней критической температурой растворения, так как при Т > Тс неравенство (38) всегда выполняется и фаза является устойчивой, независимо от ее состава.
Найдем теперь границу, отделяющую метастабильные состояния от неустойчивых. В соответствии с (6) и (37) уравнением этой границы является
(42)
или, после сочетания с (41),
(43)
Риг.11.
-
Диаграмма двойной смеси вблизи критической точки.

Рис.12.
Расслоение фаз в регулярном растворе при постоянном р.
Наконец, нам необходимо знать кривую сосуществования двух слоев в истинном равновесии. На этой кривой должны выполняться условия
и
(44)
или (см. (35) и (36))
(45)
Функции
взаимно уничтожаются, и если
т. е. если кривая симметрична, уравнения (45) становятся тождественными. Поэтому два уравнения (45) эквивалентны одному независимому уравнению. Выбирая первое из этих уравнений и исключая
,
получим
(46)
откуда (см. (41))
(47)
Положение критической точки и кривых (43) и (47) схематически изображено на рис.12.
4. ФАЗОВЫЕ ПЕРЕХОДЫ СМАЧИВАНИЯ И ПРЕДСМАЧИВАНИЯ В БИНАРНОЙ СИСТЕМЕ (МЕТАНОЛ-ГЕПТАН)
Фазовые переходы расслаивания в бинарных жидких смесях с ограниченной растворимостью сопровождаются возникновением поверхностных фаз и поверхностными фазовыми переходами. Вблизи критической температуры смешения поверхностное натяжение между жидкими фазами α и β стремится к нулю
и появляются условия
для поверхностных переходов, в частности, становится возможным образование смачивающего слоя одной из фаз, например фазы β, макроскопической толщины на межфазной поверхности αγ, если выполняется условие для межфазных натяжений
, где γ – паровая или твердая фаза (стенки кюветы). Частным случаем являются переходы Канна между смачиванием и несмачиванием межфазной поверхности αγ фазой β, когда смачивающая фаза устойчива в объеме (переход полного смачивания) или когда бинарная система однородна и одна из фаз (например, β) только зарождается (переход предсмачивания). На фазовой диаграмме (рис.13) область переходов полного смачивания находится на отрезке DB кривой сосуществования (KC).

Рис.13. Фазовая диаграмма бинарной системы с линией переходов предсмачивания: ADBC – кривая сосуществования для объемных фаз,
DF – линия перехода предсмачивания,
1 и 2 – линии большой и малой адсорбции соответственно,
Тс – критическая температура смешения в объеме,
Тω – температура перехода полного смачивания,
Т SC – поверхностная критическая температура.
Линия фазовых переходов предсмачивания, называемых также переходами тонкий – толстый слой, изображается отрезком DF, при пересечении ее системой справа налево толстый слой зарождающейся фазы β изменяет структуру и становится тонким. Экспериментально было обнаружено несколько бинарных систем, но долгое время не удавалось экспериментально подтвердить существование перехода предсмачивания, сейчас уже имеется несколько работ на эту тему. Рассмотрим переход полного смачивания в системе метанол-гептан на границе со стенкой кюветы. Был разработан метод выявления перехода предсмачивания на этой межфазной границе, что позволяло определить расположение линии переходов предсмачивания относительно KC.
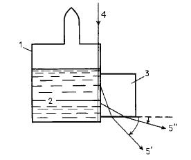
Измерения проводились методом предельного угла на модифицированном рефрактометре Пульфриха у вертикальной стенки кюветы (рис.14). Бинарная система метанол-гептан критической концентрации помещалась в запаянную цилиндрическую кювету из молибденового стекла диаметром ~ 4см. Торцевые окна – полированные оптические пластинки толщиной 1,5мм. – изготовлялись из того же стекла и припаивались к торцам цилиндра. Кюветы заполнялась на ¾ объема. К плоскому торцевому окну кюветы с помощью иммерсионной жидкости прикреплялся измерительный стеклянный кубик.

Рис.14. Устройство для измерения пристеночных значений показателя преломления: 1 – цилиндрическая кювета из стекла, 2 – бинарная смесь, 3 – измерительный кубик с показателем преломления N, 4 – световой луч, 5’ и 5” – лучи, выходящие из верхней и нижней фазы соответственно.
Световой луч от натриевой лампы (λ = 589,9 нм) падает в кювету вертикально вдоль окна, проходит через верхнюю и нижнюю фазы, преломляясь на границе с кубиком под соответствующими предельными углами. Преломленные лучи выходят из кубика через нижнюю горизонтальную грань. Здесь луч попадает в зрительную трубу рефрактометра, угол выхода луча определяется по лимбу прибора. Отсчет нулевого угла производится по отражению от внешней вертикальной грани кубика с использованием автоколлимационной системы прибора. Кювета с бинарной смесью помещается в массивный латунный блок, по которому циркулирует вода из термостата. Блок укрепляется на месте кюветы в рефрактометре. Преломленные лучи выходят из кубика под углами φi и наблюдаются в виде ярких линий в поле зрения окуляра.
Показатели преломления соответствующих фаз определялись по формуле
, где N – показатель преломления измерительного кубика.
Измерения проводились при двух температурных режимах. При режиме 1 осуществлялось ступенчатое нагревание образца от 20 о С до критической температуры (Тс = 52,9 о С). При каждой температуре образец длительно термостатировался, после этого смесь перемешивалась путем встряхивания, и затем измерялся показатель преломления. Следующее измерение проводилось при большей температуре. При режиме 2 образец предварительно нагревался до температуры выше критической, перемешивался до однородного состояния и затем ступенчатым образом охлаждался с термостатированием в точках наблюдения. В режиме 2 встряхивание перед измерением не требовалось, так как система сама достигает равновесного состояния.
При температурном режиме 1 было замечено (рис.15) скачкообразное изменение свойств системы в узком интервале температур: от 44,2 до 44,3 о С, состоящее в исчезновении сигнала от верхней фазы.
Вся кривая температурной зависимости показателя преломления (ПП) может быть условно разделена на несколько областей. В области низких температур (20-44,2 о С) наблюдаются сигналы от обеих фаз. Вторая область (44,3-47,2 о С)начинается с исчезновения сигнала от верхней фазы в интервале 44,3-44,9 о С, она включает область нестабильности: заметен значительный разброс точек, при некоторых значениях температуры появляется сигнал от верхней фазы, который не воспроизводится при повторных измерениях.
Рис.15.
Зависимость показателя преломления сосуществующих фаз системы метанол-гептан от температуры (ветвь 1 – верхняя фаза, обогащенная гептаном, ветвь 2 – нижняя фаза, обогащенная метанолом). Темные значки – пристеночные значения (температурный режим 1), светлые значки и сплошная линия – объемные значения, измеренные по другой методике.
При температурах 47,1-52,9 о С хорошо видны два сигнала от обеих фаз. В окрестности температуры скачкообразного изменения свойств системы (44,3 о С) сигналы от каждой из обеих фаз представляются в виде нескольких линий (кратные линии). На рис.15 эти точки соединены отрезком прямой. При температурном режиме 2 результаты, относящиеся к нижней фазе (здесь не приведены), сходны с данными, полученными в режиме 1, особенно при низких температурах. Имеются и различия. Так, область устойчивого существования двух сигналов вблизи критической температуры при режиме 2 значительно меньше: 50-52,9 о С. Кроме того, при температурах ниже 50 о С сигнала от верхней фазы, как правило, нет, появляющиеся линии трактовались как нестабильные. Сигнал отсутствует даже после охлаждения до 20 о С. Только через сутки можно было видеть снова два сигнала при комнатной температуре.
Описанные явления возникают потому, что при Тω = 44,2 о С наступает полное смачивание стеклянной стенки нижней фазой, вследствие чего образуется толстый слой нижней фазы, вторгающийся между верхней фазой и стенкой. Так как нижняя фаза, обогащенная метанолом, имеет меньший ПП, чем верхняя, скользящий вдоль стенки луч света испытывает полное внутреннее отражение на вертикальной границе раздела верхняя фаза – вторгшийся слой и не наблюдается.
Была сделана попытка наблюдать переход предсмачивания тонкий – толстый слой. Согласно теории, эти переходы происходят в области однородности на фазовой диаграмме (на рис.1 она расположена выше КС, вдоль отрезка DF). Область между кривой ADBC и линией DF соответствует повышенной адсорбции, а область левее линии DF – малой абсорбции. Для создания таких условий был использован специальный температурный режим.
Система метанол – гептан (тот же образец) нагревался до некоторой температуры Т0 > Тω вблизи температуры смачивания и перемешивалась путем встряхивания, при этом в системе устанавливались соответствующие температуре Т0 концентрации фаз и сигнал от второй фазы в преломленном свете не наблюдался. До перемешивания образец термостатировался не менее 4 ч, после - около 2 ч. Затем система нагревалась еще на несколько десятых градуса, до температуры Т1 = Т0 + Δ1 Т и термостатировалась в течение 1 ч без перемешивания. При этом обе фазы фактически переводились в состояния, соответствующие точкам, лежащим выше линии сосуществования, так как естественная диффузия происходит очень медленно. (Было специально проверено, что объемный ПП фазы, пропорциональный концентрации, при нагревании системы без встряхивания остается неизменным, по крайней мере в течение нескольких часов.) Снова проверялось наличие сигнала от верхней фазы. Если он не наблюдался, температура увеличивалась еще на Δ2 Т также без встряхивания. После нескольких этапов нагревания достигалась температура, при которой сигнал от верхней фазы четко наблюдался. При дальнейшем повышении температуры без встряхивания в системе наблюдаются сигналы от обеих фаз. Полученный результат показывает, что при повышении температуры система перешла из области большой адсорбции (область 1 на рис.13) в область малой адсорбции (область 2 на рис.13), где смачивающий слой стал тонким и может пропустить свет, преломленный в верхней фазе. Следовательно, вертикаль на фазовой диаграмме температура-концентрация пересекла линию предсмачивания DF, которая лежит выше кривой сосуществования. Выбрав затем другую температуру перемешивания Т2 и повторив всю описанную процедуру, мы исследовали поведение смачивающего слоя у системы при составе фаз на KC, соответствующем температуре Т2 . Указанным методом бинарная система была исследована в интервале 44,3-46,6 о С. Результаты показаны на рис.16. В координатах ПП-температура представлен участок кривой сосуществования, темными кружками обозначены точки, в которых наблюдался сигнал только от нижней фазы (толстый слой), светлыми кружками – точки, в который наблюдалось два сигнала (тонкий слой). Кривая 2, проведенная между темными и светлыми кружками, есть линия переходов предсмачивания. Появление сигнала от верхней фазы служило индикатором того, что слой на границе со стенкой стал тонким.
Доказательством того, что на кривой 2 происходит переход тонкий-толстый слой, может служить следующий факт. Как было отмечено выше, система, нагретая выше температуры Тω
, долго удерживает толстый смачивающий слой на стенке, и даже значительное понижение температуры не может вызвать исчезновение толстого смачивающего слоя иногда в течение суток. При этом система находится на КС. Полученные измерения показывали, что, как только система переходит в некоторую точку, лежащую выше КС, по схеме температурного режима 3, толстый слой сменяется тонким и наблюдаются сигналы от двух фаз. Был сделан вывод, что по-видимому, здесь имеет место другой «механизм» уменьшения толщины смачивающего слоя, а именно фазовый переход предсмачивания.
предсмачивания.
предельного угла для измерения ПП оказался достаточно чувствительным,
чтобы фиксировать поверхностные слои на границе раздела жидкость-стенка. (Измеряемые величины соответствуют объемным значениям ПП.) В смесях в пристеночной области располагается адсорбционный слой, состав которого отличается от состава объемных фаз и зависит от химического сродства материала стенки к одному из компонентов смеси. Приведенные на рис.15 результаты представляют собой поверхностные значения ПП, сигнал от глубоко лежащих слоев может не проявиться, если их показатель преломления выше, чем у пристеночных слоев. (Сравнение с измеренными объемными значениями показателя преломления дается ниже.)
В интервале между температурами смачивания Тω и критической Тс наблюдается появление дополнительных сигналов (кратные линии). Они всегда воспроизводились и идентифицировались в работе как линии поверхностных слоев, соответствующих указанному участку КС. Так как область вблизи границы раздела, в которой происходит формирование преломленной волны под предельным углом, имеет толщину порядка длины световой волны, то можно предположить, что толщина пристеночных слоев имеет такой же порядок величины.
Для того чтобы констатировать возникновение перехода смачивания нижней фазой поверхности стенки и вторжение слоя нижней фазы между верхней фазой и стенкой, а также обнаружить положение линии переходов предсмачивания, достаточно качественного наблюдения наличия сигнала от верхней фазы. Система метанол-гептан представляется очень выигрышной для таких исследований, во-первых, потому, что в этой системе вблизи стенки из молибденового стекла существуют переходы смачивания и предсмачивания, которые происходят, благодаря балансу сил натяжения на границе раздела и определенному соотношению радиусов действия межмолекулярных сил жидкость-жидкость и жидкость-стенка. Во-вторых, переходы наблюдаемы благодаря низкому показателю преломления вторгающейся фазы, обогащенной метанолом. Предлагаемым методом удается проследить кинетику смачивания, а также определить расположение линии перехода предсмачивания относительно КС в интервале температур 44,3-46,2 о С. Толщина толстого смачивающего слоя оценивалась как (1,5-2)λ. Посчитано, что именно при таких толщинах слоя с ПП n2 = 1,33, расположенного между средами с n1 = 1,36 и n3 = 1,5, при скользящем падении света происходит уменьшение интенсивности преломленного света в 50 раз. Тонкий слой может иметь толщину меньше 0,1λ. Эти оценки на несколько порядков превосходят толщину слоя в работе, где скачок толщины при переходе предсмачивания оценивается в 11Å. В близкой окрестности критической точки смещения всегда наблюдалось появление сигнала от верхней фазы. При нагревании два сигнала наблюдаются в интервале 48-52,9 о С, при охлаждении температурная область сужается: 50-52,9 о С. Вблизи критической точки происходит уменьшение толщины смачивающего слоя (деветтинг) вследствие возрастания роли дальнодействующих сил. Наблюдаемое появление сигнала от верхней фазы могло быть подтверждением этого, так как наличие двух сигналов свидетельствует о малой толщине межфазного слоя. Однако при приближении к критической точке состав фаз сближается и разница в показателях преломления сосуществующих фаз становится меньше. В этих условиях пропускание слоем толщины d с ПП n2 света, идущего из среды с ПП n1 в среду с n3 , существенно увеличивается.
В таблице представлено ослабление интенсивности проходящего света Т(d = 0)/Т (d ≠ 0) в зависимости от Δn = n1 – n2 для двух значений толщины слоя: d/λ = 1 и 1,5, где Т – коэффициент пропускания.
Из представленного расчета ясно, что при приближении к критической точке сигнал от верхней фазы практически не ослабляется даже при наличии толстого смачивающего слоя нижней фазы. Следовательно, результаты исследования не исключают наличия толстого смачивающего слоя вблизи критической точки, т.е. отсутствие явления деветтинга.

При температурах выше Тω отмечалась нестабильность системы, что можно видеть по разбросу точек на рис.15. этот факт согласуется с теорией, которая предсказывает развитие сильного флуктуационного процесса, сопровождающего поверхностные критические явления вблизи конечной точки линии переходов предсмачивания (точка F на рис.13).
Толстый смачивающий слой нижней фазы, возникший на границе раздела верхняя фаза – стенка при температуре Тω , продолжает удерживаться, даже если снижать температуру на 20-25 о С. Слой исчезает примерно через сутки. Это явление гистерезиса смачивания Де Жен объяснял влиянием микрошероховатости стенок.
На рис.15 светлыми кружками и сплошной линией показана температурная зависимость объемного ПП сосуществующих фаз исследуемой системы, измеренная по другой методике. Рассматривая соотношение поверхностных и объемных данных, можно заметить, что граничащий со стенкой слой верхней фазы имеет состав, отличающийся от объемного и более насыщенный метанолом. В целом объемная кривая оказывается «шире» поверхностной.
Итак, измерения методом предельного угла на вертикальной стенке кюветы позволили найти пристеночные значения ПП сосуществующих фаз в широкой температурной области. Вблизи критической температуры наблюдалась слоистая структура пристеночного слоя. Данный метод дал возможность распознать наличие смачивающего слоя на границе со стенкой кюветы, выявить существование перехода предсмачивания и определить положение линии переходов предсмачивания относительно КС. Отметить гистерезисные явления, характерные для процессов смачивания.
5. ВЗАИМНАЯ РАСТВОРИМОСТЬ В ТВЕРДОМ СОСТОЯНИИ
Критические явления при растворении возможны не только в жидких, но и в твердых растворах (смешанных кристаллах). Условия устойчивости для твердых растворов полностью совпадают с только что рассмотренными условиями устойчивости для жидких смесей.
В частности, система всегда устойчива но отношению к разделению на фазы, если она идеальна, и неустойчивость возможна лишь в тех случаях, когда коэффициенты активности достаточно сильно отличаются от единицы.
![]() |
| Рис.17. Смешанный кристаллы с двумя «властями несмешиваемости. |
В частности, система всегда устойчива но отношению к разделению на фазы, если она идеальна, и неустойчивость возможна лишь в тех случаях, когда коэффициенты активности достаточно сильно отличаются от единицы.
Вещества, обладающие сходным составом и близкие по химической структуре, в общем могут образовывать устойчивые смешанные кристаллы. В остальных системах смешиваемость часто ограничена или почти равна нулю, и в этих случаях в равновесии могут находиться два вида кристаллов. В некоторых случаях система содержит несколько зон несмешиваемости. Так, на рнс.17 изображена система с двумя зонами несмешиваемости (от
до
и от
до
),
в каждой из которых система состоит из двух кристаллических фаз. Такое поведение не является необычным, и может существовать даже большее число зон несмешиваемости. Области, разделяющие зоны несмешиваемости, могут быть очень узкими и располагаться вблизи определенных значений мольной доли (например, при х2
=
0,5). В этом случае говорят о стехиометрических соединениях присоединения.
Так, в сплавах Mg — Ni области смешиваемости очень узки и расположены в непосредственной близости к
(чистый Ni),
,
и
(чистый Mg). Все системы, состав которых не совпадает с одним из этих составов, состоят из двух фаз.
ПРИЛОЖЕНИЕ
G - свободная энергия Гиббса.
g - свободная энергия Гиббса, отнесенная к одному молю.
V - объем.
υ - мольный объем.
xi - мольная доля компонента i .
- стандартный химический потенциал компонентаi
.
- химический потенциал компонента i
в чистом состоянии.
γi – коэффициент активности.
αi – активность компонента i .
ЛИТЕРАТУРА
Пригожин И., Дефей Р. Химическая термодинамика. Новосибирск, «Наука», 1966г.
1. Ландау Л. Д., Лифшиц Е. М., Статистическая физика. М., «Наука», 1976г.
2. Фахретдинов И. А., Жданов Э. Р., Об устойчивости метастабильного состояния жидких смесей.
3. Гиршфельдер Дж, Молекулярная теория газов и жидкостей, М., «Наука», 1961г.
4. Тезисы докладов X российской конференции по теплофизическим свойствам веществ УДК 538.971 + 536.444.


