| Скачать .docx |
Реферат: Исследование релейно-контакторной схемы управления электроприводом с АД и динамическим торможением
Лабораторная работа №5
Исследование релейно-контакторной схемы управления электроприводом с АД и динамическим торможением
Цель работы: Практически изучить схему динамического торможения АД с к.з. ротором в функции времени.
Ход работы:
5.1 Паспортные данные АД с к.з. ротором: Рн=1,1 кВт; nн =2790 об/мин; Iн=2,4 А; f=50 Гц; D/Y-220/380.
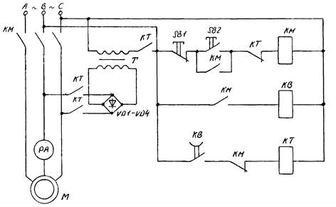
Зарисовали схему:

Рисунок 5.1 – Схема управления АД
5.2 Выполнили пуск и торможение АД. Опытные данные занесли в таблицу 5.1.
| № |
Пуск |
Торможение |
|||
| Время пуска, с. |
Пусковой ток, А. |
Ток торможения, А |
Время выбега с торможением, с |
Время выбега без торможения, с |
|
| 1 |
0,8 |
15 |
2,5 |
0,8 |
6 |
| 2 |
0,9 |
14 |
2,4 |
0,9 |
6,5 |
| 3 |
0,95 |
14,5 |
2,45 |
0,85 |
7 |
| Сред |
0,88 |
14,5 |
2,45 |
0,85 |
6,5 |
5.3 Произвели необходимые вычисления:
5.3.1 Скольжение:
S=(w0 -wн)/w0 =(n0 -nн)/n0 ,
S=(3000–2790)/3000=0,07
5.3.2 Эквивалентный ток торможения:

Iэкв =2 А
где Iп =2,5 А.
5.3.3 Критическое скольжение:

где
=290 Ом;
=30 Ом;
=32 Ом.
Sм =0,1
5.3.4 Критический момент:
Н×м
5.3.5 Механическая характеристика:

Н×м
аналогично для всех значений S таблицы 5.2.
5.4.6 Электромеханическая характеристика:

А
Таблица 5.2. – Результаты вычислений
| N, об/мин |
150 |
300 |
450 |
600 |
1200 |
1800 |
2400 |
3000 |
|
|
15,7 |
31,4 |
47 |
68,8 |
125,6 |
188,4 |
251,2 |
314 |
| S |
0,05 |
0,1 |
0,15 |
0,2 |
0,4 |
0,6 |
0,8 |
1,0 |
|
|
0,8 |
1,3 |
1,5 |
1,6 |
1,8 |
1,8 |
1,8 |
1,8 |
| М, Н×м |
4 |
5,2 |
4,8 |
4,16 |
2,4 |
1,7 |
1,28 |
1,0 |
5.5. По данным расчетов построили характеристики АД с к.з. ротором.
Работа схемы:
Пуск. Подали напряжение. Нажали SB2, катушка КМ получила питание и встала на самопитание с помощью блокировочного контакта КМ. Одновременно замыкается контакт КМ в цепи катушки КВ, и размыкается КМ в цепи катушки КТ. КВ получает питание и замыкает контакт КВ. В силовой цепи замыкается контактор КМ, и двигатель получает питание, разгоняясь.
Торможение. Нажали SB1, КМ теряет питание, в цепи АД размыкается контактор КМ, АД отключается от сети, но продолжает вращаться. Одновременно размыкается контакт КМ в цепи КВ, и замыкается КМ в цепи КТ. КВ потеряло питание, но контакт КВ не размыкается, выдерживая время. КТ получила питание, замыкаются три контакта КТ и две фазы статора через Т и диодный мост VD1-VD4 подается постоянный ток. АД переходит в режим динамического торможения. Реле КВ начинает отсчет выдержки времени и через интервал времени происходит остановка АД, и одновременно отключается контактор КТ контактом реле времени КВ. КТ прекращает подачу постоянного тока в цепь статора, и схема возвращается в исходное положение.
Вывод: Практически изучили работу схемы динамического торможения АД с к.з. ротором.