| Скачать .docx |
Реферат: Электрофильтры
ОМСКИЙ ГОСУДАРСТВЕННЫЙ УНИВЕРСИТЕТ
ИМ. Ф.М. ДОСТОЕВСКОГО
КАФЕДРА ХИМИЧЕСКОЙ ТЕХНОЛОГИИ
Реферат по охране природы на тему «Электрофильтры»
Выполнил: студент группы хх‑601(эх)
Левин Д.К.
Проверил: профессор
Адеева Л.Н.
кафедра НХ
Омск – 2010
Введение
Промышленное производство и другие виды хозяйственной деятельности людей сопровождаются выделением в воздух помещений и в атмосферный воздух различных веществ, загрязняющих воздушную среду. В воздух поступают аэрозольные частицы (пыль, дым, туман), газы, пары, а также микроорганизмы и радиоактивные вещества.
На современном этапе для большинства промышленных предприятий очистка вентиляционных выбросов от вредных веществ является одним из основных мероприятий по защите воздушного бассейна. Благодаря очистке выбросов перед их поступлением в атмосферу предотвращается загрязнение атмосферного воздуха.
Очистка воздуха имеет важнейшее санитарно-гигиеническое, экологическое и экономическое значение.
Этап пылеочистки занимает промежуточное место в комплексе «охрана труда — охрана окружающей среды». В принципе пылеулавливание при правильной организации решает проблему обеспечения нормативов предельно допустимых концентраций (ПДК) в воздухе рабочей зоны. Однако все вредности через систему пылеулавливания при отсутствии системы пылеочистки выбрасываются в атмосферу, загрязняя ее. Поэтому этап пылеочистки следует считать неотъемлемой частью системы борьбы с пылью промышленного предприятия.
Очистка газов – выделение из газовой смеси при выбросе её в атмосферу различных примесей с целью сохранения нормальных санитарных условий в прилегающих к промышленным объектам районах, подготовки газов к использованию в качестве химического сырья или топлива, а самих примесей – как ценных продуктов. Газоочистку принято подразделять на очистку от взвешенных частиц – пыли, тумана, и от парообразных и газообразных примесей, нежелательных при использовании газов или при выбросе их в атмосферу .
Промышленные методы очистки газов можно свести к трём группам:
1) с помощью твёрдых поглотителей или катализаторов – «сухие методы» очистки;
2) с помощью жидких поглотителей (абсорбентов) – жидкостная очистка;
3) очистка без применения поглотителей и катализаторов.
К первой группе относятся методы, основанные на адсорбции, химического взаимодействии с твёрдыми поглотителями и на каталитическом превращении примесей в безвредные или легко удаляемые соединения. Сухие методы очистки обычно проводят с неподвижным слоем сорбента, поглотителя или катализатора, который периодически должен подвергаться регенерации или замене. В последнее время такие процессы осуществляются также в «кипящем» или движущемся слое, что позволяет непрерывно обновлять очищающие материалы. Жидкостные способы основаны на абсорбции извлекаемого компонента жидким сорбентом (растворителем). Третья группа методов очистки основана на конденсации примесей и на диффузионных процессах (термодиффузия, разделение через пористую перегородку).
Содержащиеся в промышленных газах частицы чрезвычайно разнообразны по своему составу, агрегатному состоянию, а также дисперсности. Очистка газов от взвешенных частиц (аэрозолей) достигается механическими и электрическими средствами. Механическую очистку газов производят: воздействием центробежной силы, фильтрацией сквозь пористые материалы, промывкой водой или же другой жидкостью; иногда для освобождения от крупных частиц используют их силу тяжести. Механическую очистку газов обычно проводят методами сухой газоочистки (аппарат циклон), фильтрации и мокрой газоочистки. Электрическая очистка газов применяется для улавливания высокодисперсных частиц пыли или туманов и обеспечивает, при известных условиях, высокий коэффициент очистки.
В своем докладе я опишу принципы электрической очистки газов, действия электрофильтров, их виды, возможности комбинированного использования для очистки газов, а так же достоинства и недостатки их применения.
1. Принцип действия электрофильтров
В электрофильтре очистка газов от твердых и жидких частиц происходит под действием электрических сил. Частицам сообщается электрический заряд, и они под действием электрического поля осаждаются из газового потока.
Общий вид электрофильтра приведен на рис. 1.

Рис. 1. Электрофильтр: 1 – осадительный электрод; 2 - коронирующий электрод; 3 – рама; 4 – высоковольтный изолятор; 5 – встряхивающее устройство; 6 – верхняя камера; 7 – сборник пыли.
Процесс обеспыливания в электрофильтре состоит из следующих стадий: пылевые частицы, проходя с потоком газа электрическое поле, получают заряд; заряженные частицы перемещаются к электродам с противоположным знаком; осаждаются на этих электродах; удаляется пыль, осевшая на электродах.
Зарядка частиц - первый основной шаг процесса электростатического осаждения. Большинство частиц, с которыми приходится иметь дело при промышленной газоочистке, сами по себе несут некоторый заряд, приобретенный в процессе их образования, однако эти заряды слишком малы, чтобы обеспечить эффективное осаждение. На практике зарядка частиц достигается пропусканием частиц через корону постоянного тока между электродами электрофильтра. Можно использовать и положительную и отрицательную корону, но для промышленной газоочистки предпочтительнее отрицательная корона из-за большей стабильности и возможности применения больших рабочих значений напряжения и тока, но при очистке воздуха используют только положительную корону, так как она дает меньше озона.
Основными элементами электрофильтра являются коронирующий и осадительный электроды. Первый электрод в простейшем виде представляет собой проволоку, натянутую в трубке или между пластинами, второй - представляет собой поверхность трубки или пластины, окружающей коронирующий электрод (рис. 2).
На коронирующие электроды подается постоянный ток высокого напряжения 30…60 кВ. Коронирующий электрод обычно имеет отрицательную полярность, осадительный электрод заземлен. Это объясняется тем, что корона при такой полярности более устойчива, подвижность отрицательных ионов выше, чем положительных. Последнее обстоятельство связано с ускорением зарядки пылевых частиц.
После распределительных устройств обрабатываемые газы попадают в проходы, образованные коронирующими и осадительными электродами, называемые межэлектродными промежутками. Сходящие с поверхности коронируюших электродов электроны разгоняются в электрическом поле высокой напряженности и приобретают энергию, достаточную для ионизации молекул газа. Сталкивающиеся с электронами молекулы газов ионизируются и начинают ускоренно двигаться в направлении электродов противоположного заряда, при соударении с которыми выбивают новые порции электронов. В результате между электродами появляется электрический ток, а при некоторой величине напряжения образуется коронный разряд, интенсифицирующий процесс ионизации газов. Взвешенные частицы, перемещаясь в зоне ионизации и сорбируя на своей поверхности ионы, приобретают в конечном итоге положительный или отрицательный заряд и начинают под влиянием электрических сил двигаться к электроду противоположного знака. Частицы сильно заряжаются на первых 100…200 мм пути и смещаются к заземленным осадительным электродам под воздействием интенсивного поля короны. Процесс в целом протекает очень быстро, на полное осаждение частиц требуется всего несколько секунд. По мере накопления частиц на электродах их стряхивают или смывают.

Рис. 2. Конструктивная схема электродов: а - электрофильтр с трубчатыми электродами; б - электрофильтр с пластинчатыми электродами; 1 - коронирующие электроды; 2 - осадительные электроды.
Коронный разряд характерен для неоднородных электрических полей. Для их создания в электрофильтрах применяют системы электродов типа точка (острие) - плоскость, линия (острая кромка, тонкая проволока) - плоскость или цилиндр. В поле короны электрофильтра реализуются два различных механизма зарядки частиц. Наиболее важна зарядка ионами, которые движутся к частицам под действием внешнего электрического поля. Вторичный процесс зарядки обусловлен диффузией ионов, скорость которой зависит от энергии теплового движения ионов, но не от электрического поля. Зарядка в поле преобладает для частиц диаметром более 0,5 мкм, а диффузионная — для частиц мельче 0,2 мкм; в промежуточном диапазоне (0,2…0,5 мкм) важны оба механизма.
2. Конструкции и виды электрофильтров
Аппараты для очистки газов этим методом называют электрофильтрами. Основными элементами электрофильтров являются: газоплотный корпус с размещенными в нем коронирующими электродами, к которым подводится выпрямленный ток высокого напряжения, и осадительными заземленными электродами, изоляторы электродов, устройства для равномерного распределения потока по сечению электрофильтра, бункера для сбора уловленных частиц, системы регенерации электродов и электропитания.
Конструктивно электрофильтры могут быть с корпусом прямоугольной или цилиндрической формы. Внутри корпусов смонтированы осадительные и коронирующие электроды, а также механизмы встряхивания электродов, изоляторные узлы, газораспределительные устройства.
Часть электрофильтра, в которой размещены электроды, называют активной зоной (реже - активным объемом). В зависимости от числа активных зон известны электрофильтры однозонные и двухзонные. В однозонных электрофильтрах коронирующие и осадительные электроды в пространственном отношении, конструктивно не разделены, В двухзонных электрофильтрах имеется четкое разделение. Для санитарной очистки запыленных выбросов используют однозонные конструкции с размещением коронирующих и осадительных электродов в одном рабочем объеме. Двухзонные электрофильтры с раздельными зонами для ионизации и осаждения взвешенных частиц применяют в основном при очистке приточного воздуха. Связано это с тем, что в ионизационной зоне происходит выделение озона, поступление которого не допускается в воздух, подаваемый в помещения.
В зависимости от направления движения газа электрофильтры подразделяют на горизонтальные и вертикальные. Вертикальные аппараты занимают в плане значительно меньше места, но при прочих равных условиях коэффициенты очистки в них ниже. Активная длина поля вертикального электрофильтра совпадает с активной высотой его электродов.
По мере осаждения пыли на электродах понижается эффективность пылеулавливания. Во избежание этого явления и поддержания оптимальной эффективности электрофильтров электроды периодически очищают от пыли встряхиванием или промывкой. Соответственно электрофильтры подразделяются на сухие и мокрые.
К мокрым относят аппараты, улавливающие жидкие или значительно увлажненные твердые частицы, а также электрофильтры, электроды которых очищаются самотеком (конденсатом уловленного жидкого аэрозоля) или посредством смывки осевших частиц жидкостью. К сухим относят электрофильтры, улавливающие сухие твердые частицы, которые удаляют с электродов посредством встряхивания через определенные промежутки времени.
Все мокрые электрофильтры, нашедшие применение в промышленности, имеют вертикальную компоновку. Сухие аппараты могут быть как вертикальными, так и горизонтальными. Преимущественное применение среди сухих электрофильтров имеют аппараты с горизонтальным ходом газа - горизонтальные многопольные аппараты, в которых очищаемый газ проходит последовательно через несколько электрических полей.
В зависимости от формы осадительных электродов известны электрофильтры трубчатые и пластинчатые (рис. 2). Трубчатые электрофильтры состоят из большого числа элементов, имеющих круглое или сотообразное сечение. По оси трубчатого элемента расположен коронирующий электрод. В пластинчатом электрофильтре имеется большое количество параллельных пластин. Между ними находятся натянутые коронирующие электроды.
Формы осадительных и коронирующих электродов могут быть самыми разнообразными. Коронирующие электроды могут набираться из тонких круглых или толстых шестигранных стержней, стальных пилообразных полос, профилированных лент с игольчатой выштамповкой. Иногда применяются и другие формы. Осадительные электроды сухих фильтров выполняют в виде профилированных пластин, желобов, реже - коробок с круглыми или сложными вырезами для лучшего удержания осажденной пыли от вторичного уноса. В мокрых электрофильтрах проблема вторичного уноса несущественна, поэтому электроды выполняют в виде наборов прутков и гладких пластин, что позволяет легко смывать осадок.
Электроды сухих фильтров встряхивают соударением или при помощи специальных ударно-молотковых механизмов. Соударения применяют в основном для встряхивания коробчатых электродов. Остальные типы коронирующих и осадительных электродов встряхивают ударами вращающихся молотковых механизмов по наковальням, прикрепленным к этим электродам.
Промывка электродов в мокрых электрофильтрах может производиться периодически или непрерывно. Для периодической промывки подают большое количество воды или другой промывной жидкости на электроды (в активную зону) при отключенном напряжении. На время промывки секции подачу газа прекращают.
Переток неочищенного газа мимо активной зоны даже в небольшом количестве может заметно ухудшить степень очистки. В горизонтальных фильтрах неактивные зоны расположены над и под электродной системой (включая бункера), а также в промежутках между крайними осадительными электродами и корпусом. В вертикальных пластинчатых фильтрах неактивны промежутки между осадительными электродами и корпусом. В вертикальных трубчатых аппаратах неактивные зоны можно устранить полностью. В пластинчатых конструкциях зазоры необходимы для встряхивания электродов и соблюдения пробойных промежутков. Поэтому в таких электрофильтрах предусматривают клапаны (щитки), создающие лабиринтное уплотнение и снижающие перетоки газа.
Скорость очищаемого газа в активной зоне является одной из основных характеристик электрофильтра. Наибольшую величину электрического заряда частицы размером до 1 мкм получают за время нахождения в электрическом поле около 1 с. Скорость принимают в зависимости от конструкции электрофильтра. Так, в сухих электрофильтрах ее значение находится обычно в пределах 0,8…1,7 м/с. Должно быть обеспечено равномерное распределение скорости очищаемого газа по сечению аппарата. Для выравнивания скоростного поля в электрофильтре устанавливают решетки, направляющие лопатки, перфорированные пластины.
Широкое распространение в промышленности поручили электрофильтры типа УГ, ЭГА и др. Эти аппараты применяют на тепловых электростанциях, в черной и цветной металлургии, химической промышленности, на предприятиях строительных материалов.
Для промышленной газоочистки из аппаратов отечественного производства могут быть рекомендованы электрофильтры общего назначения типов ЭГА, ЭГТ (горизонтальные сухие), УВ, ЭВВ (вертикальные сухие), а также ряд специализированных типов электрофильтров.
Электрофильтры серии ЭГА предназначены для обеспыливания неагрессивных невзрывоопасных газовых выбросов с температурой до 330°С. Корпуса аппаратов стальные, имеют прямоугольную форму. Корпус аппарата стальной теплоизолированный, имеет прямоугольную форму и рассчитан на разрежение до 4 кПа, в аппарате имеется 3 электрических поля, расположенных последовательно по ходу газа. Осадительные электроды представляют собой плоские полотна, набранные из прутков, а коронирующие - проволочные (диаметр проволоки 2,2 мм), натянутые при помощи грузов между осадительными. Длина одного активного поля 2,5 м, ширина 5,97 м (ширина корпуса 6,0 м), высота 7,74 м, расстояние между соседними осадительными электродами 260 мм. Уловленная пыль удаляется с электродов механическим встряхиванием посредством ударов молотков по наковальням осадительных и рамам подвеса коронирующих электродов.
Электрофильтры серии ЭГТ (рис. 3) предназначены для очистки неагрессивных, невзрывоопасных газов с температурой до 450°С. Их основное отличие от аппаратов предыдущих серий заключается в конструкции осадительных электродов, которые аналогичны применяемым в электрофильтрах серии ЭГА. Высота коронирующих электродов 8040 мм. Корпус аппарата рассчитан на разрежение до 4 кПа. Маркировка электрофильтров серии ЭГТ означает: электрофильтр горизонтальный высокотемпературный; первое число после букв указывает номер (габарит) типоразмерного ряда; второе - количество полей, третье - длину одного поля, м; четвертое - площадь активного сечения, м2.
Электрофильтры типа ЭГТ: Э - электрофильтр; Г - горизонтальный; Т – высокотемпературный.

Рис. 3. Электрофильтр типа ЭГТ:
1 - механизм встряхивания осадительных электродов; 2 - корпус; 3 - осадительный электрод; 4 - изоляторная коробка; 5 - механизм встряхивания коронирующих электродов; 6 - защитная коробка для подвода тока; 7 - коронирующий электрод; 8 – люк обслуживания.
Электрофильтры марки ЭГ2-2-4-37 СРК (рис. 4) предназначены для очистки газов содорегенерационных котлоагрегатов. Электрофильтры односекционные, с двумя последовательными по ходу газа электрическими полями. Коронирующие электроды представляют собой трубчатые рамы, в которых закреплены коронирующие элементы; осадительные электроды выполнены в виде плоских полотен, набранных из пластинчатых элементов специального профиля. Расстояние между соседними осадительными электродами 300 мм, высота электродов 7200 мм, ширина поля 6000 мм.
Маркировка электрофильтра означает: электрофильтр горизонтальный; первое число обозначает номер типоразмера (габарит) осадительного электрода, второе - количество полей, третье - активную длину поля, м; четвертое - площадь активного сечения, м2. Гидравлическое сопротивление фильтра 200 Па, разрежение в электрофильтре 3000 Па, пропускная способность по газу при скорости 1 м/с - 37 м3/с, температура очищаемых газов 130...250°С, ориентировачная степень очистки газов содорегенерационных котлоагрегатов 98%.

Рис. 4. Электрофильтр ЭГ2 - 2 - 4 - 37 СРК: 1 - газораспределительная решетка; 2 - изоляторная коробка; 3 – защитная коробка для подвода тока; 4 - коронирующий электрод; 5 - механизм встряхивания коронирующих электродов; 6 - осадительный электрод; 7 - корпус; 8 - скребковый конвейер; 9 - механизм встряхивания осадительных электродов; 10 - шнековый конвейер.
Электрофильтры типа УГМ (рис. 5) используются для обеспыливания неагрессивных и невзрывоопасных технологических газовых выбросов с температурой до 250°С. Аппараты односекционные, с двумя электрическими полями по ходу газов. Корпуса электрофильтров прямоугольные, теплоизолированные, рассчитаны на разрежение до 4 кПа. Осадительные электроды представляют собой плоские полотна, набранные из пластинчатых элементов специального профиля. Расстояние между соседними осадительными электродами 275 мм. Коронирующие электроды составлены из ленточно-игольчатых элементов, натянутых в трубчатых рамах. Высота электродов 3000 мм, ширина корпуса 1500 мм (УГМ-2-3,5) и 3000 мм (УГМ-2-7). Пыль с электродов удаляется механическим встряхиванием. Маркировка электрофильтров обозначает: унифицированный горизонтальный малогабаритный; первое число - количество полей, второе - площадь активного сечения, м2.

Рис. 5. Электрофильтры типа УГМ (исполнение корпуса - П): а - электрофильтр УГМ-2 - 3,5; б - электрофильтр УГМ-2 – 7; 1 -газораспределительная решетка; 2 - механизм встряхивания коронирующих электродов; 3 - корпус; 4 - осадительный электрод; 5 – коронирующий электрод; 6 - люк обслуживания; 7 - механизм встряхивания осадительных электродов; 8 - защитная коробка для подвода тока.
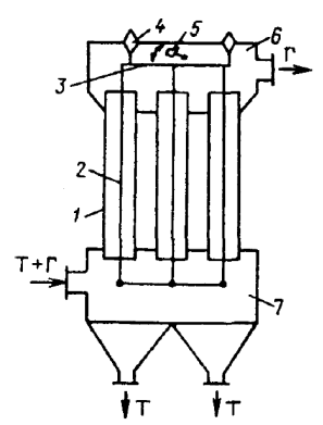
Вертикальные сухие электрофильтры типа УВ (рис. 7.6) могут применяться для обеспыливания неагрессивных и невзрывоопасных технологических газовых выбросов с температурой до 250°С. Электрофильтры однопольные, используются при низкой запыленности (до 30 г/м3), в пределах оптимальных значений удельного сопротивления пыли. В частности, они находят применение при очистке аспирационного воздуха электролизных цехов алюминиевых заводов.
Электрофильтры могут быть одно-, двух- или трехсекционными. Корпуса прямоугольные, теплоизолированные. Секции аппаратов разделены сплошными перегородками. Ширина секции аппаратов УВ 2×24 и УВ 3×24 составляет 6,1 м, остальных - 4,25 м. Движение газов в каждой секции организовано снизу вверх. Разрежение в аппарате до 3,5 кПа. Осадительные электроды выполнены в виде пластинчатых полотен. Расстояние между соседними осадительными электродами 275 мм. Коронирующие электроды представляют собой трубчатые рамы, в которых натянуты ленточно-зубчатые элементы. Активная длина поля (высота электродов) 7,5 м. Удаление пыли с электродов осуществляется встряхиванием. Маркировка электрофильтра означает: унифицированный вертикальный; первое число после букв - количество секций, второе – площадь активного сечения одной секции, м2.

Рис. 6. Электрофильтры типа УВ: 1 - люк обслуживания; 2 - газораспределитель; 3 – механизм встряхивания газораспределителя; 4 - механизм встряхивания осадительных электродов; 5 - корпус; 6 - коронирующий электрод; 7 – осадительный электрод; 8 - механизм встряхивания коронирующих электродов; 9 - защитная коробка для подвода тока.
Мокрые электрофильтры ЭВМ (рис. 7) предназначаются для улавливания туманов и капель серной кислоты с концентрацией (5...20) % об. В присутствии следов оксидов мышьяка, селена, соединений фтора. Электрофильтры выполняются вертикальными однопольными и односекционными. Корпус стальной цилиндрический, футеруется изнутри на месте монтажа кислотоупорными материалами.

Рис. 7. Мокрый электрофильтр типа ЭВМ: 1 - защитная коробка для подвода тока; 2 - люк обслуживания; 3 - изоляторная коробка; 4 - коронирующий электрод; 5 -осадительный электрод; 6 - корпус; 7 - футеровка корпуса; 8 - газораспределительная решетка .
Осадительные электроды выполнены из полимерных токопроводящих пластин, имеющих повышенную теплопроводность. Коронирующие электроды изготавливают из освинцованного провода. Маркировка электрофильтра означает: электрофильтр вертикальный мокрый.
Степень улавливания диспергированного вещества при концентрации на входе от 3 до 5% в пересчете на 100%-ю серную кислоту и двухступенчатой очистке достигает 99,7%. Допускается работа электрофильтра под разрежением до 6 кПа. Температура очищаемого газа 20...45°С. При скорости газового потока 1 м/с пропускная способность составляет 6,8 м3/с, а сопротивление аппарата - около 100 Па. Площадь активного сечения 6,8 м2, площадь осаждения 218 м2. Активная длина поля (высота электродов) 3,5 м, диаметр аппарата 3,6 м.
Комбинированные аппараты типа ЭФ-РФ : ЭФ - электрофильтр; РФ -рукавный фильтр.
Предназначены для очистки от пыли невзрывоопасных технологических газов и аспирационного воздуха с температурой до 170° С, разрежением до 15 кПа (1500 кгс/м2).Применяются на предприятиях энергетической промышленности, черной и цветной металлургии, промышленности строительных материалов и в других отраслях. Они представляют собой последовательное включение горизонтального электрофильтра и рукавного фильтра в одном или в различных корпусах и могут использоваться для реконструкции действующих и строительства новых установок электрофильтров.
Комбинированные фильтры - это высокоэффективные аппараты и предназначены для очистки газа до остаточной запыленности до 20 мг/нм3.
При улавливании высокоомной пыли, приводящей к образованию обратной короны в электрофильтре, не требуется кондиционирование газа.
Вывод
Одним из наиболее совершенных способов очистки промышленных газов от пыли и туманов является электрическая очистка в электрофильтрах.
Широкое применение электрофильтров для улавливания твердых и жидких частиц обусловлено их универсальностью и высокой степенью очистки газов при сравнительно низких энергозатратах. Эффективность установок электрической очистки газов достигает 99%, а в ряде случаев и 99,9%. Такие фильтры способны улавливать частицы различных размеров, в том числе и субмикронные, при концентрации частиц в газе до 50 г/м3 и выше.
Промышленные электрофильтры широко применяют в диапазоне температур до 400—450°С и более, а также в условиях воздействия коррозийных сред.
Электрофильтры могут работать при разрежении и под давлением очищаемых газов. Они отличаются относительно низкими эксплуатационными затратами, однако капитальные затраты на сооружение электрофильтров довольно высоки, так как эти аппараты металлоемки и занимают большую площадь, а также снабжаются специальными агрегатами для электропитания. При этом с уменьшением производительности установок по газу удельные капитальные затраты сильно возрастают.
Преимущественной областью применения электрофильтров с точки зрения экономической целесообразности является очистка больших объемов газа.
К недостаткам электрофильтров наряду с их высокой стоимостью следует отнести высокую чувствительность процесса электрической очистки газов к отклонениям от заданного технологического режима, а также к механическим дефектам внутреннего оборудования.
Иногда свойства газопылевого потока являются серьезным препятствием для осуществления процесса электрогазоочистки (например, при высоком удельном электрическом сопротивлении пыли или когда очищаемый газ представляет собой взрывоопасную смесь).
Улавливание пыли в электрофильтрах основано на известной способности разноименно заряженных тел притягиваться друг к другу. Пылевидным частицам сначала сообщается электрический заряд, после чего они осаждаются на противоположно заряженном электроде.
Преимущества электрического пылеулавливания:
- возможность работы при высоких температурах до 425°С;
- работа установки в среде перенасыщенной влагой;
- возможность работы электрофильтра в агрессивных средах;
- возможность продолжительной работы установки за пределами технологических параметров, предусмотренными картой эксплуатации;
- низкое гидравлическое сопротивление установки ~200 Па;
- низкие эксплуатационные расходы;
- простота в обслуживании;
- высокая надежность узлов и механизмов.