| Скачать .docx |
Реферат: Линенйный асинхронный двигатель
Чернушинский политехнический колледж
Реферат
по электрическому приводу на тему:
«Линейные асинхронные двигатели»
Выполнил: Муллазянов Д.Р.
Проверил: Шакиров Д.Ф.
Чернушка 2010
| 1. Введение.
1. Введение. Интересные и широкие перспективы развития электропривода связаны с применением так называемых линейных двигателей. 2. Линейный асинхронный двигатель.
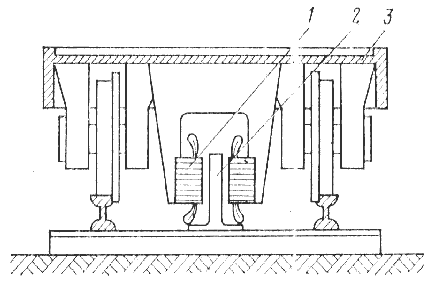
Рис. 1 Наибольшее распространение получили асинхронные линейные двигатели. Представление об устройстве линейного асинхронного двигателя можно получить, если мысленно разрезать (рис. 1) статор 1 и ротор 4 с обмотками 2 и 3 обычного асинхронного двигателя вдоль оси по образующей и развернуть в плоскость, как это показано на рисунке. Образовавшаяся «плоская» конструкция представляет собой принципиальную схему линейного двигателя. Если теперь обмотки 2 статора такого двигателя подключить к сети переменного тока, то образуется магнитное поле, ось которого будет перемещаться вдоль воздушного зазора со скоростью, пропорциональной частоте питающего напряжения и длине полюсного деления. Это перемещающееся вдоль зазора магнитное поле пересекает проводники обмотки 3 ротора и индуктирует в них ЭДС, под действием которой по обмотке начнут протекать токи. Взаимодействие токов с магнитным полем приведёт к появлению силы, действующей, по известному правилу Ленца, в направлении перемещения магнитного поля. Ротор – в дальнейшем будем называть его уже вторичным элементом – под действием этой силы начнёт двигаться с некоторым отставанием (скольжением) от магнитного поля, как и в обычном асинхронном двигателе.
Рис. 2 Представленная на рис. 2 конструкция представляет собой линейный двигатель с одинаковыми размерами статора и вторичного элемента. Помимо такой конструкции, в зависимости от назначения линейного двигателя вторичный элемент может быть длиннее статора (рис. 2а) или короче его (рис. 2б). Такие двигатели получили соответственно название двигателей с коротким статором и коротким вторичным элементом. Вторичный элемент линейного двигателя не всегда снабжается обмоткой. Часто – и в этом одно из достоинств линейного асинхронного двигателя – в качестве вторичного элемента используется металлический лист (полоса), как показано на рис. 2д. Вторичный элемент при этом может располагаться также между двумя статорами (рис. 2в) или между статором и ферромагнитным сердечником (рис. 2г). Двигатель с конструктивной схемой, приведённой на рис. 2д, получил название двигателя с односторонним статором, со схемой по рис. 2в – с двусторонним статором и со схемой по рис. 2г – с односторонним статором и сердечником. Вторичный элемент выполняется из меди, алюминия или стали, причём использование не магнитного вторичного элемента предполагает применение конструктивных схем с замыканием магнитного потока через ферромагнитные элементы, как, например, на рис. 2в, г. Некоторое распространение получили сложные составные вторичные элементы с прилегающими друг к другу полосами из немагнитного и ферромагнитного материала, при этом ферромагнитная полоса выполняет роль части магнитопровода. Принцип действия линейных двигателей с вторичным элементом в виде полосы повторяет работу обычного асинхронного двигателя с массивным ферромагнитным или полым немагнитным ротором. Обмотки статора линейных двигателей имеют те же схемы соединения, что и обычные асинхронные двигатели, и подключаются обычно к сети трёхфазного переменного тока. Отметим, что линейные двигатели очень часто работают в так называемом обращённом режиме движения, когда вторичный элемент неподвижен, а передвигается статор. Такой линейный двигатель, получивший название двигателя с подвижным статором, находит, в частности, широкое применение на электрическом транспорте.
Рис. 3 Пусть обмотки статора располагаются на дуге, длина которой соответствует центральному углу α = 2τр, где τ - длина полюсного деления и p – число пар полюсов. Тогда за один период тока вращающееся поле статора совершит поворот на угол 2τр/р = α/р, а в течение одной минуты поле повернётся на n = α/p*60f/2π оборотов, т. е. будет иметь частоту вращения n, об/мин.
Рис.4 Статор двигателя 1 имеет вид трубы, внутри которой располагаются перемежающиеся между собой плоские дисковые катушки 2 (обмотки статора) и металлические шайбы 3, являющиеся частью магнитопровода. катушки двигателя соединяются группами и образуют обмотки отдельных фаз двигателя. Внутри статора помещается вторичный элемент 4 также трубчатой формы, выполненный из ферромагнитного материала.
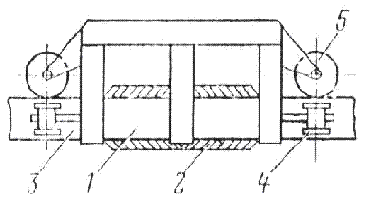
Одна из возможных конструктивных схем сочленения линейного двигателя с рельсовым транспортным средством показана на рис. 5. Линейный двигатель, укреплённый на тележке 3 подвижного состава, имеет конструкцию с двусторонним статором 1. Вторичным элементом является укреплённая между рельсами полоса 2. Напряжение на статор двигателя подаётся с помощью скользящих контактов. Известны также конструкции линейных двигателей, где вторичным элементом являются рельс и элементы несущей конструкции. Такие схемы характерны, в частности, для монорельсовых пассажирских и грузовых дорог и механизмов передвижения кранов. На рис. 6 в качестве примера показаны отечественный линейный двигатель, сконструированный для монорельсовой дороги. Этот двигатель имеет двусторонний статор 1 с обмоткой 2, внутри которого находится вторичный элемент в виде полосы 3. Статор двигателя перемещается по полосе с помощью несущих роликов 5. Ролики 4 служат для взаимной фиксации статора и вторичного элемента в горизонтальном направлении.
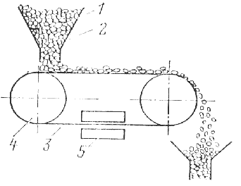
На рис. 7 показан пример использования линейных асинхронных двигателей для механизмов транспортировки грузов различных изделий.
Электрический молот, прост в изготовлении, не требует повышенной точности изготовления двигателей, не чувствителен к изменению температуры и может вступать в работу практически мгновенно. 3. Линейный двигатель постоянного тока. Наряду с асинхронными линейными двигателями применяются линейные двигатели постоянного тока. Они чаще всего используются для получения небольших перемещений рабочих органов и обеспечения при этом высокой точности и значительных пусковых усилий.
Подвижная часть двигателя – якорь - состоит из немагнитного остова 1 и укреплённой на нём обмотки 2 якоря, которая может быть выполнена из изолированного обмоточного провода или изготовлена из медной фольги путём её травления. Ширина витков обмотки в направлении движения, как и в обычных двигателях постоянного тока, близка к полюсному делению (т. е. расстоянию по окружности между полюсами магнитной системы двигателя). Токопровод к обмотке осуществляется с помощью коллектора 3 и щёток 4. На станине двигателя 5 крепится комплект полюсов 6 с обмотками возбуждения 7, размещённых в ряд по направлению движения якоря. Другими частями магнитопровода двигателя являются стальные сердечники 8 и сама станина, выполненная также из ферромагнитного материала. Якорь двигателя вместе со столиком 9 для крепления перемещаемого изделия 10 движется по неподвижным опорам 11 так, что его плоскости с обмотками всё время находятся в зазоре между сердечниками 8 и полюсами 6. На принципе работы линейного двигателя основано действие специальных насосов для перекачки электропроводящих жидкостей и в том числе жидких металлов. Такие насосы, часто называемые магнитогидродинамическими, широко применяются в металлургии для транспортировки, дозировки и перемешивания жидкого металла, а также на атомных электростанциях для перекачки жидкометаллического теплоносителя.
Рис. 10. Первичным элементом – статором двигателя является С – образный электромагнит 1. В воздушный зазор электромагнита помещается трубопровод 2 с жидким металлом. С помощью электродов 3, приваренных к стенкам трубопровода, через жидкий металл пропускается постоянный ток от внешнего устройства. Часто обмотка возбуждения включается последовательно в цепь электродов 3. При возбуждении электромагнита на металл в зоне прохождения постоянного тока начинает действовать электромагнитная сила. Под действием этой силы металл начнёт перемещаться по трубопроводу, причём направление его движения просто определить по известному правилу левой руки. Преимуществами МГД – насосов являются отсутствие движущихся механических частей, и возможность герметизации канала транспортировки металла. 4. Линейный синхронный двигатель. В последние годы всё шире используются синхронные линейные двигатели. Основной областью применения этих двигателей, где их преимущества проявляются особенно сильно, является высокоскоростной электрический транспорт. Дело в том, что по условиям нормальной эксплуатации такого транспорта необходимо иметь сравнительно большой воздушный зазор между подвижной частью и вторичным элементом. Асинхронный линейный двигатель имеет при этом очень низкий коэффициент мощности, и его применение оказывается экономически не выгодным. Синхронный линейный двигатель, напротив, допускает наличие относительно большого воздушного зазора между статором и вторичным элементом и работает при этом с коэффициентом мощности, близким к единице.
Тяговый синхронный линейный двигатель имеет электромагнитное возбуждение с использованием сверхпроводящих магнитов. Обмотка возбуждения 1 состоит из ряда катушек, равномерно укреплённых под днищем вагона 5. В криогенной системе охлаждения обмоток используется жидкий гелий. Плоская трёхфазная обмотка переменного инвертора, преобразующего напряжения постоянного тока в трёхфазное напряжение переменного тока.
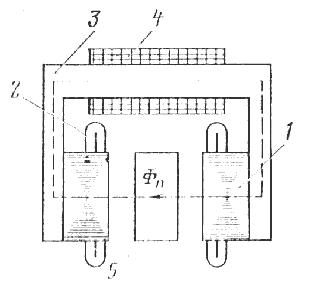
Рис. 12 На рис. 12 показана схема синхронного линейного двигателя с униполярным возбуждением. Двигатель имеет два статора 1, установленных на подвижной части состава. Бегущее магнитное поле создаётся с помощью обмоток 2, подключаемых к сети переменного тока. Статоры соединяются магнитопроводом 3, на котором расположена обмотка униполярного возбуждения 4. Эта обмотка создаёт постоянный по направлению магнитный поток, который пронизывает ферромагнитный вторичный элемент 5, укладываемый в магнитопровод. Взаимодействие бегущего магнитного поля с намагниченным вторичным элементом создаёт силу тяги подвижного состава. 5. Вывод. Применение линейных электродвигателей позволяет упростить или полностью исключить механическую передачу, повысить экономичность и надёжность работы привода и производственного механизма в целом. 6. Список литературы.
|











