| Скачать .docx |
Реферат: Спектральные методы НК
БЕЛОРУССКИЙ ГОСУДАРСТВЕННЫЙ УНИВЕРСИТЕТ ИНФОРМАТИКИ И РАДИОЭЛЕКТРОНИКИ
Кафедра ЭТТ
РЕФЕРАТ
На тему:
«Спектральные методы НК»
МИНСК, 2008
Оптическая спектроскопия относится к числу наиболее важных физических методов анализа химического состава материалов электронной техники. Большинство спектральных методов анализа являются объективными, бесконтактными, неразрушающими. Они включают в себя методы контроля спектров излучения, поглощения, отражения, люминесценции и комбинационного рассеивания в ультрафиолетовой, видимой и инфракрасной областях.
Разновидности спектрального анализа. Исходя из основных положений квантовой теории, атом - есть система, способная поглощать и излучать энергию в определённых количествах; существуют строго определённые энергетические уровни, и всякий обмен энергией (поглощение или излучение) может происходить только между этими уровнями. Каждый химический элемент обладает способностью излучать волны определённой длины, присущие исключительно данному элементу. Диапазон этих волн называется спектром. Спектры всех элементов, составляющих образец, являются спектром образца.
По положению спектральных линий в спектре можно судить об уровнях энергии и внутреннем строении атомов и молекул и их элементном составе, а по интенсивности линий - о вероятностях переходов между отдельными уровнями. Кроме того, интенсивность спектральных линий пропорциональна числу излучающих атомов, что даёт возможность по интенсивности линий определить процентное содержание отдельных элементов, входящих в состав исследуемого образца, используя для сравнения эталонные образцы с известным содержанием этих элементов.
Различают атомный и молекулярный спектральный анализ.
Атомный спектральный анализ обычно производят при высокой температуре исследуемого вещества (плазма, дуга, искра), когда происходит испарение вещества, расщепление его молекул на отдельные атомы и возбуждение этих атомов, приводящее к свечению вещества. Так производят атомный эмиссионный анализ, т.е. исследование спектров излучения. Кроме этого существует и атомный абсорбционный анализ, т.е. исследование спектров поглощения.
Молекула, как и атом, является системой излучающей и поглощающей только определённые порции энергии. Энергия молекулярных квантов меньше атомных, что определяет более длинноволновый спектр молекулярного излучения. При молекулярном спектральном анализе важно, чтобы в процессе анализа молекулы не изменили своей структуры. Спектры двухатомных свободных молекул изучают как в излучении, так и в поглощении. Спектры более сложных молекул легче изучать в поглощении, неподвергая исследуемое вещество нагреву, приводящему к распаду молекулы.

При абсорбционном анализе яркий пучок света от источника со сплошным спектром пропускают через исследуемое вещество. При этом часть световой энергии пучка будет поглощена свободными электронами, атомами, ионами или молекулами вещества. В результате этого в сплошном спектре произойдут характерные изменения - появятся линии и полосы поглощения (рис. 1). Положение линий поглощения в абсорбционном спектре такое же, как и линий излучения вещества в эмиссионном спектре. Поэтому по положению, строению и интенсивности линий поглощения можно узнать химический состав и строение исследуемого вещества.
Частичное поглощение света происходит и при отражении его от поверхности различных тел, что также даёт возможность судить о структуре и химическом составе этих тел по их спектрам отражения.

Если атом или молекула поглощает падающую на них световую энергию, то в некоторых случаях наблюдается другое физическое явление, которое характеризуется тем, что в процессе пропускания света через газообразное или парообразное вещество и его рассеянии происходит изменение длины световой волны (рис. 2). Это происходит вследствие того, что при падении кванта излучения на молекулу исследуемого вещества возможно поглощение молекулой только части его энергии, причём возможно также и отдача молекулой части своей энергии (т.е. дополнение энергии падающего кванта некоторой энергией от молекулы). Поэтому энергия рассеянного кванта hрас может быть как меньше, так и больше энергии падающего кванта hпадна величину энергии собственных колебаний молекулы
hрас=hпад hмол .
По величине изменения длины волны можно судить о частотах собственных колебаний молекулы. Такой вид спектрального анализа называется анализом по спектрам комбинационного рассеяния или комбинационным анализом.
Поглощая падающее излучение, молекулы могут переходить в неустойчивое состояние с более высокой энергией, а затем, излучая, переходить в одно из устойчивых состояний с энергией, промежуточной между первоначальной и той, которой они обладали в неустойчивом состоянии. В результате этого длина волны излучения будет отличаться от длины волны возбуждения. По длине волны излучения люминесценции можно судить об уровнях энергии неустойчивых состояний молекулы, определять содержание примесей в полупроводниках (рис. 3). Этот вид спектрального анализа называется люминесцентным.

Рис. 3. Лазерное сканирование полупроводниковых пластин с последующим спектральным анализом люминесцентного излучения
Спектральные приборы. Спектральные приборы предназначены для проведения исследований излучения, непосредственно испускаемого различными физическими телами или преобразованного в результате взаимодействия с веществом при поглощении, отражении, рассеянии или люминесценции. Эти исследования, проводимые в широком спектральном диапазоне (от мягких рентгеновских лучей до миллиметровых радиоволн) при самых различных температурах и условиях возбуждения спектра, требуют большого разнообразия спектральной аппаратуры. Спектральный прибор оптического диапазона состоит из трёх основных частей: осветительной, спектральной и приемно-регистрирующей (рис. 4). В осветительную часть входят источник света 1 и конденсорные линзы 2, равномерно освещающие входную диафрагму 4. При абсорбционном анализе в осветительную часть обычно помещают кюветное отделение 3, в котором устанавливаются исследуемый и эталонный образцы. При эмиссионном анализе источником излучения служит исследуемый объект, находящийся в виде атомного газа.
Спектральная часть состоит из входного коллиматора 5, диспергирующей системы 6 (обычно призма или дифракционная решётка) и выходного объектива 7. В его фокальной плоскости 8 устанавливают переднюю фокальную плоскость окуляра 9 (при визуальной регистрации спектра), фотопластинку 10 (при фотографической регистрации) или выходную диафрагму 11 (при фотоэлектрической регистрации). В первом случае такой спектральный прибор называют спектроскопом, во втором -спектрографом, а в третьем - спектрометром.
Приемно-регистрирующая часть состоит при визуальном методе из окуляра 9 и зрительной трубы; при фотографическом - из фотопластинки 10 или фотоплёнки; при фотоэлектрическом - из фотоприёмника 12 (фотоэлемент, фотоумножитель, фотосопротивление, болометр, термоэлемент, опто-акустический приёмник или ЭОП), установленного за выходной диафрагмой 11, усилительного устройства 13 и регистрирующего устройства 14 (стрелочный измерительный прибор, осциллограф, видеоконтрольное устройство компьютера, самописец, магнитная запись, цифровая печать и т.д.).

Рис. 4. Принципиальная схема спектрального прибора:
1 - источник света; 2 - конденсор; 3 - кюветное отделение; 4 – входная диафрагма; 5 - входной объектив; 6 - диспергирующий элемент (призмам или дифракционная решётка); 7 - выходной объектив;
8 - фокальная плоскость; 9 - окуляр (при визуальном методе регистрации спектров); 10 - фотопластинка (при фотографическом методе); 11 - выходная диафрагма; 12 - фотоприёмник; 13 - усилитель фототока; 14 - регистрирующее устройство (при фотоэлектрическом методе)

Рис. 5. Призменный диспергирующий элемент

Рис. 6. Дифракционная решётка, работающая "на просвет" и "на отражение"
В зависимости от назначения спектрального прибора им выделяется узкий спектральный участок (одна спектральная линия) или же достаточно протяжённый участок спектра (развёрнутый спектр). В первом случае спектральную часть прибора называют монохроматором, во втором - полихроматором. Получить хорошее качество изображения для одной спектральной линии значительно проще, чем для целого спектрального участка. Однако монохроматоры снабжаются более сложными механизмами, предназначенными для сканирования спектра (непрерывной смены соседних узких спектральных участков) и используются обычно вместе с фотоэлектрическим методом регистрации спектра. Таким образом при использовании монохроматоров упрощается спектральная часть, но усложняется механическая и электрическая.
Основными характеристиками спектрального прибора являются светосила и разрешающая способность.
Из общей энергии, испускаемой источником, до приёмника доходит лишь небольшая часть, пропускаемая спектральным прибором. Она и характеризуется величиной, называемой светосилой прибора, которая различна для излучений разных длин волн. Чувствительность приёмников также зависит от длины волны.
Способность прибора различать две близко расположенные линии определяется его разрешающей способностью. Разрешающая способность по Рэлею характеризуется количеством разрешаемых спектральных линий на определённой длине волны и зависит от ширины входной щели прибора и дисперсии (угловой или линейной) диспергирующего элемента.
Для призменного диспергирующего элемента (рис. 5) разрешающая способность зависит от длины волны анализируемого излучения:
Rmax=T*dn/d ,
где n - коэффициент преломления, зависящий от длины волны , T - длина основания призмы.
Разрешающая способность дифракционнй решётки определяется полным числом штрихов, нанесённых на её поверхность
R=kN ,
где k - порядок спектра, N - число штрихов решётки.
Действие дифракционной решётки легко понять, рассмотрев интерференцию отдельных плоских волн, испытавших дифракцию на щелях решётки (рис. 6).
В результате интерференции лучей, исходящих из соседних щелей, будут наблюдаться интерференционные максимумы тогда, когда разность хода лучей2 -1 будет равна целому числу волн падающего света. Положение максимумов определяется выражением
t(sin - sin) = k ,
где t - постоянная решётки; - угол дифракции; - угол падения; k - целое число, определяющее порядок спектра.
Аналогичная формула получается для отражающей решётки (рис.6). Из неё видно, что угол дифракции зависит от длины волны, что и даёт возможность применять решётку в качестве диспергирующего элемента.
Фурье-спектрометры. Все спектральные приборы, содержащие щель, обладают общим недостатком - для увеличения проходящего через прибор светового потока необходимо увеличивать ширину щели, при этом ухудшается разрешающая способность. Другой принципиальный недостаток обычных спектральных приборов - малое число одновременно регистрируемых спектральных элементов (линий).

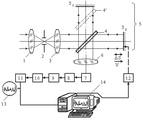
Рис. 7. Схема Фурье-спектрометра
1 - объектив; 2 - диафрагма; 3 - коллиматор; 4 - светоделительная пластина; 5 - интерферометр Майкельсона; 6 - объектив; 7 - фотоприёмник; 8 - усилитель переменного тока; 9 - синхронный детектор; 10 - фильтр низких частот; 11 - регистратор; 12 - привод; 13 - интерферограмма; 14 – спектрограмма
От этих недостатков свободен Фурье-спектрометр, который вообще не имеет щели, ограничивающей световой поток и регистрирует одновременно весь спектр, ограниченный лишь спектральной чувствительностью приёмника излучения. Разложение потока по спектру основано на методе селективной частотной модуляции различных спектральных составляющих этого потока, преобразовании частотно-модулированного оптического сигнала в электрический и применении дискретного Фурье-преобразования при обработке электрического сигнала фотопреобразователя.
Основу прибора составляет оптический блок с интерферометром Майкельсона, заключённым в термостатированный корпус и калибруемым по высокостабильному источнику света - лазеру (рис. 7). Интерферометр Майкельсона выполняет функцию прямого Фурье-преобразования путем модуляции каждой отдельной спектральной составляющей светового потока с определенной длиной волны частотой, пропорциональной собственной световой частоте, но ниже ее на 5-6 порядков. Такой сложный частотно-модулированный световой сигнал на выходе интерферометра Майкельсона преобразуется фотоприемником в электрический, далее оцифровывается и вводится в компьютер для проведения обратного Фурье-преобразования. С таким низкочастотным сигналом компьютеру легче справиться. Он по алгоритму Фурье-преобразования разлагает низкочастотный FM-сигнал в частотный спектр, который оказывается полностью идентичным по форме световому спектру, но в гораздо более длинноволновом диапазоне.
Оптические преобразования в Фурье-спектрометре происходят следующим образом. Излучение от исследуемого объекта фокусируется объективом 1 в плоскости диафрагмы 2 и затем коллимируется объективом 3. Параллельный пучок лучей проходит светоделительную 4 и компенсирующую 4' пластины интерферометра Майкельсона 5. Отражённые от неподвижного З1 и подвижного З2 зеркал лучи собираются объективом 6 в плоскости фотоприёмника 7. Приёмно-усилительное устройство 7-11 фиксирует только переменную составляющую потока, представляющую собой преобразование Фурье для спектрального распределения яркости объекта по закону косинуса, т.е. интерферограмму 13. Последняя представляет собой зависимость изменения сложного электрического сигнала I от разности ходаS. Привод 12 осуществляет параллельное перемещение подвижного зеркала интерферометра с постоянной скоростью v. При этом разность ходаS между двумя интерферируемыми в плоскости фотопреобразователя лучами будет меняться по законуS=2vt. Интерферируемый световой поток можно записать как
E2=E21 + E22 +2E1E2cos
или
I=IО(1+cos) ,
где- разность фаз интерферируемых лучей, определяемая разностью ходаS:
=t =S/c =2vt/c = 2*2vt/c .
Изменение разности хода приведёт к периодическому изменению величины светового потока, падающего на фотопреобразователь 7, для каждой отдельной монохроматической составляющей с определённой частотой fмод. Электрический сигнал фотопреобразователя будет промодулирован набором (спектром) частот fмод(), зависящим от спектрального состава анализируемого излучения:
I=IО(1+cos2(2v/c)t)=IО(1+cos2fмодt) ,
где fмод=2v/c=2v/ - частота модуляции отдельной монохроматической составляющей светового потока, т.е. fмод является функцией частоты световых колебаний, и во столько раз меньше, во сколько раз скорость света c больше удвоенной скорости перемещения зеркала 2v.
Очевидно, что глубина модуляции для всех длин волн будет одинакова.
Частота же модуляции для разных длин волн различна. Такая интерферограмма обрабатывается на ЭВМ, в результате чего получается спектрограмма 14, определяющая зависимость спектральной яркости объекта от длины волны (рис. 8).
Рис. 8. Спектральные линии поглощения некоторых примесей в кремнии и германии, полученные с помощью Фурье-спектрометра при различных температурах охлаждения основного материала, К (1 – 293; 2 – 80; 3 – 20; 4 - 8)
Разрешающая способность Фурье-спектрометра определяется максимальной разностью ходаSмежду интерферирующими лучами
R=2S/ .
Погрешность измерения яркости на приборе не превышает 1%, а спектральный предел разрешения находится в диапазоне 5-1 см-1 (0.05 - 0.01мкм при =10 мкм). К недостаткам прибора следует отнести большую сложность его устройства, а также необходимость стабилизации температуры для основных элементов конструкции.
ЛИТЕРАТУРА
1. Давыдов П. С. Техническая диагностика радиоэлектронных устройств и систем. - М.:Радио и связь, 2000. - 256 с.
2. Ермолов И.Н., Останин Ю.Я. Методы и средства неразрушающего контроля качества: Учеб. пособие для инженерно-техн. спец. вузов.-М.: Высшая школа, 2002. - 368 с.
3. Технические средства диагностирования: Справочник / Под общ. ред. В.В.Клюева. - М.: Машиностроение, 2005. - 672 с.
4. Приборы для неразрушающего контроля материалов и изделий. - Справочник. В 2-х кн./ Под ред. В.В.Клюева - М.: Машиностроение, 2006.
5. Ж.Госсорг. Инфракрасная термография. Основы, техника, применение: Пер. с франц. – М. Мир, 2005. – 416 с.