| Скачать .docx |
Курсовая работа: Тепловой расчёт промышленного парогенератора K-50-40-1
РЕФЕРАТ
Пояснительная записка к курсовому проекту: 46 с., 5 рис., 23 табл.Графическая часть содержит 1 лист формата А0 и А1.
Объектом исследования является парогенератор К-50-40-1. Тепловой расчет парового котла может быть конструктивным и поверочным. Задача конструктивного теплового расчета котла заключается в выборе компоновки поверхностей нагрева в газоходах котла, определении размеров радиационных и конвективных поверхностей нагрева, обеспечивающих номинальную паропроизводительность котла при заданных номинальных параметрах пара, надежность и экономичность его работы. При этом обеспечение надежности работы поверхностей нагрева предполагает получение расчетных тепловых характеристик, исключающих увеличение максимальной температуры стенки сверх допустимого значения по условиям прочности, а на экономичность работы котла определяющее влияние оказывают температура уходящих газов и присосы холодного воздуха в газовый тракт.
Выполнение конструктивного теплового расчета производится на основании исходных данных: тип парового котла (барабанный или прямоточный, его заводская маркировка), номинальную паропроизводительность и параметры перегретого пара, месторождение и марку энергетического топлива, способ сжигания твердого топлива (с твердым или жидким удалением шлаков), температуру питательной воды, поступающей в котел после регенеративного подогрева. Кроме указанных могут быть заданы и другие характеристики, например непрерывная продувка, доля рециркуляции газов в топку, работа котла под наддувом или при разряжении в газовом тракте и др.
Задание не поверочный расчет включает в себя практически те же исходные данные, что и при конструктивном расчете, и дополнительно – конструктивные данные поверхностей котла. Поэтому расчету предшествует определение по чертежам геометрических характеристик поверхностей (диаметров и шагов труб, числа рядов труб, размеров проходных сечений для газов и рабочей среды, габаритных размеров газоходов и поверхностей нагрева и т.д.).
При поверочном расчете котла, так же как при конструктивном, вначале определяют объемы и энтальпии воздуха и продуктов сгорания, КПД и расход топлива, а затем выполняют расчет теплообмена в топочной камере и других поверхностях в последовательности, соответствующей их расположению по ходу газов.
СОДЕРЖАНИЕ
Введение
1. Общее описание котлоагрегата и вспомогательного оборудования
2. Расчет топлива
2.1 Характеристики топлива.
2.2 Теплота сгорания смеси топлив.
2.3 Объёмы воздуха и продуктов сгорания.
2.4 Энтальпии воздуха и продуктов сгорания.
3 Расчёт теплового баланса парогенератора и расход топлива
4. Расчет теплового баланса парогенератора и расход топлива
5. Расчет конструктивных характеристик топки котла
7. Расчет фестона
8. Расчёт пароперегревателя
9. Расчет хвостовых поверхностей нагрева
10. Расчет невязки теплового баланса парогенератора
Выводы
Список литературы
ВВЕДЕНИЕ
Паровой котел – это основной агрегат тепловой электростанции (ТЭС). Рабочим телом в нем для получения пара является вода, а теплоносителем служат продукты горения различных органических топлив. Необходимая тепловая мощность парового котла определяется его паропроизводительностью при обеспечении установленных температуры и рабочего давления перегретого пара. При этом в топке котла сжигается расчетное количество топлива.
Номинальной паропроизводительностью называется наибольшая производительность по пару, которую котел должен обеспечить в длительной эксплуатации при номинальных параметрах пара и питательной воды с допускаемыми по ГОСТ отклонениями от этих величин.
Номинальное давление пара – наибольшее давление пара, которое должно обеспечиваться непосредственно за пароперегревателем котла.
Номинальные температуры пара высокого давления (свежего пара) и пара промежуточного перегрева (вторично-перегретого пара) – температуры пара, которые должны обеспечиваться непосредственно за пароперегревателем с допускаемыми по ГОСТ отклонениями при поддержании номинальных давлений пара, температуры питательной воды и паропроизводительности.
Номинальная температура питательной воды – температура воды перед входом в экономайзер, принятая при проектировании котла для обеспечения номинальной паропроизводительности.
При изменении нагрузки котла номинальные температуры пара (свежего и вторично перегретого) и, как правило, давление должны сохраняться (в заданном диапазоне нагрузок), а остальные параметры будут изменяться.
Оборудование котельной установки условно разделяют на основное (собственно котел) и вспомогательное. Вспомогательными называют оборудование и устройства для подачи топлива, питательной воды и воздуха, для удаления продуктов сгорания, очистки дымовых газов, удаления золы и шлака, паропроводы, водопроводы и др.
Современный котел оснащается системами автоматизации, обеспечивающими надежность и безопасность его работы, рациональное использование топлива, поддержание требуемой производительности и параметров пара, повышение производительности труда персонала и улучшение условий его работы, защиту окружающей среды от вредных выбросов.
1. Общее описание котлоагрегата и вспомогательного оборудования
Парогенератор к-50-40-1.
Расчётное топливо каменный уголь, природный газ.
Топочная камера полностью экранирована трубами W60 мм с шагом 70 мм. Оборудована четырмя пылеугольными горелками, расположенными на боковых стенках (по 2 на стенку). Схема испарения – трёхступенчатая. Чистый отсек (первая ступень) расположен в средней части барабана, солевые (вторая ступень) – по его торцам. В солевых отсеках находится по два внутрибарабанных циклона. В третью ступень включены два выносных циклона W 377 мм с внутренней улиткой.
Перегреватель агрегата – горизонтального типа, змеевиковый, радиационно-конвективный, расположен за фестоном и выполнен из труб W 32 х 3 мм. В рассечку перегревателя включён пароохладитель.
Экономайзер парогенератора – стальной, гладкотрубный, змеевиковый, двухступенчатый с шахматным расположением труб W 28 х 3 мм. Установлен в опускном газоходе «в рассечку с воздухоподогревателем». Поперечный шаг труб: первой ступени – 35 мм, второй – 45 мм; продольный (для обеих ступеней) – 50 мм.
Воздухоподогреватель – трубчатый, двухступенчатый, четырёхходовой (по воздуху), с вертикальным расположением труб W 40 х 1,.5 мм. Поперечный шаг труб – 54 мм, продольный – 42 мм.
Исходные данные представлены в таблице 1и 1.1
Таблица 1. Исходные данные.
| №варианта | Тип парогенератора | Топливо №1(уголь) | Топливо № 2(газ) |
| 36 | К-50-40-1 (ном) | 70 | 29 |
Таблица 1.1
| q1 % | D т/ч | Pп.п бар | tп.п 0 С | r % | tп.в 0 С | мельница |
| 70 | 48 | 40 | 445 | 4 | 145 | ХВ-ЩХ |
2. Расчёт топлива
2.1 Характеристики топлива
Расчётные характеристики для заданных видов топлива предоставлены в таблицах 2.1 и 2.2
Таблица 2.1 Характеристики твёрдого топлива.
Ср % |
Wp % | Ap % |
Sp k % |
TSp op % |
Hp % |
Np % |
Op % |
Qр н КДж/кг | Vг | t1 0 С |
t2 0 С |
t3 0 С |
| 46.1 | 6 | 33.8 | 0.4 | 3.6 | 0.5 | 9.6 | 4360 * 4.187 | 50 | 1450 | >1500 | - | |
Таблица 2.2 Характеристики газа.
CH4 % |
C2 H6 % |
C3 H8 % |
C4 H10 % |
C5 H12 % |
N2 % |
CO2 % |
H2 S % |
O2 % |
CO % |
H2 % |
Qс н КДж/м3 |
rс г кг/м3 |
| 63.2 | 2.6 | 1.2 | 0.7 | - | 2 | 0.3 | - | - | - | - | 8840*4.187 | 0.782 |
2.2 Теплота сгорания смеси топлив
При сжигании смеси жидкого и газообразного топлив расчёт с целью упрощения условно ведется на 1 кг жидкого топлива с учётом количества газа (м3 ), приходящегося на 1 кг жидкого топлива. Поскольку доля жидкого топлива в смеси задана по теплу, то теплота сгорания жидкого топлива и является этой долей.
Следовательно, удельная теплота сгорания смеси определиться как

где
– теплота сгорания твёрдого топлива, кДж/кг;
– доля твёрдого топлива по теплу, %;
Количество теплоты, вносимое в топку с газом:
![]()
Тогда расход газа (в м3 ) на 1 кг твёрдого топлива будет равен:

где
– теплота сгорания газа, кДж/м. Проверка:
![]()
2.3 Объёмы воздуха и продуктов сгорания
Необходимое для полного сгорания топлива количество кислорода, объёмы и массовые количества продуктов сгорания определяются из нижеследующих стехиометрических уравнений:
· Для твёрдого топлива:

![]()
![]()
![]()
· Для газообразного топлива:
V°вII=0.0476∙[0.5∙СО+0.5∙Н2+1.5∙Н2S+∑(m+0.25∙n)∙СmНn–О2]=
=0.0476∙[(1+0.25∙4)∙93.2+(2+0.25∙6)∙2.6+(3+0.25∙8)∙1.2+(4+0.25∙10)∙0.7+]=9.8079 м/м;
V°N2II=0.79∙V°вII+0.01∙N2=0.79∙9.8079+0.01∙2=7.76 м/м;
V°RO2II=0.01∙(СО2+СО+Н2S+∑m∙СmНn)=0.01∙(0.3+1∙93.2+2∙2.6+3∙1.2+4∙0.7)=1.051 м/м;
V°Н2OII=0.01∙(Н2S+Н2+∑0.5∙n∙СmНn+0.124∙dr)+0.0161∙V°в=0.01∙(0.5∙4∙93.2+0.5∙6∙2.6+0.5∙8∙1.2+0.5∙10∙0.7+0.124∙10)+0.0161∙9.8079=2.16031 м/м;
· Для смеси топлив:
V°в=V°вI+Х∙V°вII=4.7593+0.21∙9.8079=6.81896 м/кг;
V°N2=V°N2I+Х∙V°N2II=3.7638+0.21∙7.76=5.3952 м/кг;
VRO2=V°RO2I+Х∙V°RO2II=0.8658+0.21∙1.051=1.0865 м/кг;
V°Н2O=V°Н2OI+Х∙V°Н2OII=0.551+0.21∙2.16031=1.004665 м/кг;
Расчёт действительных объёмов.
VN2=V°N2+(a–1)∙V°в=5.3952+(1.2–1)∙6.818=6.7589 м/кг;
VН2O=V°Н2O+0.0161∙(a–1)∙V°в=1.005+0.0161∙(1.2–1)∙6.819=1.027 м/кг;
Vr=VRO2+VN2+VН2O=1.0865+6.76+1.03=8.8725 м/кг;
Объёмные доли трёхатомных газов.
rRO2=VRO2/Vr=1.0865/8.8725=0.122462
rН2O=VН2O/Vr=1.33/8.8725=0.1157
rn=rRO2+rН2O=0.122462+0.1157=0.2382
Концентрация золы в продуктах сгорания .
m=А ∙aун/(100·Gr)=33.8∙0.95/(100·11.35)=0.03574 кг/кг;
Gr=1-A/100+1.306∙a· V°в=1-33.8/100+1.306·1.2·6.819=11.35 кг/кг;
2.4 Энтальпии воздуха и продуктов сгорания
I°в=V°в∙(сt)в=6.819∙1436=9792.08 кДж/кг;
I°r=VRO2∙(сJ )RO2+V°N2∙(сJ )N2+V°Н2О∙(сJ )Н2О=1.0865∙2202+5.3952∙1394+1.005∙1725=11655.63 кДж/кг;
Ir=I°r+(a–1)∙I°в+Iзл;
т.к. (А ∙aун/Qн)∙10=(33.8∙0.95/26077)∙10=1.23<1.5,
то Iзл – не учитывается;
Ir=I°r+(a–1)∙I°в=11655.63+(1.2–1)∙9792.08=13614.04 кДж/кг.
Полученные результаты после проверки на компьютере и уточнения офор- мим в виде даблицы 2.3
Таблица 2.3 Результаты расчёта топлива.
| Для твёрдого топлива | Для газообразноготоплива | Для смеси топлив | Энтальпии приt=1000 °С |
V°вI=4.7593 V°N2I=3.7638 V°RO2I=0.8658 V°Н2OI=0.551 |
V°вII=9.8079 V°N2II=7.76 V°RO2II=1.051 V°Н2OII=2.16031 |
V°вII=6.81896 V°N2II=5.3952 V°RO2II=1.0865 V°Н2OII=1.0047 |
Воздуха: I°в=9792.08 Газа: I°r=11655.63 Ir=13614.04 Золы: Iзл=0.00 |
При aт=1.2, t=1000°С.
Значение коэффициентов избытка воздуха на выходе из топки и присосов воздуха в элементах и газоходах котельной установки принимаем по таблице 2.4.
Таблица 2.4 Присосы воздуха по газовому тракту.
| Участки газового тракта. | ∆a | a | Температура, °С. |
| Топка | 0.1 | 1,2 | 100–2200 |
| Пароперегреватель I ст. | 0,05 | 1,25 | 600–1200 |
| Экономайзер II ст. | 0,04 | 1,29 | 400–900 |
| Воздухоподогреватель II ст. | 0,03 | 1,32 | 300–600 |
| Экономайзер I ст. | 0,04 | 1,36 | 200–500 |
| Воздухоподогреватель I ст. | 0,03 | 1,39 | 100–400 |
Данные расчётов энтальпии продуктов сгорания топлива при различных температурах газов в различных газоходах сведены в таблицу 2.5
Таблица 2.5 Энтальпии продуктов сгорания в газоходах.

Таблица 2.6 Характеристики продуктов сгорания в поверхностях нагрева.
| Величина | Един-ица | Топка | Участки конвективных поверхностей нагрева | ||||
| 1.200 | 1.225 | 1.27 | 1.305 | 1.34 | 1.375 | ||
| VRO2 | м/кг | 1.087 | 1.087 | 1.087 | 1.087 | 1.087 | 1.087 |
| VN2=V°N2+(a-1)∙V°в | –//– | 6.759 | 6.929 | 7.24 | 7.47 | 7.714 | 7.95 |
| VН2O=V°Н2O+0.0161∙(a-1)∙V°в | –//– | 1.027 | 1.029 | 1.034 | 1.038 | 1.042 | 1.046 |
| Vr=VRO2+VN2+VН2O | –//– | 8.872 | 9.045 | 9.357 | 9.599 | 9.842 | 10.09 |
| rRO2=VRO2/Vr | –//– | 0.122 | 0.12 | 0.116 | 0.113 | 0.11 | 0.108 |
| rН2O=VН2O/Vr | –//– | 0.116 | 0.114 | 0.11 | 0.108 | 0.106 | 0.104 |
| rn=rRO2+rН2O | –//– | 0.238 | 0.234 | 0.227 | 0.221 | 0.216 | 0.211 |
| m= А ∙aун/(Gr·100) | кг/кг | 0.0357 | 0.0358 | 0.0359 | 0.0359 | 0.036 | 0.036 |
| 10∙А ∙aун/Qн | кг/МДж | 1.231 | 1.231 | 1.231 | 1.231 | 1.231 | 1.231 |
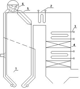
На рис.1 представлена схема котла К-50-40-1

Рис.1 Схема котла К-50-40-1
1-Торочная камера
2-Пароперегреватель
3-Экономайзер
4-Воздухоподогреватель
5-Фестон
6-барабан
3. Расчёт теплового баланса парогенератора и расход топлива
Расчёт теплового баланса парогенератора и расход топлива преждставлен в таблице 3
ТАБЛИЦА 3.
| Величина | Единица | Расчёт | ||
| Наименование | Обозначение | Расчётная формула или способ определение | ||
| Располагаемая теплота топлива | кДж/кг | |||
| Потеря теплоты от химической неполноты сгорания топлива | По таблице 4–3 | % | 0,5 | |
| Потеря теплоты от механической неполноты сгорания топлива | По таблице 4–3 | % | 2 | |
| Температура уходящих газов | По заданию | °С | 140 | |
| Энтальпия уходящих газов | По IJ–таблице | кДж/кг | 1955,4 | |
| Температура воздуха в котельной | По выбору | °С | 30 | |
| Энтальпия воздуха в котельной | По IJ–таблице | кДж/кг | 265,94 | |
| Потеря теплоты с уходящими газами | % | |||
| Потеря теплоты от наружного охлаждения | По рис. 3–1 | % | 0,9 | |
| Сумма тепловых потерь | % | |||
| К.п.д. парогенератора | % | |||
| Коэффициент сохранения теплоты | — | |||
| Паропроизводительность агрегата | D | По заданию | кг/с | 48 |
| Давление пара в барабане | По заданию | МПа | 4,4 | |
| Температура перегретого пара | По заданию | °С | 445 | |
| Температура питательной воды | По заданию | °С | 140 | |
| Удельная энтальпия перегретого пара | По табл. VI–8 | кДж/кг | 3313 | |
| Удельная энтальпия питательной воды | По табл. VI–6 | кДж/кг | 611 | |
| Значение продувки | p | По выбору | % | 70 |
| Полезно используемая теплота в агрегате | кВт | ![]() |
||
| Полный расход топлива | кг/с | |||
| Расчётный расход топлива | кг/с | |||
4. Расчет теплообмена в топке
Расчёт полной площади стен топочной камеры и сумарной лучевоспринимающей поверхности топки представлен в таблицах 4.1 ,4.2, 4.3
На рис.2 представлена схема топочной камеры
ТАБЛИЦА 4.1Расчет полной площади стен топочной камеры (Fст) и суммарной лучевоспринимающей поверхности топки (Hл)
| Наименование | Обоз-наче-ние | Еди-ница | Фр.и свод | Боко-вые | Задн | Вых. окно | S |
| Полная площадь стены и выходного окна | FСТ | м2 | 84.6 | 130 | 66.53 | 16.63 | 297.76 |
| Расстояние между осями крайних труб | b | м | 5.11 | 5,88 | 5.11 | 5.11 | |
| Освещённая длина труб | L | м | 15,08 | 8,625 | 12,08 | 2,97 | |
| Площадь, занятая лучевоспринимающей поверхностью | F | м2 | 77.05 | 120 | 61.73 | 15.18 | 273.96 |
| Наружный диаметр труб | d | мм | 60 | 60 | 60 | 60 | |
| Шаг труб | s | мм | 70 | 70 | 70 | 70 | |
| Расстояние от оси труб до кладки (стены) | e | мм | 125 | 75 | 125 | 125 | |
| Отношение | s/d | - | 1.17 | 1.17 | 1.17 | 1.17 | |
| Отношение | e/d | - | 2.1 | 1.25 | 2.1 | 2.1 | |
| Угловой коэффициент | x | - | 0.98 | 0.98 | 0.98 | 0.98 | |
| Площадь лучевоспринимающей поверхности открытых экранов | HЛОТК | м2 | 75.51 | 117,6 | 60.5 | 14.88 | 268.5 |
ТАБЛИЦА 4.2Расчёт конструктивных характеристик топки
| Величина | Единица | Расчёт | ||
| Наименование | Обозначение | Расчётная формула или способ определения | ||
| Активный объём топочной камеры | По конструктивным размерам | м3 | 222 | |
| Тепловое напряжение объёма топки: расчётное допустимое |
По табл. 4–3 |
кВт/м3 кВт/м3 | ||
| Количество горелок | n | По табл. III–10 | шт. | 4 |
| Тепло производительность горелки | МВт | |||
| Тип горелки | — | По табл. III–6 | — | ГУ-1-Л |
Рис.2 Топочная камера
ТАБЛИЦА 4.3Поверочный расчёт теплообмена в топке
| Величина | Единица | Расчёт | ||
| Наименование | Обозначение | Расчётная формула или способ определение | ||
| Суммарная площадь лучевоспринимающей поверхности | По конструктивным размерам | м2 | 268,5 | |
| Полная площадь стен топочной камеры | По конструктивным размерам | м2 | 297,76 | |
| Коэффициент тепловой эффективности лучевоспринимающей поверхности | — | |||
| Эффективная толщина излучающего слоя пламени | м | |||
| Полная высота топки | По конструктивным размерам | м | 9.75 | |
| Высота расположения горелок | По конструктивным размерам | м | 3.75 | |
| Относительный уровень расположения горелок | — | |||
| Параметр забалансированности топочных газов | rн | — | ||
| Коэффициент M0 | M0 | По нормативному методу | — | 0,4 |
| Параметр, учитывающий характер распределения температуры в топке | М | — | ||
| Коэффициент избытка воздуха на выходе из топки | По табл. 4–3 | — | 1,2 | |
| Присос воздуха в топке | По табл. 2–2 | — | 0,1 | |
| Присос воздуха в системе пылеприготовления | По табл. 2–1 | — | 0,04 | |
| Температура горячего воздуха | По предварительному выбору | °С | 350 | |
| Энтальпия горячего воздуха | По IJ–таблице | кДж/кг | 3213 | |
| Энтальпия присосов воздуха | По IJ–таблице | кДж/кг | 265,94 | |
| Полезное тепловыделение в топке | ![]() |
кДж/кг | ![]() |
|
| Адиабатическая температура горения | По IJ–таблице | °С | 1972 | |
| Температура газов на выходе из топки | По предварительному выбору | °С | 1035 | |
| Энтальпия газов на выходе из топки | По IJ–таблице | кДж/кг | 14140 | |
| Средняя суммарная теплоёмкость продуктов сгорания | кДж/кг | |||
Объёмная доля: водяных паров трёхатомных газов |
|
По табл. 1–2 По табл. 1–2 |
— — |
0,116 0,122 |
| Суммарная объёмная доля трёхатомных газов | — | |||
| Произведение | м·МПа | |||
| Коэффициент ослабления лучей: трёхатомными газами золовыми частицами газами кокса | ![]() |
|
1/(мЧЧМПа) |
0.2 |
| Коэффициент излучения сажестых частиц | ![]() |
— | ![]() |
|
| 1- |
— | |||
| Коэффициент заполнения | m | По Н.М. | — | 0.1 |
| Коэффициент ослабления лучей топочной средой | 1/(мЧЧМПа) | |||
| Критерий Бургера | — | |||
| Критерий Бургера | — | |||
| Температура газов на выходе из топки | ![]() |
°С | ![]() |
|
| Энтальпия газов на выходе из топки | По IJ–таблице | кДж/кг | 14197 | |
| Общее тепловосприятие топки | кДж/кг | |||
| Средняя удельная тепловая нагрузка лучевоспринимающих поверхностей | кВт/м2 | |||
5 Расчёт фестона
Конструктивные размеры и поверочный расчёт фестона представлен в таблицах 5.1 и 5.2
На рис 3 представлена схема фестона

Рис. 3 Схема фестона
ТАБЛИЦА 5.1Конструктивные размеры и характеристики поверхностей нагрева фестона
| Показатели | Еди-ница | Фес-тон | |
| Наименования | Обозначение | ||
| Диаметр труб : | |||
| наружный | d | м | 0.06 |
| внутренний | dвн | м | 0.054 |
| Кол-во труб в ряду | Z1 | шт. | 9 |
| Кол-во рядов труб | Z2 | 4 | |
| Общее кол-во труб в рассчитваыемом участке | Z | шт. | 36 |
| Средняя длина труб | lср | м | 3.135 |
| Расчетна площадь поверхности нагрева | H | м2 | 21.26 |
| Расположение труб | - | - | ш |
| Шаг труб : | |||
| поперек движениягазов | S1 | 140 | |
| Вдоль движениягазов | S2 | 220 | |
| Относительный шаг труб : | |||
| поперечный | S1/d | 2.33 | |
| продольный | S2/d | 3.67 | |
| Размер сечениягазохода поперек | А | м | 2.541 |
| движения газов | В | м | 4.9 |
| Площадь живого сечения для прохода газов | F | м2 | 12.45 |
ТАБЛИЦА 5.2Поверочный расчёт фестона
| Величина | Единица | Расчёт | ||
| Наименование | Обозначение | Расчётная формула или способ определения | ||
| Полная площадь поверхности нагрева | Н | По конструктивным размерам | м2 | 21.26 |
| Дополнительна поверхностья | H доп | » | м2 | 3.71 |
| Диаметр труб | d | » | мм | 60x3 |
Относительный шаг труб: поперечный продольный |
|
» » |
— — |
2.33 3,67 |
| Количество рядов труб по ходу газов | » | шт. | 4 | |
| Количество труб в ряду | » | шт. | 9 | |
| Площадь живого сечения для прохода газов | F | м2 | ||
| Эффективная толщина излучающего слоя | s | м | ||
| Температура газов перед фестоном | Из расчёта топки | °С | 1038 | |
| Энтальпия газов перед фестоном | То же | кДж/кг | 14197 | |
| Температура газов за фестоном | По предварительному выбору | °С | 995 | |
| Энтальпия газов за фестоном | По IJ –таблице | кДж/кг | 13538.5 | |
| Количествотеплоты, отданное фестону | кДж/кг | |||
| Температура кипения при давлении в барабане рб =4.4 МПа | По таблице VI–7 | °С | 256 | |
| Средняя температура газов | °С | |||
| Средний температурный напор | °С | |||
| Средняя скорость газов | м/с | |||
| Коэффициент теплоотдачи конвекцией | По рис. 6–5 | кВт/(м2 ·К) | 60*0.95*0.97*0.85=46.99 | |
| Суммарная поглощательная способность трёхатомных газов | м·МПа | |||
| Коэффициент ослабления лучей трёхатомными газами | ![]() |
1/(м·МПа) | ![]() |
|
| Коэффициент ослабления лучей золовыми частицами | По рис 5-6 | 1/(м·МПа) | 0,055 | |
| Суммарная оптическая толщина запылённого газового потока | — | ![]() |
||
| Степень черноты излучающей среды | По рис. 5–4 или формуле (5–22) | — | 0,3 | |
| Температура загрязнённой стенки трубы | °С | |||
| Коэффициент теплоотдачи излучением | По рис. 6–12 (aл =aн а) | Вт/(м2 ·К) | 220·0,3=66 | |
| Коэффициент использования поверхности нагрева | По § 6–2 | — | 1 | |
| Коэффициент теплоотдачи от газов к стенке | Вт/(м2 ·К) | |||
| Коэффициент загрязнения | По формуле (6–8) ирис. 6–1 |
м2 ·К/Вт | 0,0125 | |
| Коэффициент теплопередачи | Вт/(м2 ·К) | |||
| Тепловосприятие фестона по уравнению теплопередачи | кДж/кг | |||
| Тепловосприятие настенных труб | кДж/кг | |||
| Суммарное тепловосприятие газоходов фестона | кДж/кг | 515.4+131.7=646.2 | ||
| Расхождение расчетных тепловосприятий | % | ![]() |
||
6 Расчёт пароперегревателя
Конструктивные размеры конструктивный расчёт перегревателя представлен в таблицах 6.1 и 6.2
На рис. 4 представлена схема пароперегревателя

Рис.4 Схема пароперегревателя
ТАБЛИЦА 6.1Конструктивные размеры и характеристики перегревателя
| Показатели | Еди-ница | Номера ступени участков по ходу пара | |
| Наименование | Обозначение | I ступень | |
| Наружный диаметр | d | мм | 32 |
| Внутренний диаметр трубы | dвн | мм | 26 |
| Кол-во труб в ряду | Z1 | шт. | 72 |
| Кол-во рядов по ходу | Z2 | шт. | 22 |
| Средний поперечный шаг | S1 | мм | 65 |
| Средний продольный шаг | S2 | мм | 75 |
| Расположение труб (шахматное, коридорное) | - | - | кор |
| Характер омывания (поперечное, продольное, смешанное) | - | - | поп |
| Средняя длина змеевика | L | м | 2 |
| Суммарная длина труб | ∑L | м | 3168 |
| Площадь полной поверхности нагрева | H | м2 | 318,3 |
| Площадь живого сечения на входе | F’ | м2 | 8.36 |
| То же, на выходе | F” | м2 | 12.52 |
| Средняя площадь живого сечения газохода | Fср | м2 | 10.03 |
| Толщина излучающего слоя | s | м2 | |
| Кол-во змеевиков, вкл. параллельно (по пару) | m | шт. | 72 |
| Живое сечение для прохода пара | f | м2 | 0.0382 |
ТАБЛИЦА 6.2 Конструктивный расчёт перегревателя
| Величина | Единица | Расчёт | ||
| Наименование | Обозначение | Расчётная формула или способ определения | ||
| Диаметр труб | По конструктивным размерам | мм | 32/26 | |
Параметр пара на входе в ступень: давление температура паросодержание |
![]() |
МПа єС — |
4,4 256 0,985 |
|
Удельная энтальпия: кипящей воды сухого насыщенного пара |
кДж/кг кДж/кг |
1115,5 2797,2 |
||
| Удельная энтальпия пара на входе в ступень | кДж/кг | ![]() |
||
| Параметры пара на выходе из ступени: давление температура удельная энтальпия | ![]() |
МПа єС кДж/кг |
4,0 445 3367,58 |
|
| Тепловосприятие пароохладителя | По выбору | кДж/кг | 70 | |
| Тепловосприятие ступени | Q | кДж/кг | ||
| Энтальпия газов на входе в ступень | Из расчёта фестона | кДж/кг | 14026 | |
| Температура газов на входе в ступень | То же | єС | 995 | |
| Энтальпия газов на выходе из ступени | кДж/кг | |||
| Температура газов на выходе из ступени | По IJ – таблице | єС | 657 | |
| Средняя температура газов в ступени | єС | |||
| Средняя скорость газов в ступени | м/с | |||
| Коэффициент теплоотдачиконвекцией | По рис. 6-5 |
Вт/(м2 ·К) | ||
| Средняя температура пара | єС | |||
Объём пара при средней температуре |
По табл. VI–8 | м3 /кг | 0,061 | |
| Средняя скорость пара | м/с | |||
| Коэффициент теплоотдачи от стенки к пару | По рис. 6–7 |
Вт/(м2 ·К) | ||
| Эффективная толщина излучающего слоя | s | м | ||
| Суммарная поглощательная способность трёхатомных газов | м·МПа | |||
| Коэффициент ослабления лучей трёхатомными газами | По рис. 5–5 | 1/(м·МПа) | 8,75 | |
| Суммарная оптическая толщина запылённого газового потока | — | |||
| Степень черноты излучающей среды | a | По рис. 5–5 | — | 0,04 |
| Коэффициент загрязнения | По § 6–2 | м2 ·К/Вт | 0,01 | |
| Температура загрязнённой стенки трубы | єС | ![]() |
||
| Коэффициент теплоотдачи излучением | По рис. 6–12 |
Вт/(м2 ·К) | ||
| Коэффициент | A | По § 6–2 | — | 0,4 |
Глубина по ходу газов: ступени (пучка) объём перед ступенью |
По конструктивным размерам То же | м м |
0,225 1,155 |
|
| Коэффициент теплоотдачи излучением с учётом излучения газового объёма перед ступенью | ![]() |
Вт/(м2 ·К) | ![]() |
|
| Коэффициент теплоотдачи от газов к стенке | Вт/(м2 ·К) | |||
| Коэффициент тепловой эффективности | По табл. 6–2 | — | 0,7 | |
| Коэффициент теплоотдачи | k | Вт/(м2 ·К) | ||
Разность температур между газами и паром: наибольшая наименьшая |
єС єС |
|||
| Температурный напор при противотоке | ![]() |
єС | ![]() |
|
| Полный перепад температур газового потока в ступени | єС | |||
| Полный перепад температур потока пара | єС | |||
| Параметр | R | — | ||
| То же | P | — | ||
| Коэффициент перехода к сложной схеме | По рис. 6–15 | — | 1 | |
| Температурный перепад | єС | |||
| Площадь поверхности нагрева ступени | H | м2 | ||
Т.к. невязка составляет меньше 2% то добавлять змеевеки не требуется
7 Расчёт хвостовых поверхностей нагрева
Конструктивные размеры а также расчёты ступеней хвостовых поверхностей нагрева представлены в таблицах 7.1 – 7.6
На рис. 5 прежставлена схема хвостовых поверхностей нагрева

Рис. 5 схема хвостовых поверхностей нагрева
ТАБЛИЦА 7.1 Конструктивные размеры и характеристики стального трубчатого экономайзера (ступени).
| Показатели | Еди-ница | Ступень | ||
| Наименования | Обозначение | I | II | |
| Диаметр труб : | ||||
| наружный | d | м | 28 | 28 |
| внутренний | dвн | м | 22 | 22 |
| Кол-во труб в ряду | Z1 | шт. | 16 | 14 |
| Кол-во рядов труб | Z2 | 26 | 32 | |
| Расчетна площадь поверхности нагрева | H | м2 | 236 | 230 |
| Расположение труб | - | - | ш | ш |
| Шаг труб : | ||||
| поперек движения газов | S1 | м | 70 | 90 |
| Вдоль движения газов | S2 | м | 50 | 50 |
| Относительный шаг труб : | ||||
| поперечный | S1/d | - | 2.5 | 3.21 |
| продольный | S2/d | - | 1.79 | 1.79 |
Размер сечения газохода Поперек движения газов |
А | м | 5.72 | 5.72 |
| В | м | 1.12 | 1.215 | |
| Площадь живого сечения для прохода газов | F | м2 | 6.41 | 6.98 |
| Кол-во параллельно включенных труб (по воде) | Z0 | шт. | 32 | 28 |
| Площадь живого сечения для прохода воды | f | м2 | 0.0122 | 0.011 |
ТАБЛИЦА 7.2 Воздухоподогреватель
| Показатели | Еди-ница | Ступень | ||
| Наименования | Обозначение | I | II | |
| Диаметр труб : | ||||
| наружный | d | м | 40 | 40 |
| внутренний | dвн | м | 37 | 37 |
| Длина труб | l | м | 5.514 | 2.525 |
| Кол-во ходов по воздуху | n | м | 3 | 1 |
| Кол-во труб в ряду поперек движения воздуха | Z1 | шт. | 48 | 50 |
| Кол-во рядов труб вдоль движения воздуха | Z2 | шт. | 26 | 30 |
| Расположение труб | - | - | ш | ш |
| Шаг труб : | ||||
| поперечный (поперек потокавоздуха) | S1 | м | 54 | 54 |
| продольный (вдольпотока воздуха) | S2 | м | 42 | 42 |
| Относительный шаг труб : | ||||
| поперечный | S1/d | - | 1.35 | 1.35 |
| продольный | S2/d | - | 1.05 | 1.05 |
| Площадь живого сечения для прохода газов | Fг | м^2 | 2.7 | 3.2 |
| Кол-во параллельно включенных труб (по газам) | Z0 | шт. | 1248 | 15000 |
| Средняя высота воздушного канала | h | м | 1.838 | 2.525 |
| Площадь среднего сечения воздушного канала | Fв | м^2 | 2.5 | 3.5 |
| Площадь поверхности нагрева | H | м^2 | 1750 | 731 |
ТАБЛИЦА 7.3 Поверочный расчёт второй ступени экономайзера
| Величина | Единица | Расчёт | ||
| Наименование | Обозначение | Расчётная формула или способ определения | ||
| Площадь поверхности нагрева ступени | H | По конструктивным размерам | м2 | 230 |
| Площадь живого сечения для прохода газов | То же | м2 | 6,98 | |
| То же, для прохода воды | f | м2 | 0,011 | |
| Температура газов на входе в ступень | Из расчёта перегревателя | єС | 656.7 | |
| Энтальпия газов на входе в ступень | То же | кДж/кг | 8705 | |
| Температура газов на выходе из ступени | По выбору | єС | 437 | |
| Энтальпия газов на выходе из ступени | По IJ – таблице | кДж/кг | 5930 | |
| Тепловосприятие ступени (теплота, отданная газами) | кДж/кг | |||
| Удельная энтальпия воды на выходе из ступени | кДж/кг | |||
| Температура воды на выходе из ступени | По табл. VI–6 | єС | 225 | |
| Удельная энтальпия воды на входе в ступень | кДж/кг | |||
| Температура воды на входе в ступень | По табл. VI–6 | єС | 160 | |
| Средняятемператураводы | tср | єС | ||
| Скоростьводы втрубах | м/с | |||
| Средняятемпературагазов | єС | |||
| Средняяскорость газов | м/с | |||
| Коэффициент теплоотдачи конвекцией | По рис. 6–5 |
Вт/(м2 ·К) | 77 | |
| Эффективная толщина излучающего слоя | s | м | ![]() |
|
| Суммарная поглощательная способность трёхатомных газов | м·МПа | |||
| Коэффициент ослабления лучей трёхатомными газами | По рис. 5–5 | 1/(м·МПа) | 6,3 | |
| Коэффициент ослабления лучей золовыми частицами | По рис. 5–6 | 1/(м·МПа) | 0,062 | |
| Суммарная оптическая толщина запылённого газового потока | — | |||
| Степень черноты газов | а | По рис. 5–4 | — | 0,054 |
| Температура загрязнённой стенки трубы | єС | |||
| Коэффициент теплоотдачи излучением | По рис. 6–12 |
Вт/(м2 ·К) | ||
| Температура в объёме камеры перед ступенью | Из расчёта перегревателя | єС | 657 | |
| Коэффициент | А | По § 6–2 | — | 0,4 |
Глубина по ходу газов: ступени объём перед ступенью |
|
По конструктивным размерам То же |
м м |
1,1 1,9 |
| Коэффициент теплоотдачи излучением с учётом излучения газового объёма перед степенью | Вт/(м2 ·К) | ![]() |
||
| Коэффициент теплоотдачи от газов к стенке | Вт/(м2 ·К) | |||
| Поправка к коэффициенту загрязнения | По табл. 6–1 | м2 ·К/Вт | 0,002 | |
| Коэффициент загрязнения | По формуле (6–8) | м2 ·К/Вт | 0,0056 | |
| Коэффициент теплоотдачи | Вт/(м2 ·К) | |||
Разность температур между средами: наибольшая наименьшая |
|
|
єС єС |
|
| Отношение | — | |||
| Температурный напор | єС | |||
| Тепловосприятие ступени по уравнению теплообмена | кДж/кг | |||
| Расхождение расчётных тепловосприятий | % | |||
ТАБЛИЦА 7.4 Поверочный расчёт второй ступени воздухоподогревателя
| Величина | Единица | Расчёт | ||
| Наименование | Обозначение | Расчётная формула или способ определения | ||
| Диаметр труб | По конструктивным размерам | мм | 40 | |
| Относительный шаг:поперечныйпродольный | То же » » |
— — |
1,35 1,05 |
|
| Количество рядов труб | » » | шт. | 30 | |
| Количество ходов по воздуху | » » | — | 3 | |
| Площадь живого сечения для прохода газов | » » | м2 | 3,2 | |
| То же, для прохода воздуха | » » | м2 | 3,5 | |
| Площадь поверхности нагрева | » » | м2 | 731 | |
| Температура газов на входе в ступень | Из расчёта второй ступени экономайзера | єС | 437 | |
| Энтальпия газов на входе в ступень | То же | кДж/кг | 6038 | |
| Температура воздуха на выходе из ступени | По выбору | єС | 350 | |
| Энтальпия воздуха на выходе из ступени | По IJ–таблицы | кДж/кг | 3213 | |
| Отношение количества воздуха на выходе из ступени к теоретически необходимому | — | |||
| Температура воздуха на входе в ступень | По выбору | єС | 287 | |
| Энтальпия воздуха на входе в ступень | По IJ–таблицы | кДж/кг | 2608,8 | |
| Тепловосприятие ступени | кДж/кг | 649,5 | ||
| Средняя температура воздуха | єС | |||
| Энтальпия воздуха при средней температуре | По IJ–таблицы | кДж/кг | 2920,8 | |
| Энтальпия газов на выходе из ступени | кДж/кг | ![]() |
||
| Температура газов на выходе из ступени | По IJ–таблицы | єС | 398 | |
| Средняя температура газов | єС | |||
| Средняя скорость газов | м/с | |||
| Коэффициент теплоотдачи с газовой стороны | По рис. 6–7 |
Вт/(м2 ·К) | 35 | |
| Средняя скорость воздуха | ![]() |
м/с | ![]() |
|
| Коэффициент теплоотдачи с воздушной стороны | По рис. 6–5
|
Вт/(м2 ·К) | 58 | |
| Коэффициент использования поверхности нагрева | По табл. 6–3 | — | 0,85 | |
| Коэффициент теплоотдачи | Вт/(м2 ·К) | |||
Разность температур между средами: наибольшая наименьшая |
|
|
єС єС |
|
| Средний температурный напор при противотоке | єС | |||
Перепад температур: наибольший наименьший |
|
|
єС єС |
|
| Параметр | — | |||
| То же | — | |||
| Коэффициент | По рис. 6–16 | — | 0,82 | |
| Температурный напор | єС | |||
| Тепловосприятие по уравнению теплообмена | кДж/кг | |||
| Расхождениерасчётныхтепловосприятий | % | |||
ТАБЛИЦА 7.5 Конструктивный расчёт первой ступени экономайзера
| Величина | Единица | Расчёт | ||
| Наименование | Обозначение | Расчётная формула или способ определения | ||
| Площадь поверхности нагрева ступени | H | По конструктивным размерам | м2 | 236 |
| Площадь живого сечения для прохода газов | То же | м2 | 6,41 | |
| То же, для прохода воды | f | То же | м2 | 0,0122 |
| Температура газов на входе в ступень | Из расчёта 2 ст. воздухоподогревателя | єС | 398 | |
| Энтальпия газов на входе в ступень | То же | кДж/кг | 5616,6 | |
| Температура газов на выходе из ступени | По выбору | єС | 307 | |
| Энтальпия газов на выходе из ступени | По IJ – таблице | кДж/кг | 4281,79 | |
| Тепловосприятие ступени (теплота, отданная газами) | кДж/кг | |||
| Удельная энтальпия воды на выходе из ступени | Из расчёта 2 ст. экономайзера | кДж/кг | 669,6 | |
| Температура воды на выходе из ступени | То же | єС | 160 | |
| Удельная энтальпия воды на входе в ступень | По табл. VI–6 | кДж/кг | 610 | |
| Температура воды на входе в ступень | По заданию | єС | 145 | |
| Средняятемператураводы | tср | єС | ||
| Скоростьводы втрубах | м/с | |||
| Средняяемпературагазов | єС | |||
| Средняяскорость газов | м/с | |||
| Коэффициент теплоотдачи конвекцией | По рис. 6–5
|
Вт/(м2 ·К) | 61 | |
| Эффективная толщина излучающего слоя | s | м | ||
| Суммарная поглощательная способность трёхатомных газов | м·МПа | |||
| Коэффициент ослабления лучей трёхатомными газами | По рис. 5–5 | 1/(м·МПа) | 5 | |
| Коэффициент ослабления лучей золовыми частицами | По рис. 5–6 | 1/(м·МПа) | 0,055 | |
| Суммарная оптическая толщина запылённого газового потока | — | |||
| Степень черноты газов | а | По рис. 5–4 | — | 0,0356 |
| Температура загрязнённой стенки трубы | єС | |||
| Коэффициент теплоотдачи излучением | По рис. 6–12
|
Вт/(м2 ·К) | 1,2 | |
| Температура в объёме камеры перед ступенью | Из расчёта перегревателя | єС | 398 | |
| Коэффициент | А | По § 6–2 | — | 0,4 |
Глубина по ходу газов: ступени объём перед ступенью |
По конструктивным размерам То же |
м м |
1,1 1,9 |
|
| Коэффициент теплоотдачи излучением с учётом излучения газового объёма перед степенью | Вт/(м2 ·К) | ![]() |
||
| Коэффициент теплоотдачи от газов к стенке | Вт/(м2 ·К) | |||
| Поправка к коэффициенту загрязнения | По табл. 6–1 | м2 ·К/Вт | 0,002 | |
| Коэффициент загрязнения | По формуле (6–8) | м2 ·К/Вт | 0,0056 | |
| Коэффициент теплоотдачи | Вт/(м2 ·К) | |||
Разность температур между средами: наибольшая наименьшая |
|
|
єС єС |
|
| Отношение | — | |||
| Температурный напор | єС | |||
| Площадь поверхности нагрева ступени | м2 | |||
Т.к. невязка составляет меньше 2% то внесение конструктивных изменений не требуется
ТАБЛИЦА 7.6 Конструктивный расчёт первой ступени воздухоподогревателя
| Величина | Единица | Расчёт | ||
| Наименование | Обозначение | Расчётная формула или способ определения | ||
| Диаметр и толщина стенки труб | По конструктивным размерам | мм | 40х0,3 | |
Относительный шаг труб: поперечный продольный |
То же » » |
— — |
1,35 1,05 |
|
| Количество рядов труб | » » | шт. | 30 | |
| Количество ходов по воздуху | » » | — | 1 | |
| Площадь живого сечения для прохода газов | » » | м2 | 2,7 | |
| То же, для прохода воздуха | » » | м2 | 2,5 | |
| Площадьповерхностинагрева | Н | » » | м2 | 1750 |
| Температура газов на выходе из ступени | По заданию |
єС | 140 | |
| Энтальпия газов на выходе из ступени | По IJ–таблице | кДж/кг | 1871.14 | |
| Температура воздуха на входе в ступень | По выбору | єС | 30 | |
| Энтальпия теоретического количества холодного воздуха | По IJ–таблице | кДж/кг | 265.94 | |
| Температура воздуха на выходе из ступени | Из 2 ст воздухоподогревателя | єС | 287 | |
| Энтальпия теоретического количества воздуха на выходе из ступени | По IJ–таблице | кДж/кг | 2608,8 | |
| Отношение | — | |||
| Тепловосприятие ступени | кДж/кг | |||
| Средняя температура воздуха в ступени | єС | |||
| Энтальпия теоретического количества воздуха присосов при средней температуре | По IJ–таблице | кДж/кг | 1406,8 | |
| Температура газов на входе в ступень | Из расчёта 1 ст. экономайзера | єС | 307 | |
| Энтальпия газов на входе в ступень | По IJ–таблице | кДж/кг | 4366,22 | |
| Средняя температура газов | єС | |||
| Средняя скорость газов | м/с | |||
| Коэффициент теплоотдачи от газов к стенке | По рис. 6–7 | Вт/(м2 ·К) | 34 | |
| Средняя скорость воздуха | м/с | |||
| Коэффициент теплоотдачи с воздушной стороны | По рис. 6–4
|
Вт/(м2 ·К) | 55 | |
| Коэффициент использования поверхности нагрева | По табл. 6–3 | — | 0,85 | |
| Коэффициент теплопередачи | Вт/(м2 ·К) | |||
Разность температур между средами: наибольшая наименьшая |
|
|
єС єС |
|
| Температурный напор при противотоке | єС | |||
Перепад температур: наибольший наименьший |
|
|
єС єС |
|
| Параметр | Р | — | ||
| То же | R | — | ||
| Коэффициент | По рис. 6–16 | — | 0,82 | |
| Температурный перепад | єС | |||
| Площадь поверхности нагрева ступени | м2 | |||
Т.к. невязка составляет более 2% то вносим конструктивные ихменения. Добавляем к воздухоподогревателю дополнительно 2713 м2
8 Расчёт невязки теплового баланса парогенератора
Расчёт невязки теплового баланса представлен в таблице 8
ТАБЛИЦА 8
| Величина | Величина | Расчёт | ||
| Наименование | Обозначение | Расчётная формула или способ определения | ||
| Расчётная температура горячего воздуха | Из расчёта воздухоподогревателя | єС | 350 | |
| Энтальпия горячего воздуха при расчётной температуре | То же | кДж/кг | 3213 | |
| Лучистое тепловосприятие топки | Из расчёта топки | кДж/кг | 14605.3 | |
| Расчётная невязка теплового баланса | ![]() |
кДж/кг | ![]() |
|
| Невязка | — | % | ||
ВЫВОДЫ
В ходе выполнения курсового проекта был проведен тепловой расчет промышленного парогенератора К-50-40-1 при совестном сжигании твердого и газообразного топлива. Расчет также включает в себя выбор системы пылеприготовления и типа мельниц.
Расчет проводился по твердому топливу, с учетом тепла, вносимого в топку, за счет сжигания газообразного топлива.
Последовательно был проведен поверочный расчет всех поверхностей нагрева котла: экранов топки, фестона, пароперегревателя , водяного экономайзера (две ступени), воздухоподогревателя (две ступени). С учетом того, что парогенератор спроектирован на сжигание другого вида топлива, возникла необходимость в проведении поверочно-конструктивного расчета.
При поверочном расчете поверхности нагрева приходится задаваться изменением температуры одной из теплообменивающихся сред (разностью температур на входе и выходе). Этим определяется тепловосприятие поверхности в первом приближении. Далее можно вычислить температуры другой среды на концах поверхности нагрева, температурный напор, скорости газового потока и рабочей среды и все другие величины, необходимые для вычисления тепловосприятия во втором приближении. При расхождении принятого и расчетного тепловосприятий выше допустимого повторяют расчет для нового принятого тепловосприятия. Таким образом, поверочный расчет поверхности нагрева выполняется методом последовательных приближений.
Тепловой расчет парогенератора заканчивается определением невязки теплового баланса. В курсовом проекте величина невязки составляет 1,83 %.
СПИСОК ЛИТЕРАТУРЫ
1. Тепловой расчет промышленных парогенераторов. / Под ред. В.И. Частухина. – Киев: Вища шк., 1980. – 184 с.
2. Сидельковский Л.Н., Юренев В.Н.Котельные установки промышленных предприятий: Учебник для вузов. – М.: Энергоатомиздат, 1988. – 528 с.
3. Компоновка и тепловой расчет парового котла: Учеб. пособие для вузов/ Ю.М. Липов, Ю.Ф. Самойлов, Т.В. Виленский. – М.: Энергоатомиздат, 1988. – 208 с.
4. Расчет паровых котлов в примерах и задачах: Учеб. пособие для вузов/ А.Н. Безгрешнов, Ю.М. Липов, Б.М. Шлейфер; Под общ. ред. Ю.М. Липова. – М.: Энергоатомиздат, 1991. – 240 с.
5. Методические указания "Расчет объемов и энтальпий воздуха и продуктов сгорания для смеси топлив с применением ЭВМ" по курсу "Котельные установки промышленных предприятий". / Сост.: А.А. Соловьев, В.Н. Евченко. – Мариуполь: ММИ, 1991. – 17 с.
6. Методические указания к выполнению курсового проекта по курсу "Котельные установки промышленных предприятий" для студентов специальности (7.090510)/ Сост.: А.А. Соловьев, В.М. Житаренко – Мариуполь: ПГТУ, 1998. – 40 с.































