| Скачать .docx |
Реферат: Физические основы пластичности и прочности металлов 2
Тема: Физические основы пластичности и прочности металлов.
Физическая природа деформации металлов.
Деформацией называется изменение формы и размеров тела под действием напряжений.
Напряжение – сила, действующая на единицу площади сечения детали.
Напряжения и вызываемые ими деформации могут возникать при действии на тело внешних сил растяжения, сжатия и т.д., а также в результате фазовых (структурных) превращений, усадки и других физико-химических процессов, протекающих в металлах, и связанных с изменением объема.
Металл, находящийся в напряженном состоянии, при любом виде нагружения всегда испытывает напряжения нормальные и касательные (рис. 6.1.).

Рис.6.1. Схема возникновения нормальных и касательных напряжений в металле при его нагружении
Рост нормальных и касательных напряжений приводит к разным последствиям. Рост нормальных напряжений приводит к хрупкому разрушению. Пластическую деформацию вызывают касательные напряжения.
Деформация металла под действием напряжений может быть упругой и пластической.
Упругой называется деформация, полностью исчезающая после снятия вызывающих ее напряжений.
При упругом деформировании изменяются расстояния между атомами металла в кристаллической решетке. Снятие нагрузки устраняет причину, вызвавшую изменение межатомного расстояния, атомы становятся на прежние места, и деформация исчезает.
Упругая деформация на диаграмме деформации характеризуется линией ОА (рис.6.2.).

Рис.6.2. Диаграмма зависимости деформации металла от действующих напряжений
Если нормальные напряжения достигают значения сил межатомных связей, то наблюдается хрупкое разрушение путем отрыва (рис.6.3.)

Рис.6.3. Схема упругой деформации и хрупкого разрушения под действием упругих напряжений а – ненапряженная решетка металла; б – упругая деформация; в, г – хрупкое разрушение в результате отрыва
Зависимость между упругой деформацией и напряжением выражается законом Гука
![]()
где: Е - модуль упругости.
Модуль упругости является важнейшей характеристикой упругих свойств металла. По физической природе величина модуля упругости рассматривается как мера прочности связей между атомами в твердом теле.
Эта механическая характеристика структурно нечувствительна, т. е. термическая обработка или другие способы изменения структуры не изменяют модуля упругости, а повышение температуры, изменяющее межатомные расстояния, снижает модуль упругости.
Пластической или остаточной называется деформация после прекращения действия вызвавших ее напряжений.
При пластическом деформировании одна часть кристалла перемещается по отношению к другой под действием касательных напряжений. При снятии нагрузок сдвиг остается, т.е. происходит пластическая деформация (рис.6.4 )
В результате развития пластической деформации может произойти вязкое разрушение путем сдвига.

Рис.6.4. Схема пластической деформации и вязкого разрушения под действием касательных напряжений а – ненапряженная решетка; б – упругая деформация; в – упругая и пластическая деформация; г – пластическая деформация; д, е – пластичное (вязкое) разрушение в результате среза
Твердость металлов.
Твёрдость металлов не является физической постоянной, а представляет собой сложное свойство, зависящее как от прочности и пластичности, так и от метода измерения. Т. м. характеризуется числом твёрдости. Наиболее часто для измерения Т. м. пользуются методом вдавливания. При этом величина твёрдости равна нагрузке, отнесённой к поверхности отпечатка, или обратно пропорциональна глубине отпечатка при некоторой фиксированной нагрузке. Отпечаток обычно производят шариком из закалённой стали (методы Бринелля, Роквелла), алмазным конусом (метод Роквелла) или алмазной пирамидой (метод Виккерса, измерение микротвёрдости). Реже пользуются динамическими методами измерения, в которых мерой твёрдости является высота отскакивания стального шарика от поверхности изучаемого металла (например, метод Шора) или время затухания колебания маятника, опорой которого является исследуемый металл (метод Кузнецова — Герберта — Ребиндера). Получает распространение метод измерения Т. м. с помощью ультразвуковых колебаний, в основе которого лежит измерение реакции колебательной системы (изменения её собственной частоты) на твёрдость испытуемого металла. Числа твёрдости указываются в единицах НВ (метод Бринелля), HV (метод Виккерса), HR (метод Роквелла), где Н от английского hardness — твёрдость. Поскольку при определении твёрдости методом Роквелла пользуются как стальным шариком, так и алмазным конусом, часто вводятся дополнительные обозначения — В (шарик), С и А (конус, разные нагрузки). По специальным таблицам или диаграммам можно осуществлять пересчёт чисел твёрдости (например, число твёрдости по Роквеллу можно пересчитать на число твёрдости по Бринеллю). Выбор метода определения твёрдости зависит от исследуемого материала, размеров и формы образца или изделия и др. факторов.
Твёрдость весьма чувствительна к изменению структуры металла. При изменении температуры или после различных термических и механических обработок величина Т. м. и сплавов меняется в том же направлении, что и предел текучести; поэтому часто при контроле изменения механических свойств после различных обработок металл характеризуют твёрдостью, которая измеряется проще и быстрее. Измерениями микротвёрдости пользуются при изучении механических свойств отдельных зёрен, а также структурных составляющих сложных сплавов.
Для относительной оценки жаропрочности металлических материалов иногда пользуются так называемой длительной твёрдостью (или микротвёрдостью), измерение которой производят при повышенной температуре длительное время (минуты, часы).
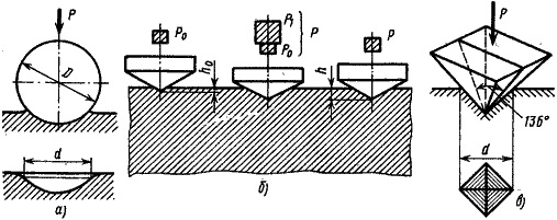
Наибольшее распространение получили методы Бринелля, Роквелла, Виккерса и микротвердости. Схемы испытаний представлены на рис. 7.1.

Рис. 7.1. Схемы определения твердости: а – по Бринеллю; б – по Роквеллу; в – по Виккерсу
Пластичность и сопротивление металла деформированию
Пластичность и сопротивление металлов и сплавов деформированию при обработке давлением зависят от ряда факторов: природы металла или сплава, его химического состава, структуры, механических свойств, температуры нагрева, скорости деформации, схемы главных напряжений и т. п. (Скорость деформации следует отличать от скорости деформирования, т. е. скорости перемещения деформирующего инструмента, м/с.) Например, медь по природе более пластичный металл, чем железо; чистые металлы, как правило, обладают более высокой пластичностью, чем их сплавы, так как в сплавах часто образуются новые структурные составляющие и химические соединения, которые могут снизить пластичность.
Пластичность сплава в большой степени зависит от его химического состава: низкоуглеродистая сталь имеет более высокую пластичность, чем высокоуглеродистая. Пластичность литого крупнозернистого металла всегда ниже, чем деформированного, имеющего мелкозернистую структуру, что объясняется большим различием свойств зерен литого металла и межкристаллитных дефектных прослоек. Снижают пластичность также поры, газовые пузыри, хрупкие неметаллические включения, макро- и микротрещины. Большей пластичностью обладают металлы, у которых больше разница между пределами прочности и текучести.
С повышением температуры нагрева вследствие увеличения подвижности атомов и ряда других причин пластичность металла, определяемая, например, по величине относительного удлинения, повышается, а предел прочности, который при горячей обработке давлением приближенно характеризует сопротивление металла деформированию.
С увеличением скорости деформации пластичность металла обычно уменьшается вследствие того, что в нем не успевают совершиться разупрочняющие процессы. (Средняя скорость деформации є представляет собой отношение деформации є к времени t, в течение которого она осуществлялась.)
При очень больших скоростях деформации пластичность металла вновь возрастает; это объясняется тем, что теплота, в которую переходит совершающаяся при деформации работа, не успевает рассеяться и приводит к разогреву деформируемого металла, если он не попадает при этом в зону хрупкости.