| Скачать .docx |
Курсовая работа: Тепловой расчёт промышленного парогенератора ГМ-50-1
Пояснительная записка к курсовому проекту
по курсу “Котельные установки промышленных предприятий”
Тема: Тепловой расчёт промышленного парогенератора ГМ-50-1
РЕФЕРАТ
Пояснительная записка к курсовому проекту: 46 с., 5 рис., 23 табл.Графическая часть содержит 1 лист формата А0 и А1.
Объектом исследования является парогенератор К-50-40-1. Тепловой расчет парового котла может быть конструктивным и поверочным. Задача конструктивного теплового расчета котла заключается в выборе компоновки поверхностей нагрева в газоходах котла, определении размеров радиационных и конвективных поверхностей нагрева, обеспечивающих номинальную паропроизводительность котла при заданных номинальных параметрах пара, надежность и экономичность его работы. При этом обеспечение надежности работы поверхностей нагрева предполагает получение расчетных тепловых характеристик, исключающих увеличение максимальной температуры стенки сверх допустимого значения по условиям прочности, а на экономичность работы котла определяющее влияние оказывают температура уходящих газов и присосы холодного воздуха в газовый тракт.
Выполнение конструктивного теплового расчета производится на основании исходных данных: тип парового котла (барабанный или прямоточный, его заводская маркировка), номинальную паропроизводительность и параметры перегретого пара, месторождение и марку энергетического топлива, способ сжигания твердого топлива (с твердым или жидким удалением шлаков), температуру питательной воды, поступающей в котел после регенеративного подогрева. Кроме указанных могут быть заданы и другие характеристики, например непрерывная продувка, доля рециркуляции газов в топку, работа котла под наддувом или при разряжении в газовом тракте и др.
Задание не поверочный расчет включает в себя практически те же исходные данные, что и при конструктивном расчете, и дополнительно – конструктивные данные поверхностей котла. Поэтому расчету предшествует определение по чертежам геометрических характеристик поверхностей (диаметров и шагов труб, числа рядов труб, размеров проходных сечений для газов и рабочей среды, габаритных размеров газоходов и поверхностей нагрева и т.д.).
При поверочном расчете котла, так же как при конструктивном, вначале определяют объемы и энтальпии воздуха и продуктов сгорания, КПД и расход топлива, а затем выполняют расчет теплообмена в топочной камере и других поверхностях в последовательности, соответствующей их расположению по ходу газов.
КОТЕЛ, ПАР, ТОПЛИВО, ТЕПЛОТА, КПД, ПАРОПЕРЕГРЕВАТЕЛЬ, ЭКОНОМАЙЗЕР, ВОЗДУХОПОДОГРЕВАТЕЛЬ.
СОДЕРЖАНИЕ
Введение
1. Общее описание котлоагрегата и вспомогательного оборудования
2. Расчет топлива
2.1 Характеристики топлива
2.2 Теплота сгорания смеси топлив.
2.3 Объёмы воздуха и продуктов сгорания
2.4 Энтальпии воздуха и продуктов сгорания.
3. Расчет теплового баланса парогенератора и расход топлива
4. Расчет теплообмена в топке
5. Расчет фестона
6. Расчет пароперегревателя
7. Расчет хвостовых поверхностей нагрева
8. Расчет невязки теплового баланса парогенератора
Выводы
Список литературы
ВВЕДЕНИЕ
Паровой котел – это основной агрегат тепловой электростанции (ТЭС). Рабочим телом в нем для получения пара является вода, а теплоносителем служат продукты горения различных органических топлив. Необходимая тепловая мощность парового котла определяется его паропроизводительностью при обеспечении установленных температуры и рабочего давления перегретого пара. При этом в топке котла сжигается расчетное количество топлива.
Номинальной паропроизводительностью называется наибольшая производительность по пару, которую котел должен обеспечить в длительной эксплуатации при номинальных параметрах пара и питательной воды с допускаемыми по ГОСТ отклонениями от этих величин.
Номинальное давление пара – наибольшее давление пара, которое должно обеспечиваться непосредственно за пароперегревателем котла.
Номинальные температуры пара высокого давления (свежего пара) и пара промежуточного перегрева (вторично-перегретого пара) – температуры пара, которые должны обеспечиваться непосредственно за пароперегревателем с допускаемыми по ГОСТ отклонениями при поддержании номинальных давлений пара, температуры питательной воды и паропроизводительности.
Номинальная температура питательной воды – температура воды перед входом в экономайзер, принятая при проектировании котла для обеспечения номинальной паропроизводительности.
При изменении нагрузки котла номинальные температуры пара (свежего и вторично перегретого) и, как правило, давление должны сохраняться (в заданном диапазоне нагрузок), а остальные параметры будут изменяться.
Оборудование котельной установки условно разделяют на основное (собственно котел) и вспомогательное. Вспомогательными называют оборудование и устройства для подачи топлива, питательной воды и воздуха, для удаления продуктов сгорания, очистки дымовых газов, удаления золы и шлака, паропроводы, водопроводы и др.
Современный котел оснащается системами автоматизации, обеспечивающими надежность и безопасность его работы, рациональное использование топлива, поддержание требуемой производительности и параметров пара, повышение производительности труда персонала и улучшение условий его работы, защиту окружающей среды от вредных выбросов.
1. Общее описание котлоагрегата и вспомогательного оборудования
Парогенератор ГМ-50-1.
Топочная камера обьемом 144 м
полностью экранирована трубами 60´3мм, расположенными с шагом 70 мм. Трубы фронтового и заднего экранов образуют под топки. Экраны разделены на восемь самостоятельных циркуляционных контуров.
На боковых стенах топочной камеры размещены по три основные газомазутные горелки, с фронта – две дополнительные. В барабане находится чистый отсек первой ступени испарения с внутрибарабанными циклонами. Вторая ступень вынесена в выносные циклоны Ш 377 мм.
Пароперегреватель – конвективный, горизонтального типа, змеевиковый, двухступенчатый, с шахматным расположением труб Æ 32´3 мм и поперечным шагом 75 мм.
Экономайзер – стальной, гладкотрубный, змеевиковый, кипящего типа, двухблочный, с шахматным расположением труб Æ 28´3 мм. Продольный шаг – 50 мм, поперечный – 70 мм.
Воздухоподогреватель - стальной, трубчатый, одноступенчатый, трехходовый, с шахматным расположением труб 40´1,5мм. Поперечный шаг труб - 60 мм, продольный – 42 мм.
Технические и основные конструктивные характеристики парогенератора приведены в аннотации.
Исходные данные представлены в таблице 1и 1.1
Таблица 1. Исходные данные.
| №варианта |
Тип парогенератора |
Топливо №1(мазут) |
Топливо № 2(газ) |
| 20 |
ГМ 50-1 |
97 |
26 |
Таблица 1.1
| q1 % |
D т/ч |
Pп.п бар |
tп.п 0 С |
r % |
tп.в 0 С |
| 36 |
49 |
40 |
450 |
3,5 |
145 |
2. Расчёт топлива
2.1 Характеристики топлива
Расчётные характеристики для заданных видов топлива предоставлены в таблицах 2.1 и 2.2
Таблица 2.1 Характеристики твёрдого топлива.
| Ср % |
Wp % |
Ap % |
Sp k % |
TSp op % |
Hp % |
Np % |
Op % |
Qр н КДж/кг |
Vг |
t1 0 С |
t2 0 С |
t3 0 С |
| 84,8 |
3 |
0,1 |
1.4 |
11.2 |
0.5 |
0.5 |
9490 * 4.187 |
50 |
1450 |
>1500 |
- |
|
Таблица 2.2 Характеристики газа.
| CH4 % |
C2 H6 % |
C3 H8 % |
C4 H10 % |
C5 H12 % |
N2 % |
CO2 % |
H2 S % |
O2 % |
CO% |
H2 % |
Qс н КДж/м3 |
rс г кг/м3 |
| 93.9 |
3.1 |
1.1 |
0.3 |
0.1 |
1.3 |
0.2 |
- |
- |
- |
- |
8860*4.187 |
0.766 |
2.2 Теплота сгорания смеси топлив
При сжигании смеси жидкого и газообразного топлив расчёт с целью упрощения условно ведется на 1 кг жидкого топлива с учётом количества газа (м3 ), приходящегося на 1 кг жидкого топлива. Поскольку доля жидкого топлива в смеси задана по теплу, то теплота сгорания жидкого топлива и является этой долей.
Следовательно, удельная теплота сгорания смеси определиться как

где
– теплота сгорания твёрдого топлива, кДж/кг;
– доля твёрдого топлива по теплу, %;
Количество теплоты, вносимое в топку с газом:
![]()
Тогда расход газа (в м3 ) на 1 кг твёрдого топлива будет равен:
![]()
где
– теплота сгорания газа, кДж/м.
Проверка:
![]()
2.3 Объёмы воздуха и продуктов сгорания
Необходимое для полного сгорания топлива количество кислорода, объёмы и массовые количества продуктов сгорания определяются из нижеследующих стехиометрических уравнений:
· Для твёрдого топлива:
![]()
![]()
![]()
![]()
· Для газообразного топлива:
V°вII=0.0476∙[0.5∙СО+0.5∙Н2+1.5∙Н2S+∑(m+0.25∙n)∙СmНn–О2]=
=0.0476∙(0+(1+0,25*4)*93,9+(2+0,25*6)*3,1+(3+0,25*8)*1,1+(4+0,25*10)*0,3+(5+0,25*12)*0,1)=9,84844 м/м;
V°N2II=0.79∙V°вII+0.01∙N2=0.79∙9.84844+0.01∙1,3=7.8 м/м;
V°RO2II=0.01∙(СО2+СО+Н2S+∑m∙СmНn)=0.01∙(0.2+1∙93.2+2∙3,1+3∙1.1+4∙0.3+5Ч0,1)=1.053 м/м;
V°Н2OII=0.01∙(Н2S+Н2+∑0.5∙n∙СmНn+0.124∙dr)+0.0161∙V°в=0.01∙(0.5∙4∙93.9+6·3,1·0,5+0.5∙8∙1.1+0.5∙10∙0.3+0.5∙12·0,1+0,124·)+0.0161∙9.84844=2.2 м/м;
· Для смеси топлив:
V°в=V°вI+Х∙V°вII=10,6+1,9∙9,84844=29,22 м/кг;
V°N2=V°N2I+Х∙V°N2II=8,378+1,9∙7.8=23,198 м/кг;
VRO2=V°RO2I+Х∙V°RO2II=1,6+1,9∙1.053=3,6 м/кг;
V°Н2O=V°Н2OI+Х∙V°Н2OII=1,45+1,9∙2,2=5,63м/кг;
Расчёт действительных объёмов.
VN2=V°N2+(a–1)∙V°в=23,198+(1.1–1)∙29,22=26,12 м/кг;
VН2O=V°Н2O+0.0161∙(a–1)∙V°в=5,63+0.0161∙(1.1–1)∙29,22=5,68м/кг;
Vr=VRO2+VN2+VН2O=3,6+26,12+5,68=35,4 м/кг;
Объёмные доли трёхатомных газов.
rRO2=VRO2/Vr=3,6/35,4=0.102
rН2O=VН2O/Vr=5,68/35,4=0.16
rn=rRO2+rН2O=0.102+0.16=0.3
Концентрация золы в продуктах сгорания
m=А ∙aун/(100·Gr)=0,1∙0.95/(100·42,98)=0,000022 кг/кг;
Gr=1-A/100+1.306∙a· V°в=1-0,1/100+1.306·1.1·29,22=42,98кг/кг;
2.4 Энтальпии воздуха и продуктов сгорания .
I°в=V°в∙(сt)в=29.22∙1436=41959,92 кДж/кг;
I°r=VRO2∙(сJ )RO2+V°N2∙(сJ )N2+V°Н2О∙(сJ )Н2О=3,6∙2202+23,198∙1394+5,63∙1725=49826,41кДж/кг;
Ir=I°r+(a–1)∙I°в+Iзл;
т.к. (А ∙aун/Qн)∙10=(0,1∙0.95/110368,7)∙10=0,0008<1.5,
то Iзл – не учитывается;
Ir=I°r+(a–1)∙I°в=49826,41+(1.1–1)∙41959,92=54023,34 кДж/кг.
Полученные результаты после проверки на компьютере и уточнения офор- мим в виде даблицы 2.3
Таблица 2.3 Результаты расчёта топлива.
| Для твёрдого топлива |
Для газообразного топлива |
Для смеси топлив |
Энтальпии при t=1000 °С |
| V°вI=10,6 V°N2I=8,378 V°RO2I=1,6 V°Н2OI=1,45 |
V°вII=9.84844 V°N2II=7.8 V°RO2II=1.053 V°Н2OII=2,2 |
V°вII=29,22 V°N2II=23,09 V°RO2II=3,6 V°Н2OII=5,63 |
Воздуха: I°в=41959,92 Газа: I°r=49826,41 Ir=54023,34 Золы: Iзл=0.00 |
При aт=1.1, t=1000°С.
Значение коэффициентов избытка воздуха на выходе из топки и присосов воздуха в элементах и газоходах котельной установки принимаем по таблице 5.
Таблица 2.4 Присосы воздуха по газовому тракту.
| Участки газового тракта. |
∆a |
a |
Температура, °С. |
| Топка |
0.1 |
1,1 |
100–2200 |
| Пароперегреватель |
0,05 |
1,15 |
600–1200 |
| Экономайзер |
0,08 |
1,23 |
200–900 |
| Воздухоподогреватель |
0,06 |
1,29 |
100–600 |
Данные расчётов энтальпии продуктов сгорания топлива при различных температурах газов в различных газоходах сведены в таблицу 2.5.
Таблица 2.5 Энтальпии продуктов сгорания в газоходах.
| t, °С |
Участки конвективных поверхностей нагрева |
|||
| 1,1 |
1,15 |
1,23 |
1,29 |
|
| 100 |
4846,011 |
5578,849 |
||
| 200 |
9777,533 |
10787,96 |
11254,31 |
|
| 300 |
14848,19 |
16379,02 |
17085,56 |
|
| 400 |
20056,08 |
22114,92 |
23065,15 |
|
| 500 |
25386,66 |
27984,91 |
29184,09 |
|
| 600 |
30833,56 |
32046,19 |
33986,4 |
35441,56 |
| 700 |
36421,62 |
37851,94 |
40140,45 |
|
| 800 |
42190,41 |
43841,34 |
46482,83 |
|
| 900 |
48048,5 |
49920,04 |
52914,51 |
|
| 1000 |
54023,34 |
56121,33 |
||
| 1100 |
60024,26 |
62354,56 |
||
| 1200 |
66042,61 |
68605,21 |
||
| 1300 |
72270,49 |
|||
| 1400 |
78520,91 |
|||
| 1500 |
84770,96 |
|||
| 1600 |
91118,2 |
|||
| 1700 |
97503,2 |
|||
| 1800 |
103939,3 |
|||
| 1900 |
110453,8 |
|||
| 2000 |
116932,3 |
|||
| 2100 |
123509,7 |
|||
| 2200 |
130060,2 |
|||
Таблица 2.6. Характеристики продуктов сгорания в поверхностях нагрева.
| Величина |
Един-ица |
Топка |
Участки конвективных поверхностей нагрева |
||
| 1.1 |
1.125 |
1.19 |
1.26 |
||
| VRO2 |
м/кг |
3,6 |
3,6 |
3,6 |
3,6 |
| VN2=V°N2+(a-1)∙V°в |
–//– |
26,12 |
26,85 |
28,75 |
30,8 |
| VН2O=V°Н2O+ +0.0161∙(a-1)∙V°в |
–//– |
5,68 |
5,69 |
5,72 |
5,75 |
| Vr=VRO2+VN2+VН2O |
–//– |
35,4 |
36,14 |
38,1 |
40,15 |
| rRO2=VRO2/Vr |
–//– |
0,102 |
0.1 |
0.09 |
0.089 |
| rН2O=VН2O/Vr |
–//– |
0.16 |
0.157 |
0.15 |
0.14 |
| rn=rRO2+rН2O |
–//– |
0.3 |
0.26 |
0.24 |
0.229 |
| 10∙А ∙aун/Qн |
кг/МДж |
0,03 |
0,03 |
0,025 |
0,024 |
| м= А ∙aун/(100·Gr) |
кг/кг |
0,000022 |
0,000022 |
0,00002 |
0,000021 |
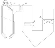
На рис.1 представлена схема котла ГМ-50-1

Рис. 1 Схема котла ГМ-50-1.
1-Топочная камера
2-Барабан
3-Фестон
4-Пароперегреватель
5-Экономайзер
6-Воздухоподогреватель
3. Расчёт теплового баланса парогенератора и расход топлива
Расчёт теплового баланса парогенератора и расход топлива преждставлен в таблице 3
ТАБЛИЦА 3.
| Величина |
Единица |
Расчёт |
||
| Наименование |
Обозначение |
Расчётная формула или способ определение |
||
| Располагаемая теплота топлива |
|
|
кДж/кг |
|
| Потеря теплоты от химической неполноты сгорания топлива |
|
По таблице 4–3 |
% |
0,5 |
| Потеря теплоты от механической неполноты сгорания топлива |
|
По таблице 4–3 |
% |
0 |
| Температура уходящих газов |
|
По заданию |
°С |
140 |
| Энтальпия уходящих газов |
|
По IJ–таблице |
кДж/кг |
7849,0334 |
| Температура воздуха в котельной |
|
По выбору |
°С |
30 |
| Энтальпия воздуха в котельной |
|
По IJ–таблице |
кДж/кг |
1139,58 |
| Потеря теплоты с уходящими газами |
|
|
% |
|
| Потеря теплоты от наружного охлаждения |
|
По рис. 3–1 |
% |
0,9 |
| Сумма теплов.пот. |
|
|
% |
|
| К.п.д. парогенератора |
|
|
% |
|
| Коэффициент сохранения теплоты |
|
|
— |
|
| Паропроизводительность агрегата |
D |
По заданию |
кг/с |
49 |
| Давление пара в барабане |
|
По заданию |
МПа |
44,4 |
| Температура перегретого пара |
|
По заданию |
°С |
450 |
| Температура питательной воды |
|
По заданию |
°С |
145 |
| Удельная энтальпия перегретого пара |
|
По табл. VI–8 |
кДж/кг |
3342 |
| Удельная энтальпия питательной воды |
|
По табл. VI–6 |
кДж/кг |
611 |
| Значение продувки |
p |
По выбору |
% |
70 |
| Полезно используемая теплота в агрегате |
|
|
кВт |
|
| Полный расход топлива |
|
|
кг/с |
|
| Расчётный расход топлива |
|
|
кг/с |
|
4 Расчет теплообмена в топке
Расчёт полной площади стен топочной камеры и сумарной лучевоспринимающей поверхности топки представлен в таблицах 4.1 ,4.2, 4.3
На рис.2 представлена схема топочной камеры
ТАБЛИЦА 4.1 Расчет полной площади стен топочной камеры (Fст) и суммарной лучевоспринимающей поверхности топки (Hл)
| Наименование |
Обоз-наче-ние |
Еди-ница |
Фр.и свод |
Боко-вые |
Задн |
Вых. окно |
S |
| Полная площадь стены и выходного окна |
FСТ |
м2 |
56.2 |
63.5 |
44.28 |
13,48 |
177.46 |
| Расстояние между осями крайних труб |
b |
м |
5.2 |
3.66 |
5.2 |
5.2 |
|
| Освещённая длина труб |
L |
м |
10.3 |
8.28 |
8.165 |
2.05 |
|
| Площадь, занятая лучевоспринимающей поверхностью |
F |
м2 |
53.56 |
60.61 |
42.46 |
10.66 |
167.29 |
| Наружный диаметр труб |
d |
мм |
60 |
60 |
60 |
60 |
|
| Шаг труб |
s |
мм |
70 |
70 |
70 |
70 |
|
| Расстояние от оси труб до кладки (стены) |
e |
мм |
100 |
60 |
100 |
||
| Отношение |
s/d |
- |
1,1667 |
1,1667 |
1.1667 |
||
| Отношение |
e/d |
- |
1,667 |
1 |
1,667 |
||
| Угловой коэффициент |
x |
- |
0.99 |
0.99 |
0.99 |
0.99 |
|
| Площадь лучевоспринимающей поверхности открытых экранов |
HЛОТК |
м2 |
53.02 |
60 |
42 |
10.55 |
165.57 |
ТАБЛИЦА 4.2 Расчёт конструктивных характеристик топки
| Величина |
Единица |
Расчёт |
||
| Наименование |
Обозначение |
Расчётная формула или способ определения |
||
| Активный объём топочной камеры |
|
По конструктивным размерам |
м3 |
150 |
| Тепловое напряжение объёма топки: расчётное допустимое |
|
|
кВт/м3 кВт/м3 |
|
| Количество горелок |
n |
По табл. III–10 |
шт. |
6 |
| Тепло производительность горелки |
|
|
МВт |
|
| Тип горелки |
— |
По табл. III–6 |
— |
ГМГ-7 |
Рис.2 Топочная камера
ТАБЛИЦА 4.3 Поверочный расчёт теплообмена в топке
| Величина |
Единица |
Расчёт |
||
| Наименование |
Обозначение |
Расчётная формула или способ определение |
||
| Суммарная площадь лучевоспринимающей поверхности |
|
По конструктивным размерам |
м2 |
165.57 |
| Полная площадь стен топочной камеры |
|
По конструктивным размерам |
м2 |
177.46 |
| Коэффициент тепловой эффективности лучевоспринимающей поверхности |
|
|
— |
|
| Эффективная толщина излучающего слоя пламени |
|
|
м |
|
| Полная высота топки |
|
По конструктивным размерам |
м |
8 |
| Высота расположения горелок |
|
По конструктивным размерам |
м |
1.85 |
| Относительный уровень расположения горелок |
|
|
— |
|
| Параметр забалансированности топочных газов |
rн |
|
— |
|
| Коэффициент M0 |
M0 |
По нормативному методу |
— |
0,4 |
| Параметр, учитывающий характер распределения температуры в топке |
М |
|
— |
|
| Коэффициент избытка воздуха на выходе из топки |
|
По табл. 4–3 |
— |
1,1 |
| Присос воздуха в топке |
|
По табл. 2–2 |
— |
0,1 |
| Присос воздуха в системе пылеприготовления |
|
По табл. 2–1 |
— |
0 |
| Температура горячего воздуха |
|
По предварительному выбору |
°С |
250 |
| Энтальпия горячего воздуха |
|
По IJ–таблице |
кДж/кг |
9774,09 |
| Энтальпия присосов воздуха |
|
По IJ–таблице |
кДж/кг |
1139,58 |
| Полезное тепловыделение в топке |
|
|
кДж/кг |
|
| Адиабатическая температура горения |
|
По IJ–таблице |
°С |
2045,86 |
| Температура газов на выходе из топки |
|
По предварительному выбору |
°С |
1144 |
| Энтальпия газов на выходе из топки |
|
По IJ–таблице |
кДж/кг |
62672.34 |
| Средняя суммарная теплоёмкость продуктов сгорания |
|
|
кДж/кг |
|
| Объёмная доля: водяных паров трёхатомных газов |
|
По табл. 1–2 По табл. 1–2 |
— — |
0,16 0,102 |
| Суммарная объёмная доля трёхатомных газов |
|
|
— |
|
| Произведение |
|
|
м·МПа |
|
| Коэффициент ослабления лучей: трёхатомными газами |
|
|
1/(мЧЧМПа) |
|
| Коэффициент излучения сажестых частиц Для мазута Для газа |
|
|
— |
|
|
|
1- |
— |
|
|
| Коэффициент заполнения |
m |
|
— |
|
| Коэффициент ослабления лучей топочной средой |
|
|
1/(мЧЧМПа) |
|
| Критерий Бургера |
|
|
— |
|
| Критерий Бургера |
|
|
— |
|
| Температура газов на выходе из топки |
|
|
°С |
|
| Энтальпия газов на выходе из топки |
|
По IJ–таблице |
кДж/кг |
62718.46 |
| Общее тепловосприятие топки |
|
|
кДж/кг |
|
| Средняя удельная тепловая нагрузка лучевоспринимающих поверхностей |
|
|
кВт/м2 |
|
5. Расчёт фестона
Конструктивные размеры и поверочный расчёт фестона представлен в таблицах 5.1 и 5.2
На рис 3 представлена схема фестона

Рис. 3 Схема фестона
ТАБЛИЦА 5.1
| Показатели |
Еди-ница |
Фес-тон |
|
| Наименования |
Обозначение |
||
| Диаметр труб : |
|||
| наружный |
d |
м |
0.06 |
| внутренний |
dвн |
м |
0.054 |
| Кол-во труб в ряду |
Z1 |
шт. |
23 |
| Кол-во рядов труб |
Z2 |
3 |
|
| Общее кол-во труб в рассчитваыемом участке |
Z |
шт. |
70 |
| Средняя длина труб |
lср |
м |
1.8 |
| Расчетна площадь поверхности нагрева |
H |
м2 |
23.74 |
| Расположение труб |
- |
- |
ш |
| Шаг труб : |
|||
| поперек движения газов |
S1 |
520 |
|
| Вдоль движения газов |
S2 |
210 |
|
| Относительный шаг труб : |
|||
| поперечный |
S1/d |
8.66 |
|
| продольный |
S2/d |
3.5 |
|
| Размер сечения газохода поперек |
А |
м |
1.85 |
| движения газов |
В |
м |
5 |
| Площадь живого сечения для прохода газов |
F |
м2 |
6.766 |
ТАБЛИЦА 5.2 Поверочный расчёт фестона
| Величина |
Единица |
Расчёт |
||
| Наименование |
Обозначение |
Расчётная формула или способ определения |
||
| Полная площадь поверхности нагрева |
Н |
По конструктивным размерам |
м2 |
23.74 |
| Дополнительна поверхностья |
H доп |
» |
м2 |
2.5 |
| Диаметр труб |
d |
» |
мм |
60x3 |
| Относительный шаг труб: поперечный продольный |
|
» » |
— — |
8.66 3,5 |
| Количество рядов труб по ходу газов |
|
» |
шт. |
3 |
| Количество труб в ряду |
|
» |
шт. |
23 |
| Площадь живого сечения для прохода газов |
F |
|
м2 |
|
| Эффективная толщина излучающего слоя |
s |
|
м |
|
| Температура газов перед фестоном |
|
Из расчёта топки |
°С |
1144.77 |
| Энтальпия газов перед фестоном |
|
То же |
кДж/кг |
62718 |
| Температура газов за фестоном |
|
По предварительному выбору |
°С |
1076 |
| Энтальпия газов за фестоном |
|
По IJ –таблице |
кДж/кг |
58584 |
| Количество теплоты, отданное фестону |
|
|
кДж/кг |
|
| Температура кипения при давлении в барабане рб =4.4 МПа |
|
По таблице VI–7 |
°С |
256 |
| Средняя температура газов |
|
|
°С |
|
| Средний температурный напор |
|
|
°С |
|
| Средняя скорость газов |
|
|
м/с |
|
| Коэффициент теплоотдачи конвекцией |
|
По рис. 6–5 |
кВт/(м2 ·К) |
59*0.88*1*0.85=44.13 |
| Суммарная поглощательная способность трёхатомных газов |
|
|
м·МПа |
|
| Коэффициент ослабления лучей трёхатомными газами |
|
|
1/(м·МПа) |
|
| Суммарная оптическая толщина запылённого газового потока |
|
|
— |
|
| Степень черноты излучающей среды |
|
По рис. 5–4 или формуле (5–22) |
— |
0,31 |
| Температура загрязнённой стенки трубы |
|
|
°С |
|
| Коэффициент теплоотдачи излучением |
|
По рис. 6–12 (aл =aн а) |
Вт/(м2 ·К) |
220·0,31=68.2 |
| Коэффициент использования поверхности нагрева |
|
По § 6–2 |
— |
1 |
| Коэффициент теплоотдачи от газов к стенке |
|
|
Вт/(м2 ·К) |
|
| Коэффициент теплопередачи |
|
|
Вт/(м2 ·К) |
|
| Тепловосприятие фестона по уравнению теплопередачи |
|
|
кДж/кг |
|
| Тепловосприятие настенных труб |
|
|
кДж/кг |
|
| Суммарное тепловосприятие газоходов фестона |
|
|
кДж/кг |
3694.8+389.1=4083.85 |
| Расхождение расчетных тепловосприятий |
|
|
% |
|
6. Расчёт пароперегревателя
Конструктивные размеры конструктивный расчёт перегревателя представлен в таблицах 6.1 и 6.2
На рис. 4 представлена схема пароперегревателя

Рис.4 Схема пароперегревателя
ТАБЛИЦА 6.1 Конструктивные размеры и характеристики перегревателя
| Показатели |
Номера ступени участков по ходу пара |
||
| Наименование |
Обозна- |
Еди-ница |
I ступень |
| чение |
|||
| Наружный диаметр |
d |
мм |
32 |
| Внутренний диаметр трубы |
dвн |
мм |
26 |
| Кол-во труб в ряду |
Z1 |
шт. |
68 |
| Кол-во рядов по ходу |
Z2 |
шт. |
18 |
| Средний поперечный шаг |
S1 |
мм |
75 |
| Средний продольный шаг |
S2 |
мм |
55 |
| Расположение труб (шахматное, коридорное) |
- |
- |
шахматное |
| Характер омывания (поперечное, продольное, смешанное) |
- |
- |
Перекрёстный ток |
| Средняя длина змеевика |
L |
м |
2,44 |
| Суммарная длина труб |
∑L |
м |
29,94 |
| Площадь полной поверхности нагрева |
H |
м2 |
226,01 |
| Площадь живого сечения на входе |
F’ |
м2 |
5,363 |
| То же, на выходе |
F” |
м2 |
5,363 |
| Средняя площадь живого сечения газохода |
Fср |
м2 |
5,363 |
| Кол-во змеевиков, вкл. параллельно (по пару) |
m |
шт. |
68 |
| Живое сечение для прохода пара |
f |
м2 |
0.0361 |
ТАБЛИЦА 6.2 Конструктивный расчёт перегревателя.
| Величина |
Единица |
Расчёт |
||
| Наименование |
Обозначение |
Расчётная формула или способ определения |
||
| Диаметр труб |
|
По конструктивным размерам |
мм |
32/26 |
| Параметр пара на входе в ступень: давление температура паросодержание |
|
|
МПа єС — |
4,4 256 0,985 |
| Удельная энтальпия: кипящей воды сухого насыщенного пара |
|
|
кДж/кг кДж/кг |
1115,5 2797,2 |
| Удельная энтальпия пара на входе в ступень |
|
|
кДж/кг |
|
| Параметры пара на выходе из ступени: давление температура удельная энтальпия |
|
|
МПа єС кДж/кг |
4.0 450 3378.14 |
| Тепловосприятие пароохладителя |
|
По выбору |
кДж/кг |
70 |
| Тепловосприятие ступени |
Q |
|
кДж/кг |
|
| Энтальпия газов на входе в ступень |
|
Из расчёта фестона |
кДж/кг |
58584 |
| Температура газов на входе в ступень |
|
То же |
єС |
1076 |
| Энтальпия газов на выходе из ступени |
|
|
кДж/кг |
|
| Температура газов на выходе из ступени |
|
По IJ – таблице |
єС |
637.42 |
| Средняя температура газов в ступени |
|
|
єС |
|
| Средняя скорость газов в ступени |
|
|
м/с |
|
| Коэффициент теплоотдачи конвекцией |
|
По рис. 6–5
|
Вт/(м2 ·К) |
|
| Средняя температура пара |
|
|
єС |
|
| Объём пара при средней температуре |
|
По табл. VI–8 |
м3 /кг |
0,061 |
| Средняя скорость пара |
|
|
м/с |
|
| Коэффициент теплоотдачи от стенки к пару |
|
По рис. 6–7 |
Вт/(м2 ·К) |
|
| Эффективная толщина излучающего слоя |
s |
|
м |
|
| Суммарная поглощательная способность трёхатомных газов |
|
|
м·МПа |
|
| Коэффициент ослабления лучей трёхатомными газами |
|
По рис. 5–5 |
1/(м·МПа) |
3.34 |
| Суммарная оптическая толщина запылённого газового потока |
|
|
— |
|
| Степень черноты излучающей среды |
a |
По рис. 5–5 |
— |
0,0395 |
| Коэффициент загрязнения |
|
По § 6–2 |
м2 ·К/Вт |
0,01 |
| Температура загрязнённой стенки трубы |
|
|
єС |
|
| Коэффициент теплоотдачи излучением |
|
По рис. 6–12 |
Вт/(м2 ·К) |
|
| Коэффициент |
A |
По § 6–2 |
— |
0,3 |
| Глубина по ходу газов: ступени (пучка) объём перед ступенью |
|
По конструктивным размерам То же |
м м |
0,935 1,35 |
| Коэффициент теплоотдачи излучением с учётом излучения газового объёма перед ступенью |
|
|
Вт/(м2 ·К) |
|
| Коэффициент теплоотдачи от газов к стенке |
|
|
Вт/(м2 ·К) |
|
| Коэффициент тепловой эффективности |
|
По табл. 6–2 |
— |
0,7 |
| Коэффициент теплоотдачи |
k |
|
Вт/(м2 ·К) |
|
| Разность температур между газами и паром: наибольшая наименьшая |
|
|
єС єС |
|
| Температурный напор при противотоке |
|
|
єС |
|
| Полный перепад температур газового потока в ступени |
|
|
єС |
|
| Полный перепад температур потока пара |
|
|
єС |
|
| Параметр |
R |
|
— |
|
| То же |
P |
|
— |
|
| Коэффициент перехода к сложной схеме |
|
По рис. 6–15 |
— |
0.99 |
| Температурный перепад |
|
|
єС |
|
| Площадь поверхности нагрева ступени |
H |
|
м2 |
|
Т.к. невязка составляет больше 2% то добавляем дополнительную площадь к перегревателю =38 м2
7 Расчёт хвостовых поверхностей нагрева
Конструктивные размеры а также расчёты ступеней хвостовых поверхностей нагрева представлены в таблицах 7.1 – 7.4
На рис. 5 прежставлена схема хвостовых поверхностей нагрева

Рис. 5 схема хвостовых поверхностей нагрева
ТАБЛИЦА 7.1 Конструктивные размеры и характеристики стального трубчатого экономайзера
| Показатели |
Еди-ница |
Ступень |
|
| Наименования |
Обозначение |
I |
|
| Диаметр труб : |
|||
| наружный |
d |
м |
28 |
| внутренний |
dвн |
м |
22 |
| Кол-во труб в ряду |
Z1 |
шт. |
25 |
| Кол-во рядов труб |
Z2 |
40 |
|
| Расчетна площадь поверхности нагрева |
H |
м2 |
461.06 |
| Расположение труб |
- |
- |
ш |
| Шаг труб : |
|||
| поперек движения газов |
S1 |
м |
70 |
| Вдоль движения газов |
S2 |
м |
50 |
| Относительный шаг труб : |
|||
| поперечный |
S1/d |
- |
2.5 |
| продольный |
S2/d |
- |
1.79 |
| Размер сечения газохода поперек |
А |
м |
1.78 |
| движения газов |
В |
м |
5.4 |
| Площадь живого сечения для прохода газов |
F |
м2 |
5.972 |
| Кол-во параллельно включенных труб (по воде) |
Z0 |
шт. |
50 |
| Площадь живого сечения для прохода воды |
f |
м2 |
0.019 |
ТАБЛИЦА 7.2 Конструктивный расчёт экономайзера
| Величина |
Единица |
Расчёт |
||
| Наименование |
Обозначение |
Расчётная формула или способ определения |
||
| Площадь поверхности нагрева ступени |
H |
По конструктивным размерам |
м2 |
461.06 |
| Площадь живого сечения для прохода газов |
|
То же |
м2 |
5.972 |
| То же, для прохода воды |
f |
м2 |
0,019 |
|
| Температура газов на входе в ступень |
|
Из расчёта перегревателя |
єС |
637,42 |
| Энтальпия газов на входе в ступень |
|
То же |
кДж/кг |
36289,2 |
| Температура газов на выходе из ступени |
|
По выбору |
єС |
371 |
| Энтальпия газов на выходе из ступени |
|
По IJ – таблице |
кДж/кг |
20451,5 |
| Тепловосприятие ступени (теплота, отданная газами) |
|
|
кДж/кг |
|
| Удельная энтальпия воды на выходе из ступени |
|
|
кДж/кг |
|
| Температура воды на выходе из ступени |
|
По табл. VI–6 |
єС |
256 |
| Паросодержание смеси |
x |
|
|
|
| Удельная энтальпия воды на входе в ступень |
|
|
кДж/кг |
610 |
| Температура воды на входе в ступень |
|
|
єС |
145 |
| Средняя температура воды |
tср |
|
єС |
|
| Скорость воды в трубах |
|
|
м/с |
|
| Средняя температура газов |
|
|
єС |
|
| Средняя скорость газов |
|
|
м/с |
|
| Коэффициент теплоотдачи конвекцией |
|
По рис. 6–5
|
Вт/(м2 ·К) |
60 |
| Эффективная толщина излучающего слоя |
s |
|
м |
|
| Суммарная поглощательная способность трёхатомных газов |
|
|
м·МПа |
|
| Коэффициент ослабления лучей трёхатомными газами |
|
По рис. 5–5 |
1/(м·МПа) |
3.4 |
| Суммарная оптическая толщина запылённого газового потока |
|
|
— |
|
| Степень черноты газов |
а |
По рис. 5–4 |
— |
0,009 |
| Температура загрязнённой стенки трубы |
|
|
єС |
|
| Коэффициент теплоотдачи излучением |
|
По рис. 6–12
|
Вт/(м2 ·К) |
0.855 |
| Коэффициент |
А |
По § 6–2 |
— |
0,3 |
| Глубина по ходу газов: ступени объём перед ступенью |
|
По конструктивным размерам То же |
м м |
1,9 2 |
| Коэффициент теплоотдачи излучением с учётом излучения газового объёма перед степенью |
|
|
Вт/(м2 ·К) |
|
| Коэффициент теплоотдачи от газов к стенке |
|
|
Вт/(м2 ·К) |
|
| Коэффициент теплоотдачи |
|
|
Вт/(м2 ·К) |
|
| Разность температур между средами: наибольшая наименьшая |
|
|
єС єС |
|
| Отношение |
|
|
— |
|
| Температурный напор |
|
|
єС |
|
| Площадь поверхности нагрева ступени |
|
|
м2 |
|
Т.к. невязка составляет меньше 2% то внесение конструктивных изменений не требуется
ТАБЛИЦА 7.3 Воздухоподогреватель
| Показатели |
Еди-ница |
Ступень |
|
| Наименования |
Обозначение |
I |
|
| Диаметр труб : |
|||
| наружный |
d |
м |
40 |
| внутренний |
dвн |
м |
37 |
| Длина труб |
l |
м |
5.514 |
| Кол-во ходов по воздуху |
n |
м |
3 |
| Кол-во труб в ряду поперек движения воздуха |
Z1 |
шт. |
72 |
| Кол-во рядов труб вдоль движения воздуха |
Z2 |
шт. |
33 |
| Расположение труб |
- |
- |
ш |
| Шаг труб : |
|||
| поперечный (поперек потока воздуха) |
S1 |
м |
56 |
| продольный (вдоль потока воздуха) |
S2 |
м |
42 |
| Относительный шаг труб : |
|||
| поперечный |
S1/d |
- |
1.4 |
| продольный |
S2/d |
- |
1.05 |
| Площадь живого сечения для прохода газов |
Fг |
м^2 |
2,56 |
| Кол-во параллельно включенных труб (по газам) |
Z0 |
шт. |
2376 |
| Ширина сечения воздушного канала |
b |
м |
4,144 |
| Средняя высота воздушного канала |
h |
м |
2,1 |
| Площадь среднего сечения воздушного канала |
Fв |
м^2 |
2,65 |
| Площадь поверхности нагрева |
H |
м^2 |
1500 |
ТАБЛИЦА 7.4 Конструктивный расчёт воздухоподогревателя
| Величина |
Единица |
Расчёт |
||
| Наименование |
Обозначение |
Расчётная формула или способ определения |
||
| Диаметр труб |
|
По конструктивным размерам |
мм |
40 |
| Относительный шаг: поперечный продольный |
|
То же » » |
— — |
1,4 1,05 |
| Количество рядов труб |
|
» » |
шт. |
33 |
| Количество ходов по воздуху |
|
» » |
— |
3 |
| Площадь живого сечения для прохода газов |
|
» » |
м2 |
2.56 |
| То же, для прохода воздуха |
|
» » |
м2 |
2.65 |
| Площадь поверхности нагрева |
|
» » |
м2 |
1500 |
| Температура газов на входе в ступень |
|
Из расчёта второй ступени экономайзера |
єС |
371 |
| Энтальпия газов на входе в ступень |
|
То же |
кДж/кг |
21290.66 |
| Температура воздуха на выходе из ступени |
|
По выбору |
єС |
250 |
| Энтальпия воздуха на выходе из ступени |
|
По IJ–таблицы |
кДж/кг |
9774.09 |
| Отношение количества воздуха на выходе из ступени к теоретически необходимому |
|
|
— |
|
| Температура воздуха на входе в ступень |
|
По выбору |
єС |
30 |
| Энтальпия воздуха на входе в ступень |
|
По IJ–таблицы |
кДж/кг |
1139,58 |
| Тепловосприятие ступени |
|
|
кДж/кг |
8893,545 |
| Средняя температура воздуха |
|
|
єС |
|
| Энтальпия воздуха при средней температуре |
|
По IJ–таблицы |
кДж/кг |
5049,2 |
| Энтальпия газов на выходе из ступени |
|
По IJ–таблицы |
кДж/кг |
7849 |
| Температура газов на выходе из ступени |
|
По заданию |
єС |
140 |
| Средняя температура газов |
|
|
єС |
|
| Средняя скорость газов |
|
|
м/с |
|
| Коэффициент теплоотдачи с газовой стороны |
|
По рис. 6–7
|
Вт/(м2 ·К) |
36 |
| Средняя скорость воздуха |
|
|
м/с |
|
| Коэффициент теплоотдачи с воздушной стороны |
|
По рис. 6–5
|
Вт/(м2 ·К) |
53 |
| Коэффициент использования поверхности нагрева |
|
По табл. 6–3 |
— |
0,7 |
| Коэффициент теплоотдачи |
|
|
Вт/(м2 ·К) |
|
| Разность температур между средами: наибольшая наименьшая |
|
|
єС єС |
|
| Средний температурный напор при противотоке |
|
|
єС |
|
| Перепад температур: наибольший наименьший |
|
|
єС єС |
|
| Параметр |
|
|
— |
|
| То же |
|
|
— |
|
| Коэффициент |
|
По рис. 6–16 |
— |
0,95 |
| Температурный напор |
|
|
єС |
|
| Площадь поверхности нагрева ступени |
|
|
м2 |
|
Т.к. невязка составляет более 2% то вносим конструктивные ихменения. Добавляем к воздухоподогревателю дополнительно 498 м2
8 Расчёт невязки теплового баланса парогенератора
Расчёт невязки теплового баланса представлен в таблице 8
ТАБЛИЦА 8
| Величина |
Величина |
Расчёт |
||
| Наименование |
Обозначение |
Расчётная формула или способ определения |
||
| Расчётная температура горячего воздуха |
|
Из расчёта воздухоподогревателя |
єС |
250 |
| Энтальпия горячего воздуха при расчётной температуре |
|
То же |
кДж/кг |
9774 |
| Лучистое тепловосприятие топки |
|
Из расчёта топки |
кДж/кг |
56657,7 |
| Расчётная невязка теплового баланса |
|
|
кДж/кг |
|
| Невязка |
— |
|
% |
|
ВЫВОДЫ
В ходе выполнения курсового проекта был проведен тепловой расчет промышленного парогенератора ГМ-50-1 при совестном сжигании жидкого и газообразного топлива.
Расчет проводился по жидкому топливу, с учетом тепла, вносимого в топку, за счет сжигания газообразного топлива.
Последовательно был проведен поверочный расчет всех поверхностей нагрева котла: экранов топки, фестона, пароперегревателя, водяного экономайзера, воздухоподогревателя. С учетом того, что парогенератор спроектирован на сжигание другого вида топлива, возникла необходимость в проведении поверочно-конструктивного расчета.
При поверочном расчете поверхности нагрева приходится задаваться изменением температуры одной из теплообменивающихся сред (разностью температур на входе и выходе). Этим определяется тепловосприятие поверхности в первом приближении. Далее можно вычислить температуры другой среды на концах поверхности нагрева, температурный напор, скорости газового потока и рабочей среды и все другие величины, необходимые для вычисления тепловосприятия во втором приближении. При расхождении принятого и расчетного тепловосприятий выше допустимого повторяют расчет для нового принятого тепловосприятия. Таким образом, поверочный расчет поверхности нагрева выполняется методом последовательных приближений.
Тепловой расчет парогенератора заканчивается определением невязки теплового баланса. В курсовом проекте величина невязки составляет 0,95 %.
СПИСОК ЛИТЕРАТУРЫ
1. Тепловой расчет промышленных парогенераторов. / Под ред. В.И. Частухина. – Киев: Вища шк., 1980. – 184 с.
2. Сидельковский Л.Н., Юренев В.Н. Котельные установки промышленных предприятий: Учебник для вузов. – М.: Энергоатомиздат, 1988. – 528 с.
3. Компоновка и тепловой расчет парового котла: Учеб. пособие для вузов/ Ю.М. Липов, Ю.Ф. Самойлов, Т.В. Виленский. – М.: Энергоатомиздат, 1988. – 208 с.
4. Расчет паровых котлов в примерах и задачах: Учеб. пособие для вузов/ А.Н. Безгрешнов, Ю.М. Липов, Б.М. Шлейфер; Под общ. ред. Ю.М. Липова. – М.: Энергоатомиздат, 1991. – 240 с.
5. Методические указания "Расчет объемов и энтальпий воздуха и продуктов сгорания для смеси топлив с применением ЭВМ" по курсу "Котельные установки промышленных предприятий". / Сост.: А.А. Соловьев, В.Н. Евченко. – Мариуполь: ММИ, 1991. – 17 с.
6. Методические указания к выполнению курсового проекта по курсу "Котельные установки промышленных предприятий" для студентов специальности (7.090510)/ Сост.: А.А. Соловьев, В.М. Житаренко – Мариуполь: ПГТУ, 1998. – 40 с.





























