| Скачать .docx |
Дипломная работа: Полное магнетосопротивление ферромагнетиков
Агентство по образованию Российской Федерации
Лесосибирский педагогический институт – филиал Красноярского Государственного Университета
кафедра физики
Дипломная работа
Полное магнетосопротивление ферромагнетиков
Выполнил: студент 5-го курса
ФМФ группы Ф51
Левченко Александр Владимирович
Научный руководитель:
кандидат физико-математических наук,
доцент Лупик А.Н.
Лесосибирск
ОГЛАВЛЕНИЕ
ВВЕДЕНИЕ
Глава I. ОБЩИЕ СВЕДЕНИЯ О МАГНЕТИКАХ
§ 1 КЛАССИФИКАЦИЯ МАГНЕТИКОВ
§ 2 СТРОЕНИЕ И ХАРАКТЕРНЫЕ ОСОБЕННОСТИ ФЕРРОМАГНЕТИКОВ
§ 3 МАГНИТНЫЕ И МЕХАНИЧЕСКИЕ СВОЙСТВА ЖЕЛЕЗОНИКЕЛЕВЫХ СПЛАВОВ
Глава II. КРАТКАЯ ТЕОРИЯ ГАЛЬВАНОМАГНИТНЫХ ЯВЛЕНИЙ В ФЕРРОМАГНЕТИКАХ
§ 1 КЛАССИФИКАЦИЯ ГАЛЬВАНОМАГНИТНЫХ ЭФФЕКТОВ
§ 2 ГАЛЬВАНОМАГНИТНЫЙ ЭФФЕКТ В ОБЛАСТИ ВРАЩЕНИЯ И СМЕЩЕНИЯ
§ 3 ГАЛЬВАНОМАГНИТНЫЙ ЭФФЕКТ В ОБЛАСТИ ПАРАПРОЦЕССА
§ 4 МАГНЕТОСОПРОТИВЛЕНИЕ
Глава III. ПРИЛОЖЕНИЕ
§ 1 ОПИСАНИЕ ЭКСПЕРЕМЕНТАЛЬНОЙ УСТАНОВКИ
§ 2 РЕЗУЛЬТАТЫ ИЗМЕРЕНИЙ И ИХ ОБСУЖДЕНИЕ
ЗАКЛЮЧЕНИЕ
ЛИТЕРАТУРА
ВВЕДЕНИЕ
В современном учении о магнетизме видное место занимает теория и экспериментальные исследования так называемых переходных металлов, электронные оболочки которых имеют недостроенные d- или f-слои. Эти особенности электронной структуры делают переходные металлы, их сплавы и соединения интересным объектом исследования в теоретическом и экспериментальном направлениях, привлекают внимание практиков. Современное состояние квантовомеханической теории переходных металлов нуждается в определении распределения зарядовой и спиновой плотностей, форм поверхностей Ферми при сложном законе дисперсии для электронов проводимости, значений электронной плотности вблизи фермиевской поверхности и др. До сих пор нет строгой количественной теории обменной связи в кристаллах переходных металлов, недостаточно выяснена сама природа сил связи. Решение назревших проблем переходных металлов на основе сближения зонной и s-d(f)-обменной трактовок наличия в них атомного магнитного порядка имеет первостепенное значение в прикладном аспекте, поскольку эти вещества играют ведущую роль в технике.
Для современного уровня развития техники характерным является тот факт, что промышленность ставит все более определенные и жесткие требования к физическим свойствам переходных металлов и сплавов, среди которых не последнее место занимают железоникелевые сплавы. Это обстоятельство побуждает ученых всесторонне исследовать железоникелевые сплавы, обладающие ярко выраженными особенностями целого ряда физических свойств. Наибольший интерес, как с научной точки зрения, так и с практической стороны, имеют инварная и пермаллойная группы сплавов системы железо-никель. Несмотря на интенсивные поиски, в настоящее время не существует пока приемлемой теории, которая объяснила бы известные аномалии физических свойств инваров системы железо-никель и предсказала бы новые; не решены также полностью и проблемы пермаллоя. Решение этих проблем уточнило бы наши представления о причинах возникновения ферромагнетизма вообще. Оно возможно лишь при условии всестороннего экспериментального и теоретического исследования физических свойств ферромагнетиков и, в частности, железоникелевых сплавов.
Физические свойства переходных металлов и сплавов тесно связаны с их электронной структурой. Это открывает широкие возможности для изучения этой структуры методами прямых и косвенных исследований физических свойств. Так, например, знание кристаллической структуры, выявленной различными методами, (рентгеноструктурным, нейтроннографическим, электронной микроскопии, мёссбауэровской спектроскопии, ферромагнитного резонанса и др.) позволяет говорить об особенностях электронной структуры и её изменении под действием внешних сил. Этим же целям служат методы определения энергетического спектра электронов переходных металлов: изучение рентгеновских спектров испускания и поглощения, исследование оптических свойств кристаллов и фотоэмиссии электронов из кристалла. Успехи в этих исследованиях позволяют, например, рассматривать инварность как следствие изменения электронной структуры сплавов под влиянием внешних сил.
Кинетические явления находятся в прямой зависимости от электронной структуры переходных металлов, поэтому является актуальным изучение изменений их электрических, термоэлектрических и др. свойств под влиянием внешних воздействий. Например, изучение гальваномагнитного эффекта в ферромагнетиках представляет как научный, так и практический интерес. С одной стороны, оно позволяет установить важную для теории взаимосвязь между ферромагнетизмом и проводимостью, судить о механизме спин-орбитального взаимодействия, форме поверхности Ферми, а с другой стороны, дает методы измерений таких важных параметров, как температура Кюри, намагниченность насыщения, после анизотропии, коэрцитивная сила» восприимчивость, потери энергии на вращательный гистерезис и др. Кроме внешнего магнитного поля, мощное воздействие на кинетические свойства переходных металлов и сплавов оказывает упругая деформация. Упругое деформирование является признанным методом, широко применяемым в настоящее время с целью изучения физической природы вещества.
Таким образом, особенности физических свойств инваров системы железо-никель объясняются учеными с самых различных точек зрения; при этом используются достижения всех существующих теорий ферромагнетизма, но природа инварности и по сей день остается недостаточно раскрытой. Можно сказать, что в настоящее время еще нет единого подхода в объяснении аномалий физических свойств инваров и других систем, поэтому выявление новых особенностей железоникелевых сплавов инварной области и их всестороннее исследование является актуальной задачей.
Целью данной работы является изучение теории гальваномагнитных явлений в ферромагнетиках и проведение исследования по измерению полного магнетосопротивления в железоникелевых сплавах. Она содержит введение, три главы и заключение.
Были поставлены следующие задачи:
1. Изучение литературы по гальваномагнитным явлениям в ферромагнетиках и систематизация современных знаний по данной теме.
2. Проведение измерения полного магнетосопротивления в железо-никелевых сплавах и сравнение результатов измерения с ранее полученными данными.
3. Проведение измерения поперечного и продольного гальваномагнитного эффекта в железоникелевых сплавах в области концентраций никеля 0-100%.
Методы, применяемые в данной работе:
1. Метод изучения литературы.
2. Метод эксперимента (баллистический метод).
Структура работы:
Во введении показана актуальность исследования физических свойств ферромагнитных металлов и сплавов, поставлена цель и задачи исследования.
В первой главе дан краткий обзор особенностей физических свойств ферромагнетиков, в частности железоникелевых сплавов.
Во второй главе представлено краткое изложение теории гальваномагнитных явлений и их классификация.
В третьей главе даются результаты измерений и их обсуждение.
В заключении суммируются результаты и выводы работы.
Апробация работы проводилась в апреле 2006 г. на научно – практической вузовской конференции «Методологические аспекты профессиональной подготовки будущих учителей в ВУЗЕ» по секции Общей и экспериментальной физики.
Глава 1 ОБЩИЕ СВЕДЕНИЯ О МАГНЕТИКАХ
§ 1 КЛАССИФИКАЦИЯ МАГНЕТИКОВ
Магнетиками называются все вещества, способные намагничиваться во внешнем магнитном поле, т. е. создавать собственное (внутреннее) магнитное поле самого вещества. Магнетики подразделяются по своим магнитным свойствам на слабомагнитные и сильномагнитные вещества. К слабомагнитным веществам относятся парамагнетики и диамагнетики. Основную группу сильномагнитных веществ составляют ферромагнетики. Слабо- и сильномагнитные вещества отличаются величиной относительной магнитной проницаемости μ
. Для слабомагнитных веществ μ
незначительно отличается от единицы: для парамагнетиков
, для диамагнетиков
. Кроме того, μ
для слабомагнитных веществ не зависит от индукции B
0
, того магнитного поля, в котором намагничиваются вещества. Для сильномагнитных веществ
и зависит от B
0
.
К парамагнетикам относятся кислород, окись азота, алюминий, платина, редкоземельные элементы, щелочные и щелочноземельные металлы и другие вещества.
Для парамагнитных веществ μ
зависит от температуры и убывает с повышением ее по закону
, где T
-термодинамическая температура, С
— постоянная Кюри, характерная для данного вещества.
Диамагнетиками являются инертные газы (гелий, аргон и др.), многие металлы (золото, цинк, медь, ртуть, серебро), вода, стекло, мрамор, многие органические соединения. Для этих веществ относительная магнитная проницаемость не зависит от температуры.
К ферромагнетикам же относится сравнительно небольшая группа твердых кристаллических тел — так называемых переходных металлов (железо, никель, кобальт, гадолиний), а также ряд сплавов. Именно эти вещества будут интересовать нас прежде всего в данной работе.
§ 2 СТРОЕНИЕ И ОБЩИЕ СВЕДЕНИЯ О ФЕРРОМАГНЕТИКАХ
Рассмотрим строение атомов ферромагнитных веществ (в изолированном состоянии). Как известно, электроны в атомах занимают различные энергетические уровни, определяемые квантовыми числами. Для наглядности часто пользуются представлением о том, что в атоме имеются более или менее резко разграниченные оболочки, содержащие определенное количество электронов, обращающихся вокруг ядра. Некоторые из оболочек в свою очередь подразделяются на слои или подоболочки. В теории атома принято различные оболочки и подоболочки обозначать индексами 1 s , 2 s , 2 p , 3 s , 3р, 3 d , 4 s и т. д. При этом цифра указывает номер оболочки, а буквой обозначается подоболочка. Электроны в атоме всегда стремятся занять места в оболочках и подоболочках, лежащих ближе к ядру, как более выгодных в энергетическом отношении.
Поэтому при образовании электронных оболочек атома, как правило, сначала заполняются оболочки и подоболочки, расположенные ближе к ядру, а затем уже более удаленные. Однако есть атомы, у которых эта последовательность заполнения мест электронами нарушается, а именно: максимальное число электронов в каждой оболочке не всегда достигается к моменту начала образования следующей оболочки. Тогда в атоме появляются так называемые незаполненные оболочки и подоболочки. Элементы, состоящие из таких атомов, называются переходными; к ним принадлежат, в частности, и элементы, обладающие сильными ферромагнитными свойствами (Fe, Со, Ni, Gd).
Посмотрим теперь, каким образом устроен атом ферромагнитного металла, например железа, и какими магнитными свойствами он обладает, будучи в изолированном состоянии, а также находясь в окружении других атомов железа. Атом железа содержит 26 электронов, которые можно подразделить на четыре оболочки. Первая, самая внутренняя оболочка содержит два электрона (1 s -электроны), вторая — восемь (2 s - и 2 p -электроны), третья - 14 (3 s -, Зр-, З d -электроны) и последняя—два (4 s -электроны). При этом вторая оболочка состоит из двух (s и р ), а третья — из трех (s , p ud ) подоболочек (рис. 1).
Рис. 1. Электронные оболочки и подоболочки в атоме железа. Электроны незаполненной подоболочки 3d являются элементарными «магнитиками» железа
Третья и четвертая оболочки атома не достроены: при нормальной достройке в первой из них должно было быть 18 электронов, а во второй — 32. Недостающие четыре электрона в третьей оболочке приходятся на подоболочку 3 d . В электронных оболочках некоторые электроны имеют спины, ориентированные в одном направлении, другие — в прямо противоположном; эти направления спинов для последующего удобно обозначить положительными и отрицательными знаками. Рис. 1 показывает, сколько электронов с положительными и отрицательными спинами имеется в каждой оболочке атома железа; мы видим, что первая и вторая оболочки содержат одинаковое число электронов с положительными и отрицательными спинами. Магнитные спиновые моменты электронов в каждой из этих оболочек взаимно компенсируют друг друга так, что последние в магнитном отношении являются нейтральными.
В третьей оболочке первые две подоболочки 3 s и 3 p , как видно из рис. 1, нейтральны в магнитном отношении, тогда как в подоболочке 3d имеется пять электронов с положительным спином и один с отрицательным. Таким образом, четыре электронных спина из подоболочки 3d остаются нескомпенсированными, а, следовательно, весь атом в целом имеет определенный результирующий магнитный момент. Наружные — «валентные» — электроны атома железа, находящиеся в оболочке 4s, в общем случае также могут быть нескомпенсированы. Опыты установили, однако, что эти электроны (вообще очень слабо связанные с атомом) существенно не могут менять магнитного момента атома.
Итак, элементарными «магнитиками» являются не все электроны атома железа, а только небольшая часть их, В атомах никеля в создании магнитного момента атома принимает участие еще меньшее число электронов, чем в железе.
В изолированных атомах железа и никеля орбитальные движения электронов также дают некоторый магнитный момент. Однако если эти атомы становятся частью металла, то магнитное поле не производит заметного действия на электронные орбиты, и они почти не участвуют в создании магнитных моментов атомов. Это доказывают магнетомеханические опыты, в частности опыт Эйнштейна – де Гааза. Причины такого «замораживания» электронных орбит в атомах ферромагнитных металлов в настоящее время еще не совсем ясны.
Экспериментальные исследования показывают, что вещества, имеющие атомы с недостроенными оболочками, всегда обладают своеобразными магнитными свойствами. Согласно таблице Менделеева атомы с незаполненными оболочками имеют элементы переходной группы: Sc, Ti, V, Cr, Mn, Fe, Со, Ni, Pd, Pt; редкоземельные элементы: Gd, Dy, Er, Yb и др. Эти элементы, как правило, всегда обнаруживают сильный парамагнетизм, а некоторые из них—Fe, Ni, Со и Gd — сильный ферромагнетизм.
Бросающейся в глаза особенностью ферромагнитных тел является их способность к сильному намагничиванию, вследствие которой магнитная проницаемость этих тел имеет очень большие значения. У железа, например, магнитная проницаемость достигает значений, которые в тысячи раз превосходят значения у парамагнитных и диамагнитных веществ. Намагничивание ферромагнитных тел было изучено в опытах А. Г. Столетова и других ученых.
Эти опыты показали, сверх того, что, в отличие от парамагнитных и диамагнитных веществ, магнитная проницаемость ферромагнитных веществ сильно зависит от напряженности магнитного поля, при которой производят ее измерение. Так, например, в слабых полях магнитная проницаемость, железа достигает значений 5—6 тысяч, а в сильных полях значения, падают до нескольких сот и ниже.
Для характеристики явления намагничивания вещества вводится величина I , называемая намагниченностью вещества. Намагниченность в СИ определяется формулой:
,
где μ – относительная магнитная проницаемость вещества,
- индукция магнитного поля в вакууме,
- индукция магнитного поля в веществе.
Для пара- и диамагнетиков намагниченность
прямо пропорциональна индукции
магнитного поля в вакууме (рис 1а.).
Для ферромагнитных тел намагниченность является сложной нелинейной функцией
. Зависимость
от величины
называется технической кривой намагниченности (рис. 1а.). Кривая указывает на явление магнитного насыщения: начиная с некоторого значения
, намагниченность практически остается постоянной, равной
(намагниченность насыщения),
- магнитная постоянная в СИ.
Относительная магнитная проницаемость ферромагнетиков, в отличие от пара- и диамагнетиков имеет весьма большие значения и зависит от индукции магнитного поля, в котором находится вещество. Например, для железа
=5000, для пермаллоя (78% Ni и 22% Fe)
=100 000.
Изучение зависимости намагниченности железа и других ферромагнитных материалов от напряженности внешнего магнитного поля обнаруживает ряд особенностей этих веществ, имеющих важное практическое значение.
Рис. 1а
Возьмем кусок ненамагниченного железа, поместим его в магнитное поле и будем измерять намагниченность железа I , постепенно увеличивая напряженность внешнего магнитного поля H . Намагниченность I возрастает сначала резко, затем все медленнее и, наконец, при значениях H около нескольких сот эрстед намагниченность перестает возрастать: все элементарные токи уже ориентированы, железо достигло магнитного насыщения. Графически зависимость величины I ( H ) в описываемом опыте изображается кривой ОА на рис. 1б. Горизонтальная часть этой кривой вблизи А соответствует магнитному насыщению.
Достигнув насыщения, начнем ослаблять внешнее магнитное поле. При этом намагниченность железа уменьшается, но убывание это идет медленнее, чем раньше шло его возрастание. Зависимость между величинами I ( H ) в этом случае изображается ветвью кривой AС на рис. 1б. Мы видим, таким образом, что одному и тому же значению H могут соответствовать различные значения намагниченности (точки х, х и х" на рис. 1б) в зависимости от того, подходим ли мы к этому значению со стороны малых или со стороны больших значений H . Намагниченность железа зависит, стало быть, не только от того, в каком поле данный кусок находится, но и от предыдущей истории этого куска. Это явление получило название магнитного гистерезиса, т.е отставание изменения величины намагниченности ферромагнитного вещества от изменения внешнего магнитного поля, в котором находится вещество. [1]
Когда внешнее магнитное поле становится равным нулю, железо продолжает сохранять некоторое остаточную намагниченность, величина которого характеризуется отрезком ОС нашего графика. В этом и заключаетсяпричина того, что из железа или стали можно изготовлять постоянные магниты.
Для дальнейшего размагничивания железа нужно приложить внешнее магнитное поле, направленное в противоположную сторону. Ход изменения намагниченности I при возрастании напряженности этого противоположно направленного поля изображается ветвью CDE кривой. Лишь когда напряженность этого поля достигнет определенного значения (в нашем опыте значения, изображаемого отрезком OD ) , железо будет полностью размагничено (точка D ). Таким образом, величина напряженности размагничивающего поля (отрезок OD ) является мерой того, насколько прочно удерживается состояние намагничивания железа. Ее называют коэрцитивной силой. При уменьшении напряженности поля обратного направления и затем при возрастании напряженности поля первоначального направления ход изменения намагничивания железа изображается ветвью кривой EC'A. При новом повторении всего цикла размагничивания, перемагничивания и повторного намагничивания железа в первоначальном направлении форма этой кривой повторяется.
![]() |
Рис. 1б. Кривая намагниченности железа: зависимость намагниченности I от напряженности внешнего магнитного поля H . Стрелки указывают направление процесса
(Ветвь ОА изображает ход намагничивания исходного ненамагниченного материала и не повторяется при повторных циклах. Для того чтобы вновь воспроизвести ветвь ОА , необходимо привести материал в первоначальное ненамагниченное состояние. Для этого достаточно, например, сильно нагреть его.)
Из рис. 1б видно, что эта кривая, изображающая ход зависимости намагниченности железа I от напряженности внешнего поля H , имеет вид петли. Ее называют петлёй гистерезиса для данного сорта железа или стали. Форма петли гистерезиса является важнейшей характеристикой магнитных свойств того или иного ферромагнитного материала.
В частности, зная ее, мы можем определить такие важные характеристики этого материала, как его магнитное насыщение, остаточное намагничивание и коэрцитивную силу.
Рис. 2. Кривые намагниченности для различных сортов железа и стали:
1 — мягкое железо; 2 — закаленная сталь; 3 — незакаленная сталь
На рис. 2 показана форма петли гистерезиса для различных сортов железа и стали.
Коэрцитивная сила и форма петли гистерезиса характеризуют свойство ферромагнетика сохранять остаточное намагничивание и определяют использование ферромагнетиков для различных целей. Ферромагнетики с широкой петлей гистерезиса называются жесткими магнитными материалами (углеродистые, вольфрамовые, хромовые, алюминиево-никелевые и другие стали). Они обладают большой коэрцитивной силой и используются для создания постоянных магнитов различной формы (полосовых, подковообразных, магнитных стрелок). К мягким магнитным материалам, обладающим малой коэрцитивной силой и узкой петлей гистерезиса, относятся железо, сплавы железа с никелем. Эти материалы используются для изготовления сердечников трансформаторов, генераторов и других устройств, по условиям работы которых происходит перемагничивание в переменных магнитных полях. Перемагничивание ферромагнетика связано с поворотом областей самопроизвольного намагничивания. Работа, необходимая для этого, совершается за счет энергии внешнего магнитного поля. Количество теплоты, выделяющейся при перемагничивании, пропорционально площади петли гистерезиса.
В отличие от тел парамагнитных и диамагнитных для ферромагнетиков магнитная проницаемость μ не остается постоянной, а зависит от напряженности внешнего намагничивающего поля Н . Эта зависимость для магнитного сплава (пермаллоя) и для мягкого железа показана на рис.3. Как мы видим, магнитная проницаемость имеет малые начальные значения в слабых полях, затем нарастает до максимального значения и при дальнейшем увеличении поля в катушке снова уменьшается.
К характерным особенностям ферромагнетиков также относят явление магнитострикции - искажения внешней формы ферромагнетика при его намагничивании. Связанная с таким искажением относительная деформация ∆ l / l обычно очень мала — по порядку величины она составляет 10-5 -10-6 , поэтому обнаружить ее можно лишь точными измерениями. Однако, несмотря на столь незначительное изменение размеров за счет магнитострикции, это явление оказывается существенным при рассмотрении доменной структуры и механизма намагничивания; кроме того, оно имеет множество практических применений.
Важно отметить, что при достижении определенной температуры магнитная проницаемость ферромагнитных тел резко падает до значения, близкого к 1 . Эта температура, характерная для каждого ферромагнитного вещества, носит название точки Кюри. (Речь идет не о том нагревании под действием вихревых токов Фуко, которое испытывают все металлы, помещенные в переменное магнитное поле, но о нагревании ферромагнитных тел, обусловленном их перемагничиванием и связанном со своеобразным внутренним трением в перемагничиваемом веществе.) При температурах выше точки Кюри все ферромагнитные тела становятся парамагнитными. У железа точка Кюри равна 767°С, у никеля 360°С, у кобальта около 1130°С. У некоторых ферромагнитных сплавов точка Кюри лежит вблизи 100°С.
Рис. 3. Зависимость μ от Н у магнитного сплава пермаллоя (1) и у мягкого железа (2)
В последнее время большое значение приобрели полупроводниковые ферромагнетики—ферриты, химические соединения типа MeO*Fe2 O3 , где Me—ион двухвалентного металла (Мn, Со, Ni, Сu, Mg, Zn, Cd, Fe). Они отличаются заметными ферромагнитными свойствами и большим удельным электрическим сопротивлением (в миллиарды раз большим, чем у металлов). Ферриты применяются для изготовления постоянных магнитов, ферритовых антенн, сердечников радиочастотных контуров, элементов оперативной памяти в вычислительной технике, для покрытия пленок в магнитофонах и видеомагнитофонах и т. д.
§ 3 МАГНИТНЫЕ И МЕХАНИЧЕСКИЕ СВОЙСТВА ЖЕЛЕЗОНИКЕЛЕВЫХ СПЛАВОВ
Физические свойства железоникелевых сплавов начали изучаться еще в середине прошлого века. Вначале были исследованы магнитные свойства, причем максимальное внимание уделялось сплавам инварной (29-45% Ni) и пермаллойной (70-80% Ni) областей, что объясняется широким применением этих сплавов в вакуумной технике, электротехнике и радиотехнике. После получения в 1910 г. концентрационной кривой магнитной индукции насыщения исследователи, отвечая на запросы практики, выявили интересные свойства пермаллойных сплавов. Например, повышение максимальной проницаемости до 25·104 гс/э испытывают сплавы с содержанием 65-70% никеля после прохождения так называемой термомагнитной обработки. Была обнаружена также зависимость начальной и максимальной проницаемостей от специальной термической (пермаллойной) обработки сплавов с 50-80% Ni.Среди них особенно выделяется сплав с 78% Ni, у которого начальная проницаемость возрастает от 2000 до 9000. Одна из причин особенных свойств 78-пермаллоя заключается в том, что у него константа магнитной анизотропии и константы магнитострикции близки к нулю, поэтому процесс намагничивания как смещением границ доменов, так и вращением векторов спонтанной намагниченности происходит с малой затратой энергии.
Магнитострикция насыщения λ бинарных Fe - Niсплавов подробно исследована рядом авторов. Оказалось, что сплавам с содержанием никеля около 5, 30 и 81% соответствует нулевое значение λ (рис.4). Отсутствие магнитострикции для сплава с 30% Niсвязано, вероятно, с тем, что он при комнатной температуре может быть неферромагнитен .
Лихтенбергер произвел измерение констант магнитострикции λ100 , λ111 ,λ110 монокристаллах Fe-Niв области концентраций 30-100% никеля (рис.5). Видно, что для сплавов с 60% и 85% никеля все константы равны (сплавы указанных составов обладают изотропной магнитострикцией), а в интервале 30-45% Niконстанты магнитострикции имеют противоположные знаки (λ100 <0 λ111 >0, λ110 >0). Существует узкая область сплавов (от 80% до 85% Ni), в пределах которой константы магнитострикции проходят через нуль и также имеют противоположные знаки.
Явление магнитострикции возникает за счет изменения магнитного взаимодействия атомов ферромагнитного вещества при переориентации векторов самопроизвольной намагниченности Js доменов во внешнем магнитном поле. В связи с тем, что переориентацию могут вызвать и упругие механические напряжения, в сплавах при их деформации наблюдается механострикция, приводящая к отклонению от закона Гука. С явлением механострикции непосредственно связано явление увеличения под влиянием магнитного поля модуля упругости E Fe-Niсплавов (ΔΕ -эффект).
В середине прошлого столетия был открыт так называемый магнитоупругий эффект, который состоит в том, что при деформации ферромагнитных тел наблюдается изменение их намагниченности. Согласно теории при действии на ферромагнетик упругих напряжений изменяется ориентация векторов Js доменов, на характер которой существенное влияние оказывает знак магнитострикции. Например, никель (λ < 0) при растяжении имеет меньшую намагниченность, чем в ненагруженном состоянии, а в ферромагнетиках с λ > 0 растяжение приводит к возникновению петли гистерезиса намагниченности прямоугольного вида.
Рис.4. Концентрационные кривые магнитострикции насыщения и константы магнитной анизотропии К поликристаллических сплавов системы железо - никель
Рис. 5. Магнитострикция монокристаллов железоникелевых сплавов
Магнитоупругий эффект в области парапроцесса (ΔJs-эффект) при односторонней деформации растяжения (механопарапроцесс) исследован Беловым. Помимо других поправок им было учтено также изменение намагниченности за счет уменьшения площади поперечного сечения образца при растяжении. Наиболее сильно в системе железо-никель ΔJS -эффект проявляется в инварных сплавах, линейно возрастая с увеличением растягивающей нагрузки. Например, относительное возрастание истинной намагниченности при действии нагрузок в 5 кг/мм на сплав 36% Ni- 64% Fе при температуре жидкого азота достигает 0,035%, при комнатных температурах - 0,13%, в области точки Кюри — 1, 2%. С позиций квантовомеханической теории ферромагнетизма этот факт объясняется сильной зависимостью обменного взаимодействия между спинами электронов соседних атомов от межатомных расстояний. При упругом растяжении даже небольшие изменения межатомных расстояний приводят к значительному усилению обменного взаимодействия, ответственного за ферромагнетизм, что и дает увеличение истинной намагниченности. Величину ΔJs-эффекта в области парапроцесса трудно подсчитать, даже если одновременно привлечь зонную и квантовомеханическую теории ферромагнетизма.
Инварные сплавы Fe-Ni обладают и другими интересными физическими свойствами. Так, сплав с γ-решеткой, содержащей 36% никеля, имеет минимальное значение коэффициента линейного расширения. Благодаря этому свойству, этот сплав применяют при изготовлении деталей точных измерительных приборов ив различных конструкциях с вакуумноплотными спаями. Шевенар впервые высказал догадку, что аномалия теплового расширения инвара имеет чисто ферромагнитную природу: при нагревании происходит магнитное превращение, которому сопутствует объемное изменение, компенсирующее обычное термическое расширение тела.
В инварной области наблюдается ухудшение упругих свойств, что, вероятно, обусловлено максимальным значением параметра кристаллической решетки (рис. 4). Исследование температурной зависимости модуля упругости инварного сплава с 42% Niпоказало, что возрастание модуля упругости с повышением температуры до точки Кюри (характерное для многих ферромагнетиков) сохраняется и в намагниченных до насыщения образцах (рис. 7), тогда как у неинварных сплавов в полях насыщения эта аномалия снимается [12]. Положительный знак температурного коэффициента модуля упругости в полях технического насыщения наблюдается в области 29-45% никеля (рис. 6); аномалия исчезает лишь при температурах выше точки Кюри [64]. Если аномалия температурной зависимости модуля Юнга у обычных ферромагнитных металлов и сплавов определяется в основном тем, что под воздействием внешних напряжений происходит переориентация векторов спонтанной намагниченности, то у инварных сплавов большую роль играет еще и вторая причина - изменение самой величины истинной намагниченности под действием напряжений (ΔJs-эффект), которое и обусловливает специфические температурные особенности поведения модуля упругости.
С явлением ΔJs-эффекта тесно связано явление смещения точки Кюри ферромагнетика под действием упругих напряжений, обнаруженное Беловым [65] в инварных железоникелевых сплавах. Ферромагнетизм у сплавов инварной области обусловлен обменным взаимодействием атомов не только первой координационной сферы, но и последующих. Подтверждением этому является тот факт, что ферромагнитное превращение инваров чрезвычайно размыто по температурному интервалу. Возможно, что упругие напряжения меняют параметры первой и последующих координационных сфер, а это, в свою очередь, вызывает изменение обменного взаимодействия. Если намагниченность возрастает, то это приводит к смещению точки магнитного превращения в сторону более высоких температур [12, 65].
Рис. 6. а) модуль нормальной упругости и б) кривые температурного коэффициента модуля нормальной упругости (1 ) и параметра кристаллической решетки ( 2 ) сплавов системы железо - никель
Парапроцесс, как и процессы смещения границ доменов и вращения векторов Jsдоменов во внешнем магнитном поле, сопровождается магнитострикцией, которая изменяет, в основном, объем ферромагнетика. В системе железо-никель максимальное значение объемной магнитострикции парапроцесса также приходится на инварные сплавы. В сущности, это термодинамическое следствие того, что в инварах обменная энергия сильно зависит от межатомных расстояний. Поэтому не случайно Деринг связывал аномалию температурного коэффициента модуля упругости инваров с аномалией объемной магнитострикции в области парапроцесса.
На инварные сплавы железо-никель приходится также максимум электросопротивления и минимум теплопроводности.
В настоящее время существует несколько точек зрения на природу инварных аномалий в железоникелевых сплавах, каждая из которых, хорошо согласуясь с частью наблюдаемых инварных эффектов, не в состоянии охватить проблему в целом. Это работы Белова К. П., Кондорского E. И., Вейса , Сидорова С. К. и др., Шаги и др.
Идея Кондорского о том, что особенности инварных аномалий связаны с отрицательным обменным взаимодействием атомов γ-фазы железа была подтверждена при квантовомеханическом рассмотрении проблемы и широкими экспериментальными исследованиями. Рассматривая работы по принципу подхода в них к электронной структуре атомов в инварных сплавах Fе- Ni, можно сделать вывод, что все инварные аномалии не могут быть объяснены в настоящее время ни с точки зрения коллективизированых, ни с точки зрения локализованных 3d-электронов.
Рис. 7. Температурная зависимость модуля упругости:
а) сплава Fe - 42 % N i в магнитных полях: 1 - О; 2 - 40;
3 - 575 эрстед
б) чистого никеля в магнитных полях: 1-575; 2 -106;
3-41; 4 - 10; 5 - 6; 6 - 0 эрстед
Поэтому Кондорский предлагает для объяснения аномалий инваров гибридную модель, которая включает как s-d, так и d-dобменные взаимодействия. Получила распространение идея о существовании в инварах кластеров, т. е. объединений, включающих в себя до 25 атомов, суммарный спиновый момент которых может быть порядка десятков магнетонов Бора.
Глава 2 ТЕОРИЯ ГАЛЬВАНОМАГНИТНЫХ ЯВЛЕНИЙ В ФЕРРОМАГНЕТИКАХ
§ 1. КЛАССИФИКАЦИЯ ГАЛЬВАНОМАГНИТНЫХ ЯВЛЕНИЙ
Существование самопроизвольной намагниченности в переходных металлах обуславливает аномальный характер, протекающих в них электрических явлений, таких например как электросопротивление и ЭДС.
Явления, в которых наблюдается изменение электросопротивления и ЭДС в магнитном поле носят название гальваномагнитных эффектов.
Они были открыты еще в середине прошлого века В. Томсоном и Нернстом. При этом нами главное внимание будет уделено гальваномагнитным эффектам в металлах, которые хорошо иллюстрируют класс магнитных кинетических явлений в кристаллах вообще.
Эти эффекты изучают как при параллельной ориентации векторов магнитного поля H и электрического тока I (продольные эффекты), так и при взаимно-перпендикулярной (поперечные эффекты). Величина и знак этих явлений (как продольных, так и поперечных) не меняются при изменении поля на прямо противоположное, поэтому обычно носят название четных эффектов.
Эти явления с равным правом можно отнести не только к магнитным, но также к электрическим эффектам. Однако наиболее характерные черты этих явлений связаны с активным воздействием внешнего магнитного поля на движение носителей тока. Именно этот магнитный аспект и будет интересовать нас прежде всего.
В группу гальваномагнитных эффектов входят четыре объединенные общим названием эффекта, которые возникают при приложении к образцу, по которому течет ток i , магнитного поля, перпендикулярного току. Это следующие эффекты:
1. Эффект Холла, при котором в напралении, перпендикулярном H и i , появляется разность потенциалов;
2. Поперечный магниторезистивный эффект, заключающийся в изменении электросопротивления под действием поля H .
3. Эффект Эттингсхаузена, при котором в направлении, перпендикулярном H и i , появляется градиент температуры;
4. Эффект Нернста, при котором градиент температуры появляется в направлении i . (26)
В ферромагнетиках наблюдаются продольный магниторезистивный эффект, аналогичный эффекту 2, а также магнитотермоэлектрический эффект и эффект Холла.
По сравнению с обычными металлами ферромагнетики обладают «аномалиями» электрических и гальваномагнитных свойств. Эти «аномалии», обусловленные возникновением в ферромагнетике ниже точки Кюри самопроизвольной намагниченности, обладают двумя существенно отличными чертами.
Первая из них связана с влиянием самопроизвольной намагниченности на величину эффективной массы, время свободного пробега и граничную энергию Ферми электронов проводимости в ферромагнетике. Это влияние приводит к тому, что под действием внешнего электрического поля электроны проводимости в ферромагнетике могут обмениваться энергией и импульсами не только с колебаниями решетки (фононами), но и с неоднородностями в распределении спинового поля в ферромагнитном кристалле (ферромагнитонами), изменяя его магнитное состояние. В результате такого механизма рассеяния электронов проводимости температурная зависимость электросопротивления ферромагнетика носит аномальный, а именно: ниже точки Кюри в ферромагнетике наблюдается уменьшение электросопротивления по сравнению с его величиной для ферромагнитных металлов; в первом приближении это уменьшение оказывается пропорциональным квадрату самопроизвольной намагниченности.
Указанный эффект не зависит от внешнего магнитного состояния ферромагнетика и наблюдается как в присутствии, так и в отсутствие внешнего магнитного поля. Это объясняется тем, что здесь мы имеем дело не с магнитным явлением, а с действием на электроны проводимости изотропного обменного взаимодействия электронов незаполненных оболочек атомов ферромагнетика.
Аномалия другого гальваномагнитного явления, заключающаяся в зависимости поперечной электродвижущей силы ферромагнетика от результирующей намагниченности образца, а не от внешнего магнитного поля, была окончательно установлена в опытах И. К. Кикоина в 1936 г. (явление Xолла — Кикоина). (25)
§ 2 ГАЛЬВАНОМАГНИТНЫЙ ЭФФЕКТ В ОБЛАСТИ ВРАЩЕНИЯ И СМЕЩЕНИЯ
Пусть ферромагнитный металл помещен в магнитное поле, меньшее, чем поле насыщения (H < Hs ). Величины возникающих при этом изменений электросопротивления и термоэлектродвижущей силы можно было бы определить, если бы была известна функция распределения Is областей, соответствующая намагниченности I < I 0 , создаваемой полем Н.
Рис. 8. Зависимость термомагнитного эффекта никеля от квадрата намагниченности
На рис. 8 и 9 приведены результаты измерений термомагнитного эффекта в поликристаллическом никеле по работе Волкова (33) и гальваномагнитного эффекта для железа по работе Феденева (34). На рис. 8 по оси ординат отложены величины изменений термоэлектродвижущей силы в магнитном поле, отнесенные к градиенту температуры в исследуемом образце, а на рис. 9 — относительное изменение электросопротивления образца при включении поля. Из этих данных видно, что в согласии с теоретическими выводами в слабых полях оба эффекта линейно зависят от I 2 некотором поле, которому соответствует при намагничивании смена процесса смещения процессом вращения, имеет место резкий излом прямой.
Этот излом наблюдается только у хорошо отожженных материалов; в случае наличия в металле неоднородных напряжений область, в которой происходит смена смещения вращением, «размазывается» на более широкий интервал полей, и резкого излома не наблюдается.
Рис. 9. Зависимость гальваномагнитного эффекта железа от квадрата намагниченности
Из рис. 8 и 9 видно, что в области смещения гальвано- и термомагнитные Эффекты растут менее интенсивно, чем в области вращения. Для объяснения этого факта нужно принять во внимание следующее. В слабых полях рост намагниченности происходит за счет (смещение границ между областями с антипараллельными векторами Is ) и изменения направлений областей на угол, меньший, чем 180° (смещение границ между областями, моменты которых находятся под углом, отличным от 180°). Первый процесс в силу «четности» гальвано- и термомагнитных эффектов не дает изменения электросопротивления и термоэлектродвижущей силы, и, следовательно, последние в основном изменяются здесь за счет второго процесса. В зависимости от того, какую долю в намагничивании ферромагнетика составляют ориентации Is областей на 180° и на угол, меньший, чем 180°, мы можем получить малые или большие величины изменения электросопротивления и термоэлектродвижущей силы на участках кривых, где происходит смещение (до точки излома кривых, приведенных на рис. 8 и 9). Эти участки на кривых гальвано- и термомагнитных эффектов можно искусственно совсем «уничтожить», если создать в ферромагнетике механические деформации, затрудняющие или вовсе исключающие процесс смещения. Такие условия можно обеспечить в поликристаллическом никеле, если его сильно растянуть внешними нагрузками.
Гальвано- и термомагнитные эффекты, так же как и магнитострикция, являются весьма чувствительными индикаторами к распределению Is областей и позволяют изучать магнитную структуру ферромагнетиков (35), а также тонкости процессов намагничивания и перемагничивания в них.
В последнее время Киренский с сотрудниками применили измерения гальваномагнитного эффекта для изучения так называемого температурного гистерезиса, который возникает, если ферромагнетик, находящийся в некотором слабом поле, подвергать циклам нагрев — охлаждение. Если в ферромагнетиках при этих циклах не происходит каких-либо структурных превращений, то гистерезис указанных эффектов объясняется процессами технического намагничивания. Это еще одна возможность изучения гистерезиса процессов смещения и вращения в ферромагнетиках.
§ 3 ГАЛЬВАНОМАГНИТНЫЙ ЭФФЕКТ В ОБЛАСТИ ПАРАПРОЦЕССА
В отличие от гальваномагнитных и термомагнитных явлений сопутствующих процессам смещения и вращения и обусловленных магнитными силами решетки, в области парапроцесса (в полях выше технического насыщения и вблизи точки Кюри) эти явления определяются обменными силами.
Если исследованию первых посвящено большое количество работ и здесь к настоящему времени выяснены даже тонкости их поведения в различных металлах и сплавах, то о явлениях в области парапроцесса, данные до последнего времени были скудными. Наиболее подробно исследован в области парапроцесса гальваномагнитный эффект никеля, а также некоторых сплавов. Что касается термомагнитного эффекта, то до сих пор в литературе почти нет указаний о влиянии парапроцесса на это явление. Поэтому ниже приводятся результаты исследований только гальваномагнитного эффекта в области парапроцесса. На рис. 10 приведены кривые продольного гальваномагнитного эффекта сплава 36% Ni, 64% Fe и кривая
Рис. 10. Кривые намагниченности и продольного гальваномагнитного эффекта в сплаве 36% Ni , 64% Fe
намагниченности. Мы видим, что в полях выше технического насыщения, где кривая намагниченности имеет почти полностью горизонтальный ход, обнаруживается уменьшение электрического сопротивления, в то время как в области до технического насыщения оно, наоборот, увеличивалось. Эго уменьшение связано с действием парапроцесса на электроны проводимости металла. На рис. 11 даны результаты измерений продольного и поперечного эффектов для никеля. Видно, что указанное уменьшение сопротивления в области парапроцесса не зависит от направления поля и линейно зависит от него вплоть до 10000 эрстед. Согласно Вонсовскому это уменьшение электросопротивления связано с тем, что при парапроцессе, когда намагниченность Is приближается к абсолютному насыщению I 0 , спиновое поле делается менее интенсивным и столкновения s-электронов с ферромагнонами происходят все реже и реже, в результате чего сопротивление падает.
Экстраполируя на рис. 10 и 11 прямолинейные участки кривых
на ось ординат (с учетом размагничивающего фактора)
Рис. 11. Поперечный и продольный гальваномагнитные эффекты никеля
Можно отделить гальваномагнитный эффект
обусловленный смещением и вращением, от гальваномагнитного эффекта, обусловленного парапроцессом. На рис. 12 показана зависимость величины наклона
прямолинейной части кривой гальваномагнитного эффекта в сильных полях (которую мы примем за характеристику гальваномагнитного эффекта в области парапроцесса) в сплавах железо-никель (инварного, состава) в функции процентного содержания никеля. По мере увеличения содержания никеля величина
возрастает, достигает максимума при концентрации 36-38% Ni, а затем убывает, в то время как величина
в изучаемом интервале концентраций никеля непрерывно возрастает. Необходимо отметить, что максимум аномалий физическихсвойств (в частности, и удельного сопротивления) приходится в системе Fe-Ni на ту же концентрацию никеля. Как для всех четных явлений, величина
в области парапроцесса должна линейно зависеть от I
2
Последнее подтверждается кривыми, приведенными на рис. 13, где данырезультаты измерений
в функции I
2
для сплава 36% Ni,64% Fe при различных температурах. Как видим, выше технического насыщения
падает линейно с I
2
при всех температурах.
Истинной характеристикой всех четных эффектов является намагниченность, поэтому правильным методом исследования гальваномагнитных явлений в области парапроцесса является снятие кривых зависимости гальваномагнитного эффекта от I 2 (см. рис. 13). Характер же изменения гальваномагнитного эффекта в функции поля можно описать, если известна хотя бы приближенно зависимость намагниченности от поля.

Рис. 12. Наклон прямолинейной части кривой гальваномагнитного эффекта в сильных полях
Рис. 13. Кривые
для сплава 36%
Ni
, 64%
Fe
при
разных температурах
Для температур далеко от точки Кюри имеет место соотношение
(1)
а в самой точке Кюри
(2)
выше точки Кюри из тех же соображений следует, что
(3)
В формулах (1), (2), (3) коэффициенты
являются численными постоянными. Ha рис. 14 приведены кривые гальваномагнитного эффекта никеля в функций магнитного поля,снятые при различных температурах. При комнатных температурах в согласии с (1) гальваномагнитный эффект в полях H
>
HS
линейно зависит от поля. По мере возрастания температуры эта зависимость нарушается. Физически это понятно, так как под действием поля величина самопроизвольной намагниченности IS
меняется заметнее; она приближается к абсолютному насыщению I
0
, и здесь следует ожидать большого изменения линейного хода кривой гальваномагнитного эффекта парапроцесса в сторону приближения его к некоторому насыщению.
Рис. 14. Кривые гальваномагнитного эффекта никеля в сильных полях при различных температурах
На рис. 15, а и б приведет кривые зависимости гальваномагнитного эффекта от температуры при различных полях для никеля и сплава 36% Ni, 64% Fe. Эти кривые позволяют приближенно найти точку Кюри θ (которая соответствует максимумам кривых) и определить для нее зависимость
от
На рис. 16 нанесены значения
в функции
; в качественном согласии с соотношением (2) гальваномагнитный эффект в точке Кюри, который здесь должен в основном определяться парапроцессом, линейно зависит от
как для никеля, так и для сплава 36% Ni, 64% Fe. Тот факт, что прямые на рис. 16 не проходят через начало координат, по-видимому, свидетельствует о том, что, кроме парапроцесса, в области Кюри имеют место также процессы смещения и вращения, которые и дают некоторые конечные значения гальваномагнитного эффекта положительного знака. Их можно определить, экстраполируя прямые на ось ординат (24).
Рис. 15. Температурная зависимость гальваномагнитного эффекта в области Кюри при различных полях, а - для никеля, б - для сплава 36% Ni , 64% Fe
Рис. 16. Зависимость гальваномагнитного эффекта в области Кюри от
для никеля и для сплава 36%
Ni
, 64%
Fe
На рис. 17 приведены кривые
в функции H
, полученные из рис. 15, aдля температур выше точки Кюри.
Рис. 17. Зависимость гальваномагнитного эффекта никеля от магнитного поля при температурах выше точки Кюри
Здесь зависимость
от H
носит примерно квадратичный характер, что находится в качественном соответствии с (3),
Итак, из приведенных результатов измерений следует, что в области парапроцесса (в полях выше технического насыщения и вблизи точки Кюри) гальваномагнитный эффект имеет такие же качественные зависимости от намагниченности и магнитного поля, как и магнитострикция. Это находится в соответствии с общими положениями теории четных эффектов. Исследования гальваномагнитного эффекта в ферромагнитных сплавах в области парапроцесса были произведены также в работах Ширакавы, Пачеса и Смита.
В работе японского физика Мияты (36) установлено, что знак термомагнитного эффекта в монокристальных проволоках никеля вблизи точки Кюри становится отрицательным, т. е. он здесь обусловлен парапроцессом. Следует, однако, отметить, что термомагнитный эффект в области парапроцесса мало исследован.
§ 4 МАГНЕТОСОПРОТИВЛЕНИЕ
Итак, опыт показал, что при намагничивании ферромагнетика во внешнем магнитном поле его электросопротивление меняет свою величину. Это явление было названо магнетосопротивлением.
Магнетосопротивление обычно определяется как относительное изменение удельного электросопротивления образца в виде стержня (проволоки) Δρ по отношению к его удельному сопротивлению в отсутствие магнитного поля ρ0 . При этом, если поле параллельно или перпендикулярно стержню, то мы имеем соответственно
и
Если поле H составляет с осью стержня угол φ, то:
.
На рис. 11 приведены типичные кривые
и
.Продольный эффект в области технического намагничивания имеет положительный знак, поперечный – отрицательный.
Под полным магнетосопротивлением мы будем понимать разность двух эффектов:
.
Теперь дадим общее описание зависимости указанных явлений в ферромагнитных телах от направления вектора Is .
Обозначая через α
величину магнетосопротивления, а через
и
соответственно направляющие косинусы вектора Is
и вектора электрического напряжения g
по отношению к ребрам куба кристалла согласно закону Акулова имеем:
, (*)
где
и
- константы анизотропии четных эффектов, которые определяются следующим образом:
, 
Здесь
и
- четные эффекты в кристалле в направлении ребра и диагонали кубического кристалла.
В некоторых случаях соотношением (*) можно пользоваться для описания гальваномагнитных эффектов также и в поликристаллических образцах. Исследования показывают, что для никеля в первом приближении можно считать, что
, тогда из (*) и (**) следует:

где
- четный эффект при насыщении в указанном направлении монокристалла никеля, а
- угол между направлением Is
и вектором g
внутри кристалла.
Формула позволяет вычислить изменение электропроводности в поликристаллическом образце никеля под различными углами к направлению магнитного поля. Если измерения сначала проводятся в направлении магнитного поля, а затем в перпендикулярном направлении, то для этих двух случаев имеем:
и
.
Деля одно на другое, получаем соотношение выражающее собой так называемое второе правило четных эффектов. Аналогичное правило имеет место и для магнитострикции. Оно находится в хорошем согласии с измерениями величин гальваномагнитного эффекта в никеле, обладающим отрицательной магнитострикцией. В других ферромагнитных материалах это соотношение часто не выполняется из-за наличия больших объемных эффектов. (23)
,
На рис. 18 приведены данные по Бозорту (пунктиром) для обычных сплавов. А сплошная кривая проведена по расчетам упрощенной теории четных эффектов.
Далее, к сожалению, в литературе не указывается температура и поле, при которых проводились исследования, что ухудшает их ценность.
На рис. 19 приведены экспериментальные данные японского физика Ширакава для полного изменения удельного электрического сопротивления железо-никелевых сплавов при различных температурах и в магнитном поле 1500 эрстед.
К сожалению, не известна форма исследуемых образцов и следовательно размагничивающий фактор, поэтому нельзя с уверенностью сказать, что при поперечном намагничивании были достигнуты поля насыщения.
При обычно используемых полях
э и при комнатных температурах магнетосопротивление
для большинства металлов весьма мало. Например, в случае меди. ![]()
при
э.Исключением является висмут, у которого
≈2 при
э.В полупроводниках этот эффект значительно больший, чем в металлах (кроме висмута):
≈
, а, например, в германии при T ≈ 100° К и ![]()
≈ 3.
Рис. 18
Глава 3 ПРИЛОЖЕНИЕ
§ 1 ОПИСАНИЕ ЭКСПЕРЕМЕНТАЛЬНОЙ УСТАНОВКИ
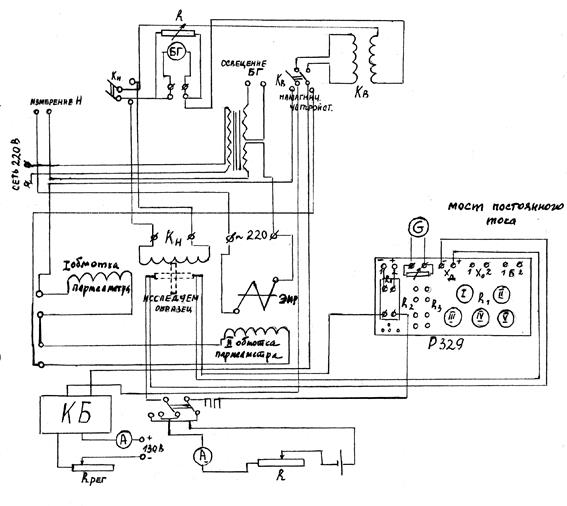
Исследования по изучению удельного электрического сопротивления железоникелевых сплавов проводились на установке, которая представляет собой синтез баллистической установки БУ-3 и одинарно-двойного моста Р-329 (в наших исследованиях работа велась в режиме двойного моста постоянного тока). Схема установки приведена на рисунке 20.
Рис 20
Установка БУ-3 состоит из следующих основныхэлементов:
1. КБ – блок контакторов.
2. Кв – катушка взаимной индуктивности.
3. П – пермеаметр сильных полей.
4. БГ – баллистический гальванометр для определения баллистической постоянной.
5. G – зеркальный гальванометр М17/11.
6. Р-329 – одинарно-двойной мост постоянного тока.
7. Rрег и R – реостаты.
8. НУ – намагничивающее устройство.
Схематическое устройство пермеаметра представлено на рис. 21.
Массивное ярмо 1 из листовой электротехнической стали состоит из двух половин, одна из которых может перемещаться относительно другой при помощи винта 2. Между полуярмами зажимаются передвижные вкладыши 3 с Т-образными полюсными наконечниками 4.
Намагничивающие катушки 5, соединенные между собой последовательно, охватывают вкладыши. Для измерения магнитной индукции в испытуемом образце на последний навивается измерительная обмотка Кв . Напряженность магнитного поля измеряется при помощи катушки Кн , которая плотно прижимается к образцу и в момент измерения удаляется от него при помощи отбрасывающего устройства. Вкладыши 3 изготовлены из листовой электротехнической стали, Т-образные наконечники – из стали «Армко».
Измерительная катушка напряженности поля устанавливается в направляющую отбрасывающего устройства. Направляющая при помощи пружины может перемещаться внутри трубы, вертикально расположенной кронштейне.
Рис. 21
Положению измерительной катушки (Кн ) на образце соответствует заведенное состояние пружины, удерживаемой храповиком с собачкой. Для измерения напряженности поля включают тяговый электромагнит, якорь которого, будучи жестко связан с собачкой, освобождает пружину. Последняя приводит в движение барабан, связанный гибкой лентой с направляющей. Труба отбрасывающего устройства при установке катушки на образец может перемещаться в кронштейне в вертикальном направлении.
Поворотный кронштейн позволяет отводить отбрасывающее устройство в сторону при смене испытываемых образцов. Для испытания коротких образцов в пермеаметре имеются две съемных деревянных подставки, располагаемые в междуполюсном промежутке на вертикально перемещающейся зубчатой рейке. Последняя при помощи шестерни может приводиться в движение оператором вращением маховичка.
Все части отбрасывающего устройства изготовлены из не магнитных материалов. Пермеаметр расположен на деревянном столе, снабженном роликами для перемещения. На стол пермеаметра расположены зажимы для присоединения его в схему.
Регулировочное устройство состоит из двух регулировочных блоков, каждый из которых включает четыре реостата. Последние выполнены константановой проволокой на металлических каркасах с асбоцементными изолирующими накладками. При вращении привода регулировочного устройства, благодаря срабатыванию пружинных переключающих устройств, токосъемы перемещаются в определенной последовательности, благодаря чему происходит переключение реостатов каждого из блоков с параллельного включения на последовательное, что обеспечивает плавное изменение тока намагничивания.
Регулировочное устройство смонтировано на каркасе углового железа и заключено в перфорированный железный кожух, снабженный болтом для заземления.
Размагничивающее устройство типа РУ-3 предназначено для размагничивания образца, когда последний находится в пермеаметре.
Размагничивающее устройство включает в себя секционированный трансформатор, автотрансформатор с плавно регулировкой и переключатели. Все элементы устройства помещены в металлический кожух, на лицевой панели которого расположены рукоятка переключателя «Напряжение цепи размагничивания» и рукоятка автотрансформатора «ток намагничивания». На панели также расположены зажимы, дающие возможность включать размагничивающее устройство в схему.
Размагничивание образца осуществляется следующим образом: переключатель с обозначением «напряжение цепи размагничивания» устанавливают в положение «0,05» и автотрансформатором «ток размагничивания»увеличивают ток, наблюдая за показаниями амперметра, включенного в цепь размагничивания. Поворачивают рукоятку автотрансформатора до упора в сторону меньше и переводят рукоятку переключателя «напряжение цепи размагничивания» на ближайшее большее напряжение.
Описанные операции продолжают до получения заданной величины тока размагничивания. Все переключающие элементы установки, а также амперметры и магазин сопротивлений размещаются на деревянном столе управления.
Для изменения направления тока в намагничивающей цепи пермеаметрапредназначен блок контакторов (рис. 20). Переключатель «намагнич. устройство —KB» пакетного типа служит для включения в схему пермеаметра или первичной обмотки катушки взаимной индуктивности Р-536. Последняя включается через предохранители ПК-45 с номинальным током 1 А. Переключатель телефонного типа «Кв —Кн » и служит для включения в цепь баллистического гальванометра катушек «Кв » или «Кн ».
Выключатель «измерение H выкл.» предназначен для включения тягового электромагнита отбрасывающего устройства. Для торможения подвижной части баллистического гальванометра имеется кнопка КЗ. Подключение приборов осуществляется гибкими проводами.
Напряженность магнитного поля меду полюсами пермеаметра измерялась при помощи катушки Кн , которая плотно прижималась к образцу и момент измерения быстро удалялась от него при помощи отбрасывающего устройства. При этом световой указатель гальванометра, в цепь которого включена катушка Кн делал отброс α на шкале.
Напряженность магнитного поля рассчитывалась по формуле:
, (1)
где
- постоянная измерительной катушки напряженности поля.
α – отклонение баллистического гальванометра в делениях шкалы.
- баллистическая постоянная.
Для определения баллистической постоянной гальванометра в схеме установки имеется катушка взаимной индуктивности Кв , действительная величина взаимной индуктивности M0 .
При изменении силы тока в первичной обмотке катушки происходит изменение потока сцепления, что вызовет импульс количества электричества в цепи гальванометра, соединенного со вторичной обмоткой, т.е.
![]()
откуда
(максвелл/деление шкалы) (2)
где
- изменение силы тока в первичной обмотке катушки взаимной индуктивности в амперах.
α – отклонение гальванометра в делениях шкалы.
В связи с тем, что баллистическая постоянная зависит от сопротивления цепи гальванометра, как при определении постоянной, так и при измерениях, сопротивление цепи должно быть одно и тоже.
Для этой цепи вторичная обмотка катушки взаимной индуктивности всегда остается включенной в цепь гальванометра.
Таким образом, с помощью формул (1) и (2) мы рассчитали напряженность магнитного поля. График зависимости напряженности поля от силы тока в пермеаметре представлен на рис. 21 а.
Рис. 21а
Максимальная ошибка при расчете напряженности поля составила 7,7%.
Для измерения продольного и поперечного магнетосопротивления был изготовлен специальный патрон в виде полой латунной коробки с цилиндрическим гнездом в центре. Со стороны гнезда на патроне были смонтированы разъемы для присоединения исследуемых образцов. В целях уменьшения погрешности измерений, вследствие нагревания образца, в патроне была предусмотрена стабилизация температуры проточной водой.
Исследуемые образцы представляли собой проволоку толщиной 0,25 мм., намотанную на тонкую полую кварцевую трубку длиной 15 мм и диаметром 12 мм. Намотка проволоки велась параллельно оси трубки, равномерно вдоль всей стенки. Для предотвращения закорачивания соседних витков, поверх проволоки наматывалась хлопчатобумажная прочная нить, которая удерживала соседние витки от соприкосновения между собой. Для исследования образцы помещались в цилиндрическое гнездо специального патрона, а концы проволоки припаивались к разъемам, подведенным к гнезду. Затем патрон вместе с исследуемым образцом помещался между полюсами пермеаметра. Исследование велось в двух пространственных положениях патрона:
1. Положение, при котором магнитное поле параллельно образцу (измерение продольного магнетосопротивления).
2. Положение, при котором магнитное поле перпендикулярно образцу (измерение поперечного магнетосопротивления).
По исследуемому образцу пропускался ток 0,1 А.. Электросопротивление образца измерялось с помощью одинарно-двойного моста постоянного тока Р-329., работающего в комплекте с зеркальным гальванометром М 17/11. Градуировка шкалы гальванометра производилась в следующей последовательности.
С помощью ручек декадного переключателя моста Р-329 световой указатель зеркального гальванометра устанавливался в нулевое положение. Затем поворотом ручки декадного переключателя на одно деление ценой 10-3
Ом, производился отброс на число делений
, таким же образом световой указатель отклонялся в другую сторону
от нулевого положения при изменении направления тока. Среднее значение отклонения
рассчитывалось по формуле:
. (3)
По заданному изменению сопротивления 10-3
Ом и отклонению
можно определить чувствительность установки:
Ом/мм2
(4)
Погрешность при определении чувствительности установки составила 0,5%.
Зная S, по отклонению светового указателя гальванометра γ, которое возникает за счет изменения электросопротивления образца под действием внешних сил, можно определить относительное изменение сопротивления образца при параллельном и перпендикулярном намагничивании по формулам:


§ 2 РЕЗУЛЬТАТЫ ИЗМЕРЕНИЙ И ИХ ОБСУЖДЕНИЕ
На установке были проведены измерения удельного электросопротивления сплавов с различным содержанием никеля, а также продольного и поперечного гальваномагнитного эффектов.
Получены следующие результаты, которые приведены в таблице и на графиках.
| Состав сплава | ![]() |
|||
| 0% Ni | 1.27·10-1 | 30.8·10-4 | -3.7·10-4 | 34·10-4 |
| 9% Ni | 2.72·10-1 | 40.2·10-4 | -12·10-4 | 52·10-4 |
| 19% Ni | 4.20·10-1 | 10·10-4 | -7·10-4 | 17·10-4 |
| 30% Ni | 7.10·10-1 | 11·10-4 | -0.9·10-4 | 11.9·10-4 |
| 39,9% Ni | 6.10·10-1 | 2.4·10-4 | -30·10-4 | 32.4·10-4 |
| 50% Ni | 3.30·10-1 | 35·10-4 | -9.5·10-4 | 44·10-4 |
| 59% Ni | 2.38·10-1 | 52·10-4 | -28·10-4 | 80·10-4 |
| 70% Ni | 1.65·10-1 | 89·10-4 | -61·10-4 | 150·10-4 |
| 76,6% Ni | 1.71·10-1 | 123·10-4 | -82·10-4 | 205·10-4 |
| 79% Ni | 1.55·10-1 | 117·10-4 | -105·10-4 | 222·10-4 |
| 82% Ni | 6.35·10-1 | 22·10-4 | -41·10-4 | 63·10-4 |
| 89% Ni | 1.31·10-1 | 137·10-4 | -106·10-4 | 243·10-4 |
| 100% Ni | 0.098·10-1 | 100·10-4 | -49·10-4 | 149·10-4 |
ГРАФИК 1
ГРАФИК 2
ГРАФИК 3
ГРАФИК 4
ГРАФИК 5
Если сравнивать полученную кривую (график 3) с кривой, которую приводит в своей монографии Бозорт (рис. 18), то видно, что ход этих кривых одинаков, однако максимальные значения величины
в области концентрации никеля 70-100% несколько меньше данных других авторов, которые исследовали образцы, прошедшие обычный отжиг. Из общей кривой зависимости
от содержания никеля в сплавах выпадает сплав с 82% Ni. Дело в том, что ранее в литературе отмечалось, что не только гальваномагнитные эффекты имеют в этом сплаве минимальные значения, но также гальваноупругие, термомагнитные, термоупругие.
Так как данные, полученные при исследовании железоникелевых сплавов концентраций 70-100% Ni ниже литературных данных, то была поставлена задача выяснить: сильно ли изменяются гальваномагнитные эффекты если сплав прошел специальную термообработку на упорядочение.
С этой целью отожженный сплав 76,6% Ni закалили. Почему именно этот сплав взяли для закалки? Потому что он наиболее склонен к упорядочению, т.к по процентному содержанию он близок к сплаву 75% Niу которого наблюдаются максимальные эффекты упорядочения.
Закалка отожженного сплава проводилась следующим образом. Сплав помещался в кварцевую трубку, в которой создали вакуум порядка 0,01 мм. рт. ст. и нагревали до температуры 600° С. Затем резким охлаждением образца происходила закалка с целью нарушения упорядоченной структуры сплава. После закалки изменилось лишь удельное электросопротивление на 3,4%, а гальваномагнитные эффекты практически не изменились.
Этот же сплав и сплав 100% Ni были проверены на полевую зависимость. Была обнаружена некоторая странность хода кривой при поперечном гальваномагнитном эффекте, что не соответствует данным, которые приводит Вонсовский. В литературе не указывается какой формы исследовали образец. Мы исследовали образцы в виде тонкой проволоки, намотанной на кварцевые трубки. По всей вероятности при намагничивании образца в поперечном магнитном поле, образец находился не строго перпендикулярно полю, а под некоторым небольшим углом. Вследствие этого намагничивание происходило не строго перпендикулярно образцу, что и привело к необычному ходу кривой. Кроме того, на результат опыта повлияла погрешность измерения, связанная, прежде всего, с особой формой образцов, а также со способом их фиксации в установке.
ЗАКЛЮЧЕНИЕ
Новыми моментами в данной работе являются данные по поперечному гальваномагнитному эффекту всей системы железоникелевых сплавов, данные по продольному гальваномагнитному эффекту в области концентрации никеля от 0 до 30%, применение достаточно сильных полей для исследования образцов, прошедших специальную термообработку на упорядочение.
Итак, в данной работе:
1. Исследовано полное магнетосопротивление железоникелевых сплавов, прошедших специальную термообработку на упорядочение в области концентрации никеля от 0 до 100%.
2. Получена концентрационная кривая поперечного гальваномагнитного эффекта в системе Fe-Ni.
3. Получена концентрационная кривая продольного гальваномагнитного эффекта в области концентрации никеля от 0 до 100% и кривая полного магнетосопротивления в этой области.
4. Исследована полевая зависимость поперечного и продольного гальваномагнитного эффектов в сплавах с 76,6% Ni и чистым никелем.
5. Обнаружено, что из общепризнанной кривой полного магнетосопротивления «выпадает» сплав с 82% Ni.
6. Наименьшее значение полного магнетосопротивления приходится на инварные сплавы, причем имеет место увеличение полного магнетосопротивления, как в сторону высоких концентраций никеля, так и в сторону более низкой концентрации никеля (инварной области).
7. Выявлено, что проведенная термообработка на упорядочение, не повлияла на величины гальваномагнитных эффектов.
ЛИТЕРАТУРА
1. Боровик Е.С., Мильнер А.С., Лекции по ферромагнетизму, Изд. Харьковский университет, 1960.
2. Займовский А.С., Усов В.В., Металлы и сплавы в электротехнике, ГЭИ, 1949.
3. Гершензон Е.М., Малов Н. Н., Мансуров А.Н., Эткин В. С., Курс общей физики – М.: Просвещение, 1982.
4. Детлаф А.А., Яворский Б.М., Миликовская Л.Б., Курс физики Т-2, Электричество и магнетизм – М.: Высшая школа, 1977.
5. Киренский Л.В., Магнетизм, - М.: Наука, 1970.
6. Калашников С.Г., Электричество – М.: Наука, 1970.
7. Лифшиц И.М., Азбель М. Я., Коганов М. Н., Электронная теория металлов – М.: Наука, 1971.
8. Савельев И. В., Курс общей физики, Т-2, Электричество и магнетизм. Волны. Оптика: Учебное пособие – М.: Наука ГРФМЛ, 1982.
9. Свирский М. С., Электронная теория вещества. – М.: Просвещение, 1980.
10. Телеснин Р.В., Яковлев В. Ф., Курс физики. Электричество. – М.: Просвещение, 1969.
11. Уэрт Ч., Томсон Р., Физика твердого тела. – М.: Мир, 1966.
12. Волькенштейн Ф.Ф., Электроны и кристаллы. – М.: Наука, 1983.
13. Коганов М.И., Электроны. Фононы. Магноны. – М.: Наука, 1979.
14. Физический энциклопедический словарь Т-1, 2, 3, 4, 5, - М.: Советская энциклопедия, 1960.
15. Зильбеман Г.М., Электричество и магнетизм. – М.: 1970.
16. Яворский Б.М., Детлаф А.А., Справочник по физике. – М.: Наука, ГРФМЛ, 1985.
17. Фриш С.Э., Тиморева А.В., Курс общей физики, Т-1. - М.: ФМЛ, 1962.
18. Савельев И. В., Курс общей физики Т-3. - М.: Наука, ГРФМЛ, 1971.
19. Тамм И.Е., Основы теории электричества. – М.: Наука, ГРФМЛ 1966.
20. Захаров Ю.В., Маньков Ю.И., Хлебопрос Р.Г., Электропроводность и доменная структура металлических ферромагнетиков, Красноярск 1974.
21. Иродов И. Е. Основные законы электромагнетизма: Учебное пособие для вузов, - М.: Высшая школа, 1983.
22. Яворский Б. М., Селезнев Ю.А. Справочное руководство по физике для поступающих в вузы и для самообразования. – М.: Наука, 1989.
23. Белов К.П., Упругие, тепловые, электрические явления в ферромагнетиках. - М.: 1957г.
24. Бозорт Р.М., Ферромагнетизм, 1956г.
25. Вонсовский С.В., Магнетизм. – М.: Наука, 1971.
26. Тикадзуми С. Физика ферромагнетизма. Магнитные характеристики и практические применения: Пер. с японского. – М.: Мир, 1987.
27. Иващенко Т.В., Магнетосопротивление железоникелевых сплавов. - Лесосибирск, 1988.
28. Лупик А.Н., Электросопротивление железоникелевых сплавов при упругой деформации в магнитном поле. - Красноярск, 1979.
29. Магнитные свойства металлов и сплавов, под ред. С. В. Вонсовского, издательство иностранной литературы, - М.: 1961.
30. Тикадзуми С., Физика ферромагнетизма. Магнитные свойства вещества. Пер. с японского. – М.: Мир, 1983.
31. Савельев И. В., Курс общей физики, т. 2. Электричество и магнетизм. Волны. Оптика: учебное пособие. – 2-е изд., перераб. – М.: Наука. Главная редакция физико-математической литературы, 1982.
32. С.В. Вонсовский, Л.Я. Кобелев, К.П. Родионов, Изв. АН СССР (серия физ.) т. 16, №5, 1952.
33. Волков Д.И., ЖЭТФ 9,446, 798 (1939).
34. Феденев Д.Р. ЖЭТФ 5, 386 (1935); Феденев Д.Р и Вампилов Ц.Н., ЖЭТФ 9, 994 (1939).
35. Дрожжина В.И., Лужинская М.Г., Морозова В.М. и Шур Я.С., Труды Инст. физики металлов уральского филиала АН СССР, вып. 15, 42 (1954).
36. Miyata N. and Funatogawa Z., Journ. Phys. Soc. Japan 9, 967 (1957).
37. Белов К.П., Магнитные превращения, М., Физматиздат,1959.
38. Бушманов Б. Н. и Хромов Ю. А., Физика твердого тела. Учебн. пособие для втузов. – М., «Высш. школа», 1971.
39. Материалы в машиностроении, М., Машиностроение, 1968.
40. Перкао М.Д., Кардонокий В.М., Высокопрочные мартенситностареющие стали, М., Металлургия, 1970.
41. Туричин A.M., Новицкий П.В. и др., Электрические измерения неэлектрических величин, Л., Энергия, 1975.
42. Вонсовский С.В., Современное учение о магнетизме, М., ШГТЛ, 1953.
43. Садовский В.Д., Сб. "Металловедение", М., Наука, 1971.

