| Скачать .docx |
Реферат: Исследование особенностей деформации микрокапель прямых и обратных эмульсий в магнитных и электрических полях
Лабораторная работа
ИССЛЕДОВАНИЕ ПРОЦССОВ ДЕФОРМАЦИИ КАПЕЛЬ МАГНИТНЫХ ЭМУЛЬСИЙ
Исследование особенностей деформации микрокапель прямых и обратных эмульсий в магнитных и электрических полях
Цель работы:
Изучение деформации микрокапель прямых и обратных эмульсий в магнитных и электрических полях.
Идея эксперимента:
Изучение особенностей деформации микрокапель магнитной жидкости во внешних полях при взаимодействии с твердой поверхностью.
Теоретическая часть
Магнитные жидкости (МЖ) – стабилизированные коллоидные растворы ферромагнетиков в некоторой жидкости – носителе, их магнитные свойства определяются содержанием твердой магнитной составляющей, которая может достигать 25 объёмных процентов. МЖ представляют собой взвесь однодоменных микрочастиц ферро- и ферримагнетиков в жидкой немагнитной среде (керосине, воде, толуоле, минеральных и кремнийорганических маслах и т. п.).
Эмульсия – коллоидная дисперсия одной жидкости в другой, причем жидкости не растворимы друг в друге.
Большой интерес представляет поведение микрокапель магнитной эмульсии во внешних полях. Различают магнитные эмульсии, в которых дисперсная фаза представлена магнитной жидкостью, а дисперсионная среда – не магнитной, и обратные им эмульсии, в которых дисперсионной средой является магнитная жидкость, а дисперсная фаза представлена немагнитной жидкостью.
Особенности деформации магнитных микрокапель при воздействии электрического поля
Характер воздействия электрического поля на каплю определяется электрическими свойствами среды, из которой она состоит. Когда среда является идеальным диэлектриком, деформацию капли в вытянутый эллипсоид вращения и последующий ее разрыв легко объяснить теоретически, предполагая, что нормальная составляющая тензора электрических напряжений на поверхности капли уравновешена капиллярным давлением, возникающим вследствие неравномерности кривизны капли.
Полная энергия деформированного капельного агрегата складывается из электрической компоненты
и энергии межфазного натяжения
:
, (1)
Электрическая компонента энергии равна
(2)
где
,
,
- угол между вектором напряженности и ориентацией капельного агрегата.
С учетом деполяризующего фактора, для проекций электрического момента нетрудно получить выражения:
,
,
где
- диэлектрическая проницаемость микрокапли,
- диэлектрическая проницаемость омывающей микрокаплю среды.
В случае, когда большая полуось деформированной микрокапли совпадает по направлению с напряженностью поля
, для электрической энергии имеем
.
Энергия межфазного натяжения равна
,
где
- эксцентриситет вытянутой капли,
- радиус невозмущенной капли,
- коэффициент межфазного натяжения.
Условие устойчивого положения эллипсоидальной капли, а так же ее разрыва, может быть найдено путем минимизации ее полной энергии
,
.
В случае малых деформаций
(3)
Если окружающая каплю среда электропроводна, то к силам поляризационного происхождения добавляются и кулоновские силы, действующие на свободные заряды, накапливающиеся на межфазных границах гетерогенной среды. При этом на поверхности капли существует трансверсальное электрическое напряжение, которое генерирует течение внутри и вне капли. В этом случае теория предсказывает образование как вытянутых, так и сплюснутых эллипсоидов в зависимости от отношения диэлектрических постоянных, удельных электрических сопротивлений и коэффициентов вязкости двух жидкостей, а также существование критических значений этих отношений, при которых капля остается сферической.
Исследования в стационарных электрических полях сопряжены с большими трудностями из-за электрофоретической миграции капель, обусловленной возможностью приобретения ими малых ненулевых зарядов. Поэтому, экспериментальные исследования удобнее проводить в переменном электрическом поле.
Особенности деформации микрокапель при одновременном воздействии электрического и магнитного поля
Сильные магнитные свойства микрокапель открывают возможности использовать дополнительное действие магнитного поля для исследования закономерностей их деформации в электрических полях.
Вследствие деформации микрокапель в электрическом поле свойства магнитных жидкостей с хорошо развитой микрокапельной структурой, в том числе и магнитные, становятся анизотропными. Это означает, что магнитная восприимчивость становится тензорной величиной, т.е.
![]()
где е
–
единичный вектор вдоль направления напряженности электрического поля;
- изотропная часть магнитной восприимчивости среды.
Анизотропия магнитной восприимчивости при малых отклонениях формы капель от сферической определяется выражением

где
- объемная доля микрокапель.
Энергия эллипсоидальной капли, подверженной одновременному действию электрического и магнитного полей складывается из магнитной
и электрической
компонент, а также энергии межфазного натяжения
:
![]()
Приняв направление магнитного поля вдоль оси Х, а электрического вдоль оси У запишем выражения для магнитной и электрической компонент энергии.
;
,
где
и
магнитная и диэлектрическая проницаемости капли,
и
магнитная и диэлектрическая проницаемости омывающей каплю среды,
- размагничивающий фактор вдоль оси капли, совпадающей с направлением Н
,
- деполяризующий фактор вдоль оси, перпендикулярной Н
(направления Н
и Е
перпендикулярны).
Энергия межфазного натяжения определится в виде
=
(
- коэффициент межфазного натяжения, S
- площадь поверхности деформированной капли, определение которой возможно при известных значениях величин полуосей a, b и c эллипсоидальной капли). Условие устойчивости формы деформированной электрическим и магнитным полями капли может быть записано в виде:

(4)
Для условия существования устойчивой формы капли в виде сфероида дополнительно должно выполняться равенство полуосей a и b, т.е. полуосей, совпадающих с направлениями Е
и Н
. В этом случае форма капли может считаться близкой к эллипсоиду вращения, что дает возможность определить
и
, а также
с помощью известных выражений. Так,
=
=
, которое при малых деформациях можно представить в виде:
.
Поверхностная энергия
для эллипсоида вращения определяется выражением:
,
Используя условие (4), для эксцентриситета сфероидальной капли, находящейся в устойчивом состоянии в перпендикулярно направленных магнитном и электрическом полях в приближении малых деформаций нетрудно получить:
, (5)
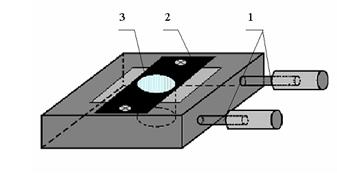
Экспериментальная установка
Для изучения все указанных явлений необходимо приготовить магнитную эмульсию, тонкий слой которой необходимо поместить на предметный столик микроскопа. Внешнее магнитное поле создается с помощью катушек Гельмгольца.
Рис. 1
Экспериментальная установка состоит из катушек Гельмгольца, микроскопа, ячейки (рис. 2) с магнитной эмульсией, источника тока, фотоаппарата.
Рис. 2
Проведение эксперимента
Исследование микрокапель эмульсии в магнитном поле.
1. Собрать цепь по схеме на рис. 1
2. Настроить микроскоп.
Установить окуляр на 15 и объектив на 20.
3. С помощью магнита собрать из мелких капель одну большую, затем, увеличивая силу тока в катушках Гельмгольца, определить при каком значении тока капля начинает деформироваться и при каком токе она разрывается.
4. Определить напряженность магнитного поля, создаваемого катушками Гельмгольца по силе тока в них из расчета: 1А – 23 Э.
5. Данные занести в таблицу. (опыт сделать как с прямой так и с обратной эмульсией)
| № | H н | H к |
| 1 | ||
| 2 | ||
| 3 | ||
| … |
Исследование микрокапель эмульсии в переменном и постоянном электрических полях.
1. На рис. 2 изображена ячейка. Ячейку подключить к источнику тока.
2. Пронаблюдать поведение микрокапель прямой и обратной эмульсии при разных частотах и при увеличении напряжения.
3. Определить при каком значении напряжения капли начинают деформироваться и разрываться.
4. Данные занести в таблицу. (Опыт сделать как с прямой так и с обратной эмульсией)
| № | U н | U к |
| 1 | ||
| 2 | ||
| 3 | ||
| … |
Список литературы
1. Вонсовский С.В. Магнетизм. - М.: Наука, 1971. - 1032 с.
2. Бибик Е.Е., Матыгулин Б.Я., Райхер Ю.Л., Шлиомис М.И. Магнитостатические свойства коллоидов магнетита // Магнитная гидродинамика. - 1973.- N1.- с.68-72.
3. Мозговой Е.Н., Блум Э.Я. Магнитные свойства мелкодисперсных ферросуспензий, синтезированных электроконденсационным способом // Магнитная гидродинамика . - 1971. - N4.С.18-24.
4. Цеберс А.О. Собственные вращения частиц в гидродинамике намагничивающихся и поляризующихся сред. Дисс. ... канд. физ-мат. наук. Рига, Институт физики АН Латв. ССР.- 1976. - 145 с.
5. Шлиомис М.И. Эффективная вязкость магнитных суспензий //ЖЭТФ. - 1971 .- Т.61, вып.6. - С.2411-2418.
6. Майоров М.М. Экспериментальное исследование магнитной проницаемости феррожидкости в переменном магнитном поле //Магнитная гидродинамика.- 1979.- N2.- С.21-26.
7. Буевич Ю.А., Иванов А.О. Кинетика образования сферических агрегатов в магнитных жидкостях // Магнитная гидродинамика.- 1990.- N2.- С.33-40.