| Скачать .docx |
Курсовая работа: Проект трехфазного масляного двухобмоточного трансформатора
Содержание
Задание на курсовое проектирование
Введение
1. Расчет основных электрических величин
2. Выбор изоляционных расстояний и расчет основных размеров трансформатора
2.1 Выбор изоляционных расстояний
3. Расчет обмоток трансформатора
3.1 Расчет обмоток низкого напряжения
3.2 Расчет обмоток высшего напряжения
4. Определение параметров короткого замыкания
5. Расчет магнитной системы
5.1 Определение размеров и массы магнитопровода
5.2 Расчет потерь холостого хода
5.3 Расчет тока холостого хода
6. Тепловой расчет трансформатора
7. Расчет массы трансформатора
Список используемой литературы
Задание на курсовое проектирование
Согласно заданию необходимо спроектировать трехфазный масляный двухобмоточный трансформатор, имеем следующие данные:
- номинальная полная мощность Sн = 750 кВА;
- число фаз m = 3;
- номинальные линейные напряжения обмоток высшего и низшего напряжения = 3 / 0,69 кВ;
- частота напряжения f = 50 Гц;
- номинальные потери холостого хода Ро = 2500 Вт;
- номинальные потери короткого замыкания Рк = 9500 Вт;
- номинальное напряжение короткого замыкания U = 5,5%;
- номинальный ток холостого хода iо = 5,1%
Введение
Развитие электротехники первоначально происходило по линии применения постоянного тока. Между тем бурно развивающаяся в XIX в. промышленность требовала все более мощные источники электрической энергии и передачи ее от мест получения до потребителя. Однако постоянный ток, несмотря на многие его положительные качества, не удовлетворяет этим требованиям, так как не может получаться в генераторах большой мощности и передаваться на большие расстояния. Передаче энергии по линиям большой протяженности препятствовала невозможность повышения напряжения генератора сверх определенного предела. Такое повышение является необходимым во избежание больших потерь энергии в линии. Кроме того, непосредственное использование электрического тока при высоком напряжении в ряде случаев, например для освещения, оказалось бы невозможным по условиям безопасности.
В связи с этим применение переменного тока стало все больше привлекать внимание ученых-электротехников, в чем большую роль сыграли русские электротехники того времени, впервые открывшие метод трансформирования переменного тока и показавшие возможность его практического использования.
Первый шаг в получении трансформации сделал в 1877 г. русский ученый П.Н. Яблочков, который построил установку с последовательно соединенными индукционными катушками, вторичные обмотки которых питали им же изобретенные «свечи Яблочкова». Таким образом, индукционные катушки представляли по существу трансформаторы.
Вслед за этим трансформатор был усовершенствован русским изобретателем Н. Ф. Усагиным (1882 г.) и немецким инженером Дери (1885 г.).
Следующим этапом развития применения переменного тока было изобретение русским электротехником М.О. Доливо-Добровольским трехфазной системы переменного тока (1889 г.) и трехфазного трансформатора (1891 г.).
С этого времени благодаря найденным практическим решениям проблем — трехфазного электродвигателя и трансформирования переменного тока — начинается бурный рост использования электрической энергии в промышленности. Одновременно с этим стало увеличиваться значение мощности изготовляемых трансформаторов и росло напряжение, получаемое с их помощью.
Трансформаторы сами электрическую энергию не производят, а только ее трансформируют, т. е. изменяют величину электрического напряжения. При этом трансформаторы могут быть повышающими, если они предназначены для повышения напряжения, и понижающими, если они предназначены для понижения напряжения. Но принципиально каждый трансформатор может быть использован либо как повышающий, либо как понижающий в зависимости от его назначения, т. е. он является обратимым аппаратом.
Силовые трансформаторы обладают весьма высоким коэффициентом полезного действия (к. п. д.), значение которого составляет от 95 до 99,5%, в зависимости от мощности. Трансформатор большей мощности имеет соответственно и более высокий к. п. д.
1.Расчет основных электрических величин
1.1Мощность одной фазы и одного стержня, кВА
S= ![]()
Где S –мощность трехфазного трансформатора, кВА; m – число фаз
= 250 кВА;
1.2Номинальная линейные токи на сторонах ВН и НН, А
I =
,
Где U – номинальные линейное напряжение, В;
Iном.
вн =
= 144,5 А
Iном НН
=
= 630,25 А
1.3Фазные токи на сторонах ВН и НН, А
При схеме соединения «звезда» фазные токи равны линейным токам
Iф ВН = 144.5 А
Iф НН = 630,25 А
1.4 Фазные напряжения обмоток ВН и НН при схеме соединения «звезда» равны, В
Uф.ВН =
=1734,1 В
Uф НН
=
= 398.84 В
2. Выбор изоляционных расстояний
2.1 Выбор изоляционных расстояний
Выбираем испытательные напряжение по табл.5.1 «1» для обмотки: ВН Uисп. ВН =18 кВ; для обмотки НН Uисп.НН = 5 кВ.
По таблице 4.1 «1» выбираем тип обмоток. Обмотка ВН при напряжении 3кВ и токе 144,5 А – многослойная – многослойная цилиндрическая из медного прямоугольного провода; обмотка НН при напряжении 0.69 кВ и токе 630.25 А – однослойная цилиндрическая из медного прямоугольного провода.
Для испытательного напряжения обмотки ВН Uисп. ВН =18 кВ по таблице 5.3 «1» находим изоляционные расстояния а12 = 0.9 см., hо =2 см,
а22 = 0,8; для обмоток НН Uисп.НН = 5 кВ по таблице 5.8 «1» находим
а01 = 1.5 см .
2.2 Расчет основных размеров трансформаторов
2.2.1 Определяем диаметр стержня, см;
Дo =
,
Где ар – ширина приведенного канала расстояния трансформатора,
ар = а12 + (а1 +а2 )/3
(а1
+ а2
)/ 3 .
Кр
.
,
Ккр – коэффициент канала расстояния, принимаем 0,8 табл. 6.3 «1».
(а1
+ а2
) / 3 = 0.8
=0,8 .
3,98 = 3,18 см
Ар = 0,9 + 3,18 = 4,08 см
Uр – реактивная составляющая короткого замыкания, %,
Uр
= ![]()
Ua
= Pk
/10 .
S =
=0,33%
UP
=
=5,35 %
- отношения основных размеров, принимаем
= 1,2, табл. 6,1(1);
Кр – коэффициент приведения идеального поля расстояния к реальному полю, принимаем Кр = 0,95
КЗ – коэффициент заполнения сталью, принимаем Кз = 0,9;
Вс – магнитная индукция в стержне, принимаем Вс =1,65 Тл.
До
= 16
=18,9 см
Принимаем нормализованный диаметр До = 20 см, где Пф.с = 278 см2
Пс по таблице 3.2(1) выбираем сталь марки 3405 толщиной: 0,3 мм с жаростойким покрытием с отжигом и коэффициентом заполнения сечения стержня (ярма) Кз = 0,96.
2.2.2 Определяем ЭДС витка, В
Uв = 4,44 . f . Вс . Пс . 10-4 ,
Где Пс - активное сечение стержня, см,
Пс = Пф.с . Кз = 278 . 0,96 = 266,9 см2
Uв = 4,44 . 50 . 1,65 . 266,9 . 10-4 =9,78 В.
2.2.3 Определим высоту обмотки, см,
Но
=
Д12
/
,
Где Д12 –средний диаметр между обмотками,
Д12 = аср. . До
аср.
– для медных проводов аср.
= 1,35
1,4 принимаем 1,4
Д12 = 1,4 . 20 = 28 см
Но
=
= 73,27 см.
3. Расчет обмоток
3.1 Расчет обмоток НН
3.1.1 Число витков на одну фазу обмотки НН,
нн
= Uф.нн
/ Uв. =
398,84 / 9,78 = 40,78, принимаем 41.
3.1.2 Уточняем ЭДС одного витка, В
Uв.
= Uф.нн
/
нн
= 2398,84 / 41 =398,84 В
3.1.3 Действительная индукция в стержне, Тл,
Вс = Uв . 104 / 4,44 . f. Пс = 9,78 . 104 / 4,44 . 50 . 266,9 = 1,65 Тл
3.14 Рассчитаем ориентировочное сечение витка, мм
Пв.нн
= Iф.нн
/ ![]()
![]() |
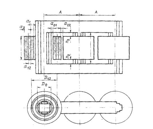
Рис.1 Основные размеры трансформатора.
Где
-средняя плотность тока,принимаем
=2,8 А/мм2
по табл.7.1(1)
Пнн = 630,25 / 2,8 = 225,09 мм2
3.1.5 Определим число витков в одном слое,
сл.
=
нн
= 41
3.1.6 Ориентировочный осевой размер витка, см
hв
= Но
/ (
сл.
+1) = 73,27 / (41 + 1) =1,74 см
![]() |
![]() |
Рис.2 Определение осевого размера витка и радиального размера для витковой обмотки: а – одноходовой; б –двухходовой.
Выбираем по табл.7.2(1) провод для многослойной цилиндрической обмотки прямоугольного сечения:
ПБ
3![]()
= 3 .
75,64 мм2
= 226,92 мм2
, т.е. три провода в витке
Пв.нн = 226,92 мм2
3.1.7 Уточняем плотность тока, А/мм2
![]() |
![]() |
Рис.3 Определение радиальных размеров обмотки.
нн
= Iф.нн
/Пв.нн
630,25 / 226,92 А/мм2
.
3.1.8 Уточняем высоту обмотки, см
Но
= hв
(
сл.
+ 1) +1 1,74(41 + 1) + 1 =74,08 см.
3.1.9 Определяем радиальный размер обмотки, см,
а1 = а/ = 4,25 см.
3.1.10 Внутренний диаметр обмотки, см,
Д/ 1 = До + 2а1 =18,9 + 2 . 4,25 = 27,4 см.
3.1.11 Наружный диаметр, см,
Д// 1 = Д/ 1 + 2а1 = 27,4 + 2 . 4,25 = 35,9 см.
3.2 Расчет обмотки ВН
3.2.1 Число витков на одну фазу обмотки ВН на основном ответвлении,
вн
=
нн
.
Uф.вн
/ Uф.нн
= 41 .
1734,1 / 398,84 = 178,26 = 178.
3.2.2 Число витков на одной ступени регулирования,
р
= 2,5
вн
/ 100 = 2,5 .
178 / 100 = 4,45 =5.
3.2.3 Число витков на ответвлениях,
+ 5%
вн
=
н.вн
+ 2
р
= 178 + 2 .
5 = 188
+ 2,5%
вн
=
н.вн
+
р
= 178 + 5 = 183,
Номинальное напряжение
н.вн
= 178
- 2,5%
вн
=
н.вн
-
р
= 178 – 5 = 173
-5%
вн
=
н.вн
- 2
р
= 178 – 2 .
5 =168.
3.2.4 Ориентировочная плотность тока А/мм2 ,
вн
= 2
- Iнн
= 2 .
2,8 – 2,8 = 2,8 А/мм2
3.2.5 Ориентировочное сечение витка, мм2 ,
Пв.вн
= Iф.вн
/
вн
= 144,5 / 2,8 = 51,6 мм2
,
Выбираем многослойную цилиндрическую обмотку из прямоугольного провода по табл.5.2(2)
ПБ а
в = 14,0
5,6.
3.2.6 Полное сечение витка, мм2 ,
Пв = ппр. Ппр ,
Где nпр. – число параллельных проводов;
Ппр. – сечение одного провода, табл.5.2 (2),
Пв
= 3.
14,0
5,6 = 3 .
78,4 = 235,2 мм2
.
3.2.7 Уточняем плотность тока, А/мм2 ,
вн
= Iф.вн
/ Пв
= 144,5 / 235,2 = 0,6 А/мм2
.
3.2.8 Вычислим число витков в слое,
сл.
= Но
/ (nпр.
.
d/
) – 1 = 73,27 / (3 .
5,6) – 1 = 4,6
5.
3.2.9 Определим число слоев в обмотке,
nсл.
=
вн
/
сл.
=178 / 41 = 4,34, принимаем 5.
3.2.10 Рабочее напряжение двух слоев, В,
Uм сл.
= 2
сл.
.
Uв
= 2 .
41 .
9,78 = 801,96 В
Межслойную изоляцию по табл.5.5 (1) выбираем в два слоя кабельной бумаги – 0,12 мм, выступ изоляции на торцах обмотки 1 см на одну сторону.
3.2.11 Радиальный размер обмотки, см,
а2
= d/
сл.
+
м сл.
(nсл.
– 1),
где
м сл.
- число слоев и толщина кабельной бумаги, табл.5.5 (1),
а2
= 5,6 .
5 + 0,012 .
2(5 -1) =28,096 см
28 см.
3.2.12 Внутренний диаметр обмотки, см,
Д/ 2 = Д// 1 + 2а12 = 35,9 + 2 . 0,9 = 37,7 см.
3.2.13 Наружный диаметр обмотки, см
Д// 2 = Д/ 2 + 2а2 = 37,7 + 2 . 28 = 93,7 см.
4. Определение параметров короткого замыкания
4.1 Определение потерь короткого замыкания
4.1.1 Основные потери обмотки НН, Вт,
Росн. НН
= 2,4
нн
.
Мм нн
,
Где Мм нн – масса металла обмотки НН, кг,
Мм нн
=28 .
с .
.
нн
.
Пв нн
.
10-5
= 28 .
3 .
.
41 .
226,92 .
10-5
=247,35 кг. Росн НН
= 2,4 .
2,82
.
247,35 = 4654,14 Вт.
4.1.2 Основные потери обмотки ВН, Вт,
Росн ВН
= 2,4
нн
.
Мм вн
Мм вн
= 28 .
3 .
.
178 .
235,2 .
10-5
= 2310,48 кг
Росн вн = 2,4 . 0,62 . 2310,48 = 1996,25 Вт.
4.1.3 Добавочные потери в обмотке НН,
Кд нн
= 1+ 0,095
д
2
. а4
.
(h2
-0,2),
Где
д
= bm Кр
/ Но
b –размер проводника, парралельный направлению линий магнитной индукции осевой составляющей поля рассеивания,
m – число проводников в обмотке,
Кр –коэффициент приведения поля рассеяния, Кр = 0,95
= ![]()
0,22
а – размер проводника, перпендикулярный направлению линии магнитной индукции осевой составляющей поля рассеяния,
n – число проводников обмотки,
Кд.нн = 1+ 0,095 . 0,222 . 0,454 (3 – 0,2) = 1,001.
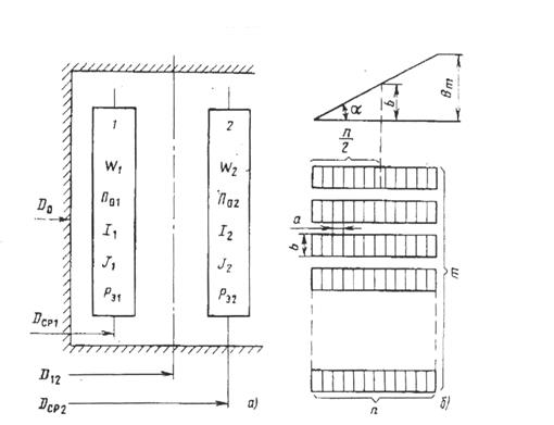
![]() |
Рис.4 а- к расчету массы обмоток; б – к определению добавочных потерь в обмотках.
4.1.4 Добавочные потери в обмотке ВН
Кд вн
= 1 + 0,044 .
д1
2 .
d4 .
n2
,
Где
= bm.
Кр
/Но
, d – диаметр проводника;
д1
= 14 .
5.
0,95 / 73,27 = 0,26
Кд вн =1 + 0,044 . 0,262 . 5,64 . 32 = 2,74
4.1.5 Длинна отводов для схемы соединения «звезда» ВН и НН имеют одинаковую длину, см,
lотв.ВН = lотв.НН = 7,5Но = 7,5 . 73,27 = 549,5 см
4.1.6 Масса отводов НН,кг,
Мотв.НН
=
м
.
Пв.НН
.
lотв.НН
.
10-8
,
Где
- плотность металла отводов,
м
= 8900 кг/м3
Мотв.НН = 8900 . 226,92 . 549,5 . 10-8 = 11,09 кг
4.1.7 Потери в проводах НН, Вт,
Ротв.НН
= 2,4 ![]()
.
Мотв.НН
= 2,4 .
2,82 .
11,09 =208,67 Вт
4.1.8 Масса отводов ВН, кг
Мотв.ВН
=
м
.
Пв.ВН
.
lотв.ВН
.
10-8
= 8900.
235,2 .
11,09 .
10-8
= 0,23 кг
4.1.9 Потери в отводах ВН, Вт,
Ротв.ВН
=2,4
вн
2
.
Мотв.ВН
= 2,4 .
2,82 .
0,23 = 4,3 Вт
4.1.10 Потери в стенках бака и других элементах конструкции, Вт
Р
= 10 .
К
.
S,
Где К
- принимаем К
= 0,015
S – полная мощность трансформатора, кВА,
Р
= 10 .
0,015 .
750 = 112,5 Вт.
4.1.11 Полные потери короткого замыкания, Вт,
Рк
= КдНН
.
Росн.НН
+ КдВН
.
Росн.ВН
+ Ротв.ВН
+ Ротв.НН
+ Р
=
= 1,001 . 4654,14 + 1996, . 2,74 + 208,67 + 4,3 +112,5 10453,98 Вт
или 1098 . 100% / 600 = 174,2%
4.2 Расчет напряжения короткого замыкания
![]() |
Рис.5 Поле рассеяния двух концентрических обмоток: 1- обмотка ВН; 2- обмотка НН; 3- ярмо; 4- стержень; 5- поток рассеяния.
4.2.1 Расчет активной составляющей, %,
Uа = Рк / (10S) =10453,98 / 10 . 750 =1,39%
4.2.2 Расчет реактивной составляющей, %,
Uр
= 7,92 .
f.
S| .
ар
.
Кр
.
Кq
.
10-3
/ U
,
Где
=
Д12
/ Но
Д12 = Д// 1 + а12 = 35,9 + 0,9 = 36,8 см
= 3,14 .
36,15 / 73,27 = 1,55
ар – ширина приведенного канала расстояния, см,
ар
= 0,9 +
= 11,65 см
Кq – коэффициент учета неравномерного распределения витков по высоте Кq = 1,
Кр – коэффициент, учитывающий отклонения реального поля рассеяния от идеального параллельного,
Кр
1- ![]()
= (а12
+ а1
+ а2
) /
Но
=
= 0,14
Кр = 1- 0,14 = 0,86
Uр
=
= 16,13%
4.2.3 Напряжение короткого замыкания, %,
![]() |
Рис.6 Продольное и поперечное поля в концентрических обмотках: 1и 2- обмотки внутренняя и наружна
Uк
=
=
= 16,13% Или
= 358,5 В
4.3 Расчет механических сил в обмотках
4.3.1 Установившейся ток короткого замыкания, А,
Iк.у.
= Iном.ВН
.
100 / Uк
=
= 895,8 А
4.3.2 Мгновенное максимальное значение тока короткого замыкания,А,
iк. max = 1,44 . Kmax . Iк y ,
где Kmax – коэффициент учитывающий периодическую составляющую тока КЗ.
Kmax
= 1 + e -
U
a
\ U
p
= 1+ e -
= 0,27
Iк. max = 1,41 . 0,27 . 895,8 = 341 А
4.3.3 Радиальная сила, Н,
Fp
= 0,628(iк.
max
.
BH
)2
.
Кр
.
10-6
= 0,628(341 .
178)2
.
1,55 .
0,86 .
10-6
=
= 3168,45 Н.
4.3.4 Полная осевая сила, Н,
Fос.д
= (Fр
.
ар
) / 2Но
=
= 251,89 Н.
![]() |
![]() |
Рис.6 Осевые силы: а- определение hх ; приближенное определение lа.р. :
1- обмотка НН; 2- обмотка ВН; 3- стержень; 4- прессующее кольцо; 5- ярмовая балка; 6- стенка бака.
Согласно рис. вторая составляющая осевой силы, равна = 0, т.к. регулировочные витки располагаются по высоте всего наружного слоя.
4.4 Расчет обмоток на магнитную прочность
![]() |
Рис.6 К определению механических напряжений.
4.4.1 Напряжение на сжатие в проводе обмотке НН, МПа,
сж.р
= Fр
/ 2![]()
НН
.
Пв.НН
=
= 0,24 МПа
или
сж.р.д
=
= 0,008%
4.4.2 Напряжение сжатия на прокладках обмотки НН, МПа
сж.
= Fос.д
/ (nпНН
.
a1
.
bпНН
),
где nп – число прокладок по окружности обмотки;
a1 – радиальный размер обмотки, мм;
bп – ширина прокладки, мм
сж
=
= 1.48 МПа
или
сж.д
=
= 7,4% допустимого.
4.5 Расчет температуры нагрева обмоток при коротком замыкании
4.5.1 Температура обмотки через tк = 4сек. Возникновения короткого замыкания, о С,
Vк.а = (670tк / (12,5 . (Uк / IВН )2 – tк )) + Vн,
Где tк – наибольшая продолжительность короткого замыкания,
Vн – начальная температура обмотки, Vн = 90о С.
Vк.а
=
+ 90 = 96,50
С,
Что ниже допустимой температуры для медных обмоток
Vк.а
2500
С, табл.8.1(1).
4.5.2 Время достижения температуры 2500 С, с,
tк 250
= 2,5 (Uк
/
ВН
)2
= 82,96 с.
5. Расчет магнитной системы
5.1 Определение размеров и массы магнитопровода
Выбираем трехфазную конструкцию магнитной системы с косыми стыками на крайних стержнях и прямыми на среднем. Прессовку стержня осуществляем расклиниванием с обмоткой, ярма – ярмовыми балками без бандажей.
5.1.1 Рассчитываем расстояние между осями обмоток, см,
А = Д// 2 + а22 = 93,7 +0,8 = 94,5 см принимаем 95.
По табл. 9.1(1) определяем сечения стержня, ярма и объема угла:
Пф.с. = 278 см2 ; Пя = 279 см2 ; hя =17,5 см; Vу =4,69 дм2 .
5.1.2 Определим высоту окна, см,
Н = Но +h| о +h|| о = 73,27+ 2 + (1,5+1,8) = 78,57 cм, принимаем 79.
5.1.3 Масса угла, кг,
Му
=Vу
.
ст.
.
Кз
,
Где Vу
– объем угла, дм2
; Кз
– коэффициент заполнения сечения сталью;
ст
– плотность электротехнической стали,
ст
= 7850 кг/см2
Му = 4,69 . 7,65 . 0,96 = 34,44 кг
5.1.4 Масса стержней, кг,
Мс
= с .
Пф.с
.
Кз.
.
(Н + hя
)
ст
.
10-3
– с.
Му
,
Где с – число стержней магнитной системы;
Пф.с – площадь поперечного сечения стержня, см;
hя – высота ярма.
Мс = 4 . 278 . 0,96 . (79 +17,5) . 7,65 . 10-3 – 3 . 34,44 = 487,73 кг
5.1.5 Масса ярма, кг,
Мя
= 4 Пф.я
.
Кз
.
А .
ст
.
10-3
– 4 Му
,
Где Пф.я – площадь поперечного сечения ярма, см2
Мя = 4. 279 . 0,96 . 95 . 7,65 . 10-3 – 4. 34,44 = 640,85 кг
5.1.6 Масса стали магнитопровода, кг,
Мст. = Мс + Мя + 6Му = 487,73 + 640,85 + 6 . 34,44 = 1335,22.кг.
5.2 Расчет потерь холостого хода
Вс
=1,65 Тл; Вя
= Вс
.
Пф.с
/ Пф.я
=
= 1,64 Тл
Среднее значение индукции в углах возьмем равным индукции в стержне
Ву = Вс = 1,64 Тл.
Из табл.9.2(1) находим значение удельных потерь и из табл.9.3(1) коэффициент увеличения потерь для углов с прямыми и косыми стыками:
Рс =1,238 Вт/кг; Ря = 1,260 Вт/кг; Кпр. = 2,61; Кк = 1,59.
5.2.1 Определим потери в магнитопроводе, Вт,
Ро
= К1
(Мс
рс
+ Мя
ря
+ Му
(Кпр
n пр.
+ Кк
n к
)),
Где К1 – коэффициент, учитывающий добавочные потери в магнитопроводной системе;
n пр. и n к – числа углов с прямыми и косыми стыками.
Ро
= 1,1(487,73 .
1,238 +640,87 .
1,26 + 34,44 .
.
(2 .
2,61 + 4 .
1,59))= 2100,33 Вт
Потери получились меньше нормированных ГОСТ 11920-85 на
= -0,8%.
5.3 Расчет тока холостого тока
5.3.1 Средняя индукция в косом стыке, Тл,
Вк.з.
= (Вс
+ Вя
) / 2
=
= 1,16 Тл
Из табл. 9.2(1) находим значение удельных намагничивающих мощностей стержней, ярм, прямого и косого стыков и из табл. 9.3(1) – коэффициенты увеличения намагничивающей мощности для углов с прямыми и косыми стыками:
qс = 1,84 Вт/кг; qя = 1,775 Вт/кг; qк.з. =0,298 В. А/см2 ; qз.с. = 2,240 В. А/см2 ;
qз.я = 2,176 В. А/см2 ; К/ пр = 13,4; Кк = 2,48.
5.3.2 Полная намагничивающая мощность, ВА,
Qx
= К2
/
(Мс
qс
+ Мя
qя
+ Му
( n пр
Кпр
/
+ n к
Кк
/
) + n з.я
qз.я
.
Пз.я
+n з.с
qз.с
Пз.с
+ n з.к
.
qк.з.
) = 1,65(487,73 .
1,84 + 640,85 .
1,775 + 34,44
.
(2 .
13,4 + 4 .
2,48) + 2 .
2,176 .
279 + 2,24 .
278 + 4 .
.
.
0,298) = 10942,81 В.
А.
5.3.3 Относительное значение тока холостого хода, %,
i0
= Qх
/ (10S) =
= 1,45%
5.3.4 Относительное значение реактивной составляющей тока холостого хода, %,
iо,а
= Pо
/ (10S) =
= 0,28%
5.3.5 Относительное значение реактивной составляющей тока холостого хода, %,
i =
=
=14,8%
5.3.6 Коэффициент полезного действия при номинальной нагрузке, %,
=
=
= 98,3%.
6. Тепловой расчет трансформатора
6.1 Удельная тепловая нагрузка обмотки НН, Вт/м2
qоНН
= (21,4 .
Iкат.
.
кат.
.
.
Кд
) / (Кзак.
.
Но
.
nпов.
),
где Iкат. – ток проходящий через катушку, А;
кат.
– число витков в катушке;
Кд – коэффициент учитывающий добавочные потери;
nпов – число теплоотдающих поверхностей
Кзак. – коэффициент закрытия.
Кзак.
= 1 - ![]()
Кзак.
= 1-
= 0,84
qоНН
=
= 2518,245 Вт/м2
6.2 Удельная тепловая нагрузка обмотки ВН, Вт/м2
Кзак.
= 1- (2nВ /
(Д2
/
+Д2
//
)) = 1-(2.
4 .
8/ 3,14(37,7+93,7))= 0,85 Вт/м2
qоВН =21,4 . 144,5 . 178 . 2,8 . 2,74/ 0,85 . 73,27 . 3 = 2260,166 Вт/м2
6.3 Привышение температуры обмоток ВН и НН над температурой масла, о С, табл. 10.3 (1)
омНН
= 0,159 .
qоНН
0,7
= 0,159 .
2518,240,7
= 38,2о
С
омВН
= 0,159 .
qоВН
0,7
= 0,159 .
2260,170,7
= 35,4о
С.
6.4 Находим ширину бака, см
Вб = Д// 2 +2аоб ,
Где Д// 2 – наружный диаметр обмотки;
аоб - изоляционное расстояние от внешней обмотки до стенки бака, принимаем 6см, по табл.10.7 (1),
Вб = 93,7 + 2 . 6 = 105,57 см, принимаем 106 см.
6.5 Определим длину бака,см
Аб = 2А + Вб ,
Где А – расстояние между осями стержней магнитопровода, см,
Аб = 2 . 95 + 106 = 296 см.
6.6 Определим глубину бака, см
Нб = Н + 2 hя + hя кр ,
Где Н – высота окна, см;
hя – высота ярма, см;
hя кр – сумма расстояний от магнитопровода до дна и крышки бака, принимаем 20см по табл.10.7 (1)
Нб = 78,57 + 2 . 17,5 +20 = 133,57 см.
6.7 Поверхность гладкого овального бака и крышки, м2
Пб = (2(Аб – Вб ) + πВб ) = (2(296 – 106) + 3,14 . 106) = 9,5 м2
6.8 Определяем допустимое среднее превышение температуры масла над воздухом из условия, чтобы температура наиболее нагретой катушки обмоток превышала темтературу воздуха не более, чем допускает ГОСТ 11677-85, т.е
м
= 650
С -
о.м
= 65 – 38,2 = 26,8о
С
6.9 Для этого превышения температуры, определяем превышение температуры в верхних слоях масла
мВВ
= 1,2
мВ
+
м
, где
м
– поправка,
м
= (ац
– 0,48) / 0,03,
ац – отношение высоты центра потерь (активной части) высота центра охлаждения бака.
ац
= Нn
/ Нохл.
= (Н + hя
)/(2Нб
– Н о.р
– 30) =
= 0,75
м
=
= 9о
С
мВВ
= 1,2 .
26,8 + 9 = 41,2
41о
С
По табл. 10.6 (1) определяем qб = 551Вт/м2 .
6.10 Потери отводимые с поверхности бака, Вт
Qб = (Пб + 0,75Пкр. ) = 9,5 + 0,75 . 2,9 = 11,67 Вт
6.11 Потери отводимые с поверхности радиаторов,Вт
Qр =Ро +Рк - Qб = 210,33 + 10453,98 – 11,67 =10652,64 Вт.
6.12 Необходимая поверхность радиаторов, м2
Пр
= Qр
/ qб
=
= 23,67 м2
По табл. 10.8 (1) выбираем два радиатора Нр =1295 мм; Нор = 1100 мм;
С тремя рядом труб Пр =13,05 м2 ; Мр = 148 кг; Мтр = 81 кг.
7. Расчет массы трансформатора
7.1 Масса активной части, кг
Ма.ч. = 1,2(Мпр + Мст. ),
Где Мпр – масса провода, кг
Мпр = 1,06(МмНН + 1,05МмВН + МотвНН + МотвВН ) = 1,06( 247,35 + 1,05 . 2310,48 + 11,09 . 0,23) = 2845,7 кг
Ма.ч. = 1,2(2845,7 + 487,73) = 4000 кг.
7.2 Масса бака с радиаторами, кг
Мб
=
ст
.
Vб.ст
+ Мр
, Где
ст
= 7890 кг/м3
Vб.ст
= ![]()
= Пб
+ Пкр
+Пд
= 9,5 + 2,9 + 2,9 = 15,3, где Пкр
= 2,9
ст
– толщина стали бака,
ст
= 10 мм
Vб.ст. = 15,3 . 0,01 = 0,153
Мб = 7850 . 0,153 + 2 . 148 = 426,05
7.3 Общая масса масла, кг
Мм = 1,05(0,9(Vб – Vа.ч. ) + Мтр . 103 ,
где Vб – объем бака, м3 ;
Vб = Пд Нб = 2,9 . 1,33 = 3,86 м3
Vа.ч – объем активной части, м3
Vа.ч
= Ма.ч.
/
а.ч.
=
=0,72 м3
Мтр – масса масла в элементах системы охлаждения
Мм = 1,05(0,9(3,86 – 0,72) +2 . 0,148) = 3,27 кг
7.4 Масса трансформатора, кг
Мтр = Ма.ч + Мм + Мб = 4000 + 3,27 + 426,05 = 4429,3 кг = 4,429 т
Список используемой литературы
1. Гончарук А.И. Расчет и конструирование трансформаторов, М. Энергоиздат, 1990.
2. Тихомиров П.М Расчет трансформаторов, учебное пособие для ВУЗов, М. Энергоиздат, 1986.
3. Васютский С.Б. Вопросы теории и расчета трансформаторов, Л. Энергия, 1970.
4. Вольдек А.И. Электрические машины, учебник для студентов высших технических учебных заведений, Л. 1966.
5. Дымков А.М. Расчет и конструирование трансформаторов, М. Высшая школа, 1971.










