| Скачать .docx |
Реферат: Принцип действия и конструктивные особенности магнитоэлектрических измерительных преобразователей и электростатических измерительных приборов
Министерство образования Республики Беларусь
Учреждение образования
БЕЛОРУССКИЙ ГОСУДАРСТВЕННЫЙ УНИВЕРСИТЕТ
ИНФОРМАТИКИ И РАДИОЭЛЕКТРОНИКИ
Кафедра метрологии и стандартизации
РЕФЕРАТ
на тему:
«Принцип действия и конструктивные особенности м агнитоэлектрических измерительных преобразователей и электростатических измерительных приборов »
МИНСК, 2008
Принцип работы и основные технические характеристики электромеханических ИП во многом зависят от вида преобразователя, обеспечивающего преобразование энергии электрического измерительного сигнала в механическую энергию перемещения подвижной части ИП.
Общим для всех электромеханических ИП является то, что они состоят из неподвижной и подвижной частей и ряда общих деталей и узлов. Подвижная часть в большинстве преобразователей может совершать угловое перемещение вокруг неподвижной оси. Механический момент, возникающий в результате воздействия на преобразователь измерительного сигнала и обусловливающий поворот его подвижной части в соответствии со значением измеряемой величины, называется вращающим моментом MВР. Этот момент должен однозначно зависеть от преобразуемой величины X и в общем случае от угла a поворота подвижной части ИП:
MВР = f(X, a). (1)
В зависимости от варианта преобразования различают приборы:
1) магнитоэлектрические;
2) электромагнитные
3) электростатические приборы;
3) электродинамические;
4) индукционно-измерительные.
1 Магнитоэлектрические измерительные преобразователи
Магнитоэлектрические преобразователи выделяются среди других групп электромеханических преобразователей широтой и разнообразием применения, высокими метрологическими характеристиками, а также многотипностью. Отечественной промышленностью серийно выпускаются магнитоэлектрические преобразователи вплоть до класса точности 0,05 и с минимальным током полного отклонения до 0,1 мкА.
Наиболее широко магнитоэлектрические преобразователи используются при создании амперметров и вольтметров постоянного тока, омметров, гальванометров постоянного тока, баллистических гальванометров для измерений малых количеств электричества, а также приборов для измерений в цепях переменного тока (осциллографические гальванометры, вибрационные гальванометры, выпрямительные, термоэлектрические и электронные приборы на базе магнитоэлектрических преобразователей).
Принцип действия магнитоэлектрических преобразователей основан на взаимодействии магнитных полей постоянного магнита и проводника с током, конструктивно выполненного в виде катушки (рамки).
Практически все магнитоэлектрические преобразователи можно разделить на две основные разновидности:
- преобразователи с подвижной катушкой и неподвижным магнитом;
- преобразователи с неподвижной катушкой и подвижным магнитом.
Конструктивно преобразователи обеих разновидностей могут быть выполнены:
- с внешним (по отношению к рамке) магнитом;
- с внутрирамочным (внутренним) магнитом.
Кроме того, они мoгут различаться креплением подвижной части, способом создания противодействующего момента, способом успокоения подвижной части и др.
В настоящее время более широкое применение получили магнито-электрические преобразователи с неподвижным магнитом и подвижной катушкой (рисунок 1).
Катушка 5 с числом витков w и площадью витка s находится в магнитном зазоре с равномерным радиальным магнитным полем. Поле в зазоре создается с помощью магнитной системы, состоящей из постоянного магнита 7, полюсных наконечников с цилиндрической расточкой 6 и цилиндрического сердечника 4 из магнитомягкого материала. Благодаря введению в магнитную систему сердечника 4, поле в зазоре, где движется рамка, получается однородным. Для изготовления магнита 7 используют материалы с большой коэрцитивной силой, чаще всего железоникельалюминиево-кобальтовые сплавы. Магнитопроводы и полюсные наконечники выполняют из магнитомягких материалов, чаще всего из низкоуглеродистых электротехнических сталей. Подвижная часть крепятся на полуосях и керновых опорах (в высокочувствительных приборах - на растяжках и подвесах). Противодействующий момент может создаваться механическим (с помощью спиральных пружин 3) или электрическим путем. Катушка 5 наматывается на легком алюминиевом каркасе и жестко крепится на полуосях. При движении катушки в магнитном зазоре в каркасе возникают вихревые токи, создающие момент успокоения . Если получаемый таким образом момент успокоения недостаточно велик, то на каркас катушки дополнительно наматывается необходимое количество короткозамкнутых витков, увеличивающих момент успокоения до нужного значения.
Рисунок1 – Конструкция магнитоэлектрического преобразователя
Самыми разнообразными по номенклатуре и наиболее широко используемыми приборами, создаваемыми на основе магнитоэлектрических преобразователей, являются амперметры, вольтметры, гальванометры и омметры для измерений в цепях постоянного тока.
Амперметры. Как уже отмечалось ранее, магнитоэлектрические измерительные механизмы могут непосредственно использоваться для измерений силы электрического тока. Для этого они включаются в электрическую цепь последовательно с участком, ток через который необходимо измерить (рис 3а). Внутреннее сопротивление RА такого амперметра равно сумме внутреннего сопротивления измерительного механизма Ri и термокомпенсирущего резистора RТК (рисунок 2.3,б), если последний используется в амперметре. Сопротивление Ri представляет собой последовательно соединенные сопротивление катушки преобразователя RК и сопротивление токоподводящих элементов RТ, т.е. Ri = RК + RT. Таким образом, внутреннее сопротивление амперметра равно либо RA = Ri - для амперметра, не содержащего термокомпенсирующих преобразователей, либо RA = Ri + RTK - для амперметра, содержащего термокомпенсирующий резистор RTK.
Так как RA в обоих случаях является конечной величиной, режим электрической цепи после включения в нее амперметра изменится, т.е. измеренное значение тока IИЗМ протекающего через нагрузку RH при включении в цепь амперметра, будет отличаться от действительного значения тока I, протекающего через RH до начала измерений. Однако данная погрешность является систематической и может быть вычислена и исключена из результата измерений.

| а | б |
Рисунок 2 – Амперметр на базе магнитоэлектрического преобразователя
Вольтметры. Магнитоэлектрические вольтметры образуются путем включения измерительного преобразователя последовательно с добавочным резистором RД (рисунок 2.4,a). Полученный таким образом прибор подключается параллельно участку цепи, падение напряжения на котором необходимо измерить (рисунок 2.4,б).

| а | б |
Рисунок 3 – Вольтметр на основе магнитоэлектрического преобразователя
Гальванометры. Гальванометрами называют высокочувствительные электроизмерительные приборы, имеющие неградуированную шкалу и применяемые в качестве нуль-индикаторов, а также после предварительной градуировки для измерения малых значений токов, напряжений, количеств электричества и других физических величин.
Наиболее широкое распространение в практике получили магнитоэлектрические гальванометры. Конструктивно они делятся на два вида:
- переносные со встроенной шкалой, в которых могут использоваться как стрелочные, так и световые отсчетные устройства;
- зеркальные со световым отсчетом и с отдельной шкалой, устанавливаемой на значительном расстоянии от гальванометра.
В переносных гальванометрах подвижная часть крепится на растяжках, в стационарных - на подвесе.
Омметры. На основе магнитоэлектрических преобразователей могут быть созданы приборы для непосредственного измерения такого важного параметра электрических цепей, как электрическое сопротивление. Такие приборы получили название омметров. Простейший омметр представляет собой преобразователь, ток через который создается источником постоянного во времени напряжения и зависит от значения измеряемого сопротивления RX. Указанное сопротивление может быть включено последовательно или параллельно измерительному преобразователю (рисунок 4,a,б соответственно). Шкала прибора может быть при этом проградуирована в единицах сопротивления.

| а | б |
Рисунок 4 – Омметры на базе магнитоэлектрического преобразователя
Не требуют первоначальной установки нуля магнитоэлектрические омметры на базе логометрических преобразователей. Они также могут строиться по последовательной и параллельной схемам (рисунок 5,а,б соответственно). Две различные схемы используются с целью уменьшения погрешности измерения, обусловленной влиянием сопротивлений R1 и R2 катушек 1 и 2 логометрического преобразователя при измерении больших и малых значений RX. В обеих схемах резисторы RД1, RД2 и RД3 - добавочные, постоянные, служащие для ограничения токов, протекающих через катушки 1 и 2 преобразователя, и для задания нужного характера шкалы прибора.

| а | б |
Рисунок 5 – Схемы включения логометрических преобразователей
при измерении больших сопротивлений
2. Электростатические измерительные приборы
Электростатические приборы обладают целым рядом отличительных особенностей, обусловливающих их значительные преимущества по сравнению с приборами других систем. Это, прежде всего, малое собственное потребление мощности от источника измеряемого напряжения, сравнительно высокая точность, возможность использования их в широком диапазоне частот (от 20 Гц до 35 МГц), незначительная зависимость показаний от частоты и формы кривой измеряемых напряжений, возможность использования для непосредственного измерения (без применения измерительных трансформаторов напряжения) высоких напряжений (до 300 кВ), независимость показаний от внешних магнитных полей и др. К основным недостаткам этих приборов относятся: сильная зависимость показаний от внешних электрических полей, малое значение вращающего момента и низкая чувствительность, неравномерная шкала и др.
Основу всех электростатических приборов составляют электростатические измерительные механизмы.
Принцип действия электростатических преобразователей основан на взаимодействии электрических полей двух тел (систем пластин), заряженных разноименными зарядами. В результате такого взаимодействия одна из систем, являющаяся подвижной, перемещается относительно неподвижной системы пластин, вызывая при этом отклонение стрелки отсчетного устройства, связанной с подвижной частью преобразователя, в сторону возрастающих показаний. Перемещение подвижной части преобразователя относительно неподвижной вызывает изменение емкости между ними. Конструктивно подвижная и неподвижная части ИМ выполняются в виде пластин.
Все существующие электростатические преобразователи можно разделить на два вида: преобразователи, у которых изменение емкости достигается за счет изменения активной площади взаимодействующие пластин (рисунок 6,a), и преобразователи, у которых емкость изменяется за счет изменения расстояния между пластинами (рисунок 6,б).


| а | б |
Рисунок 6 – Электростатические измерительные преобразователи
Преобразователи первого вида применяются в вольтметрах, предназначенных для измерения низких напряжений, второго вида - в киловольтметрах.
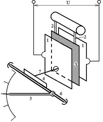
Подвижная часть преобразователя с изменяющейся активной площадью пластин (см. рисунок 6,а) состоит из одной или нескольких тонких алюминиевых пластин 2, закрепленных на оси 3. Неподвижная часть образуется одной или несколькими камерами 1, состоящими из металлических пластин с воздушным зазором между ними. Увеличение числа камер и лучей у подвижных пластин приводит к повышению чувствительности преобразователя. Форма подвижных и неподвижных пластин выбирается или рассчитывается исходя из необходимости обеспечения равномерного характера шкалы прибора. При подаче на подвижные и неподвижные пластины измеряемого напряжения они окажутся заряженными разноименными зарядами и между ними возникнут силы электростатического притяжения, в результате действия которых подвижные пластины будут поворачиваться, стремясь зайти внутрь камер. Вместе с подвижными пластинами будет поворачиваться и ось 3 с закрепленной на ней стрелкой отсчетного устройства. При этом будут закручиваться упругие элементы, создающие противодействующий момент. Подвижная часть остановится при равенстве вращающего и противодействующего моментов. Значение измеряемого напряжения будет определяться углом отклонения стрелки относительно начала шкалы. Для успокоения подвижной части в электростатических преобразователях используются магнитоиндукционные или крыльчатые, воздушные успокоители. Вследствие того, что вращающий момент у электростатических преобразователей мал, для увеличения их чувствительности применяют крепление подвижней части на растяжках и световой отсчет. При этом уменьшаются масса и момент инерции подвижной части и улучшается характер шкалы.
У электростатических преобразователей с изменяющимся расстоянием между пластинами (рисунок 6,б) неподвижная часть образована двумя пластинами 1, между которыми находится подвешенная на тонких неупругих металлических подвесах 2 подвижная пластина 3, гальванически соединенная с одной из неподвижных пластин и изолированная от другой. При подаче на подвижную и изолированную неподвижную пластины измеряемого напряжения подвижная пластина будет притягиваться к разноименно заряженной изолированной неподвижной пластине и одновременно отталкиваться от одноименно заряженной неподвижной пластины (независимо от полярности подключения измеряемого напряжения). Через тягу 7 и мостик 4 перемещение подвижной пластины вызывает поворот оси 6 с закрепленной на ней стрелкой 5. При этом возникает противодействующий момент, создаваемый массой подвижной пластины. Установившееся показание стрелки будет при равенстве вращающего и противодействующего моментов. Вольтметры с такими преобразователями требуют первоначальной установки в такое положение, при котором стрелка будет находиться на нулевой отметке (при отсутствии измеряемого напряжения).
Из вышесказанного можно сделать некоторые выводы о свойствах, достоинствах и недостатках электростатических преобразователей и приборов на их основе:
- электростатические преобразователи могут непосредственно измерять только напряжение;
- электростатические преобразователи могут применяться для измерений напряжений постоянного и переменного токов;
- вращающий момент в электростатических преобразователях сравнительно мал, и они обладают низкой чувствительностью по напряжению;
- точность электростатических преобразователей может быть достаточно высокой, так как на их показания незначительно влияют частота и форма кривой измеряемого напряжения, внешние магнитные поля и температура окружающей среды. Электростатические вольтметры могут изготавливаться с классами точности до 0,05;
- собственное потребление мощности из измерительной цепи для электростатических преобразователей мало, так как при измерениях в цепях постоянного тока оно обусловлено лишь кратковременным током заряда и незначительными токами утечки через изоляцию, а на переменном токе определяется током, протекающим через малую емкость преобразователя и диэлектрическими потерями в изоляции;
- функция преобразования электростатических преобразователей по своему характеру является квадратичной, однако соответствующим выбором формы пластин, т.е. закона изменения емкости при изменении угла поворота, можно получить практически равномерную шкалу на участке от 20 до 100 % от ее верхнего предела;
- электростатические преобразователи сильно подвержены влиянию внешних электрических полей и требуют их экранировки;
- электростатические преобразователи могут работать в широком частотном диапазоне (до 35 МГц), который ограничивается влиянием собственной емкости преобразователя, паразитных реактивностей и активного сопротивления проводов и растяжек;
- с помощью электростатических вольтметров можно непосредственно измерять высокие напряжения (до 300 кВ);
- электростатические преобразователи могут использоваться для измерения кроме напряжения и других электрических величин: мощности, сопротивления и индуктивности.
Электростатические вольтметры и электрометры
Электростатические приборы наиболее широко используются в электроизмерительной технике в виде различных вольтметров. Кроме того, для измерения напряжения и других функционально связанных с ним величин (мощность, сопротивление и т.п.) используются так называемые электрометры электростатической системы.
Для измерения низких напряжений (от десятков до сотен вольт) используются преимущественно вольтметры, созданные на базе ИП с изменяющейся активной площадью пластин (см. рисунок 6,а). При этом для обеспечения достаточной чувствительности расстояние между подвижными и неподвижными пластинами делается очень малым (десятые доли миллиметра) и при случайных ударах, толчках, вибрации и т.д. возникает опасность короткого замыкания пластин, а значит и источника измеряемого напряжения. Для предохранения преобразователя от выхода из строя вследствие протекания через него больших токов при коротком замыкании внутрь низковольтных вольтметров встраивается защитный резистор, ограничивающий эти токи (рисунок 7).
Значение защитного сопротивления определяется исходя из допустимого тока через растяжки, на которых крепится подвижная часть, при коротком замыкании пластин. Вольтметр при этом подключается к источнику измеряемого напряжения с помощью зажимов 1 и 2. При частотах измеряемого переменного напряжения порядка сотен килогерц защитный резистор вызывает большие дополнительные частотные погрешности за счет емкостного тока, поэтому он отключается и вольтметр включается в электрическую цепь зажимами 1 и Э (экран).
В вольтметрах, рассчитанных на измерение более высоких напряжений, расстояния между пластинами достаточно велики и защитные резисторы не используются. При измерениях высокочастотных напряжений в электрических цепях с несимметричным выходом зажим Э, соединенный с внутренним экраном прибора, должен обязательно заземляться.

Рисунок 7 – Схема включения электростатического измерительного преобразователя
Расширение пределов электростатических вольтметров осуществляется главным образом с помощью делителей напряжения: емкостных - при измерениях на переменном токе и резистивных - на постоянном токе.
ЛИТЕРАТУРА
1 Метрология и электрорадиоизмерения в телекоммуникационных системах: Учебник для ВУЗов. Нефедов В. И. и др.; Под ред. Нефедова В.И. - М.: Высш. шк., 2001.
2 Елизаров А.С. Электрорадиоизмерения - Мн.: Выш.шк., 2006.
3 У. Болтон. Справочник инженера-метролога. М. Додэка 2002.-386 с (пер. с англ.).
4 Дерябина М. Ю., Основы измерений. Учебное пособие. Мн., БГУИР, 2001.
5 Резин В.Т., Кострикин А.М. Метрология и измерения. Генераторные измерительные преобразователи. Методическое пособие. Мн., БГУИР, 2004.
6 Архипенко А. Г., Белошицкий А. П., Ляльков С. В. Метрология, стандартизация и сертификация. Учеб. пособие. Ч.2. Основы стандартизации. Мн.: БГУИР, 2007.
7 М. Тули. Справочное пособие по цифровой электронике. - М. Энерго-атомиздат, 2000. (пер. с англ.).
