| Скачать .docx |
Курсовая работа: Технологический процесс производства электроэнергии от завоза топлива до выходных линий ТЭЦ
Министерство транспорта и связи Российской Федерации
Федеральное агентство по железнодорожному транспорту
ГОУ ВПО
Курсовая работа
На тему: "Технологический процесс производства электроэнергии от завоза топлива до выходных линий ТЭЦ"
Хабаровск 2007
Тепловая электростанция (ТЭС), электростанция, вырабатывающая электрическую энергию в результате преобразования тепловой энергии, выделяющейся при сжигании органического топлива. Первые ТЭС появились в кон. 19 в (в 1882 — в Нью-Йорке, 1883 — в Петербурге, 1884 — в Берлине) и получили преимущественное распространение. В сер. 70-х гг. 20 в. ТЭС — основной вид электрической станций. Доля вырабатываемой ими электроэнергии составляла: в СССР и США св. 80% (1975), в мире около 76% (1973).
Среди ТЭС преобладают тепловые паротурбинные электростанции (ТПЭС), на которых тепловая энергия используется в парогенераторе для получения водяного пара высокого давления, приводящего во вращение ротор паровой турбины, соединённый с ротором электрического генератора (обычно синхронного генератора). В качестве топлива на таких ТЭС используют уголь (преимущественно), мазут, природный газ, лигнит, торф, сланцы. Их кпд достигает 40%.
ТПЭС, имеющие в качестве привода электрогенераторов конденсационные турбины и не использующие тепло отработавшего пара для снабжения тепловой энергией внешних потребителей, называют конденсационными электростанциями. На которых вырабатывается около 2/3 электроэнергии, производимой на ТЭС. ТПЭС оснащенные теплофикационными турбинами и отдающие тепло отработавшего пара промышленным или коммунально-бытовым потребителям, называют теплоэлектроцентралями (ТЭЦ); ими вырабатывается около 1/3 электроэнергии, производимой на ТЭС.
ТЭС с приводом электрогенератора от газовой турбины называют газотурбинными электростанциями (ГТЭС). В камере сгорания ГТЭС сжигают газ или жидкое топливо; продукты сгорания с температурой 750—900 «С поступают в газовую турбину, вращающую электрогенератор. Кпд таких ТЭС обычно составляет 26—28%, мощность — до нескольких сотен МВт. ГТЭС обычно применяются для покрытия пиков электрической нагрузки.
ТЭС с парогазотурбинной установкой, состоящей из паротурбинного и газотурбинного агрегатов, называют парогазовой электростанцией (ПГЭС), кпд которой может достигать 42 — 43%. ГТЭС и ПГЭС также могут отпускать тепло внешним потребителям, т. е. работать как ТЭЦ.
1 . Технологическая схема ТЭС
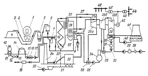
Цепочка технологических процессов от доставки топлива на ТЭС до выдачи электроэнергии отображена на технологической схеме рис. 1.

Рис 1. Технологическая схема ТЭС
Доставка твердого топлива осуществляется по железной дороге в специальных полувагонах (четырехосные грузоподъемностью 63 т, шестиосные — 93 т и восьмиосные — 125 т). Полувагоны с углем взвешивают на железнодорожных весах. В зимнее время полувагоны с углем пропускают через размораживающий тепляк, в котором осуществляется прогрев стенок полувагона подогретым воздухом. Далее полувагон заталкивается в разгрузочное устройство — вагоноопрокидыватель 1, в котором он поворачивается вокруг продольной оси на угол около 180°; уголь сбрасывается на решетки, перекрывающие приемные бункера 2. Уголь из бункеров подается питателями на транспортер, по которому поступает в узел пересыпки 3 ; отсюда уголь подается транспортерами либо на угольный склад 4, либо через дробильное отделение 5 в бункера сырого угля котельной 6, в которые может также доставляться с угольного склада.
Весь этот топливный тракт вместе с угольным складом относится к системе топливоподачи, которую обслуживает персонал топливно-транспортного цеха ТЭС. Размол дробленого угля осуществляется в мельнице 7 с непосредственным вдуванием пылевоздушной смеси через горелки в топку. Предварительно подогретый в воздухоподогревателе 8 воздух, нагнетаемый дутьевым вентилятором 9, подается частично в мельницу (первичный воздух) и частично — непосредственно к горелкам (вторичный воздух). Дутьевой вентилятор засасывает воздух через воздухозаборный короб либо из верхней части котельного отделения (летом), либо извне главного корпуса (зимой). Широко распространен калориферный подогрев воздуха паром или горячей водой перед подачей его в воздухоподогреватель.
Пылеугольные котлы обязательно имеют также растопочное топливо, обычно мазут. Мазут доставляется в железнодорожных цистернах 10, в которых он перед сливом разогревается паром. Разогретый мазут сливается по обогреваемому межрельсовому лотку 11 в приемный резервуар 12, из которого перекачивающими насосами 13 подается в основной резервуар 14. Насосом первого подъема 15 мазут прокачивается через подогреватели 16, обогреваемые паром, после которых насосом второго подъема 17 подается к мазутным форсункам. Растопочным топливом может быть также природный газ, поступающий из газопровода через газорегулировочный пункт 18 в котельную.
На ТЭС, сжигающих газомазутное топливо, топливное хозяйство значительно упрощается по сравнению с пылеугольными ТЭС, отпадают угольный склад, дробильное отделение, система транспортеров, бункера сырого угля и пыли, а также система золоулавливания и золошлакоудаления.
На ТЭС, сжигающих твердое топливо в котлах с жидким шлакоудалением, зола сожженного в топке котла 19 топлива частично вытекает в виде жидкого шлака через сетку пола топки, а частично уносится дымовыми газами из котла, улавливается затем в электрофильтре 20 и собирается в бункерах летучей золы. Посредством смывных устройств шлак и летучая зола подаются в самотечные каналы гидрозолоудаления 21, из которых гидрозолошлаковая смесь, пройдя предварительно металлоуловитель и шлакодробилку, поступает в багерный насос 22, транспортирующий ее по золопроводам на золоотвал. Наряду с гидрозолоудалением находит применение пневмозолоудаление, при котором зола не смачивается и может использоваться для приготовления строительных материалов.
Дымовые газы после золоуловителя дымососом 23 подаются в дымовую трубу 24. При работе котла под наддувом необходимость установки дымососов отпадает.
Подогретый пар из выходного коллектора пароперегревателя по паропроводу свежего пара 25 поступает в цилиндр высокого давления (ЦВД) паровой турбины 26а. После ЦВД пар по «холодному» паропроводу промежуточного перегрева 27 возвращается в котел и поступает в промежуточный пароперегреватель 28, в котором перегревается вновь до температуры свежего пара или близкой к ней. По «горячей» линии промежуточного перегрева 27а пар поступает к цилиндру среднего давления. (ЦСД) 26б, затем — в цилиндр низкого давления (ЦНД) 26в и из него — в конденсатор турбины 29. Из конденсатосборника конденсатора конденсатные насосы I ступени 30 подают конденсат на фильтры установки очистки конденсата 31, после которой конденсатным насосом второй ступени 32 конденсат прокачивается через группу подогревателей низкого давления (ПНД) 33 в деаэратор 34. В деаэраторе вода доводится до кипения и при этом освобождается от растворенных в ней агрессивных газов О3 и СО2 , что предотвращает коррозию в пароводяном тракте. Деаэрированная питательная вода из аккумуляторного бака деаэратора, питаемого насосом 35, подается через группу подогревателей высокого давления (ПВД) 36 в экономайзер 37. Тем самым замыкается пароводяной тракт, включающий в себя пароводяные тракты котла и турбинной установки.
В последние годы находит применение нейтральный водный режим с дозированием газообразного кислорода во всасывающий коллектор конденсатных насосов II ступени. При этом прекращается дозировка в конденсат или питательную воду гидразина и аммиака, выпары деаэратора закрываются.
Концентрация кислорода в воде 200—400 мкг/кг при высоком качестве обессоленного конденсата и отсутствии органических соединений обеспечивает образование пассивирующих окисных пленок в конденсатно-питательном тракте, на поверхностях нагрева ПВД и парового котла. Применение этого метода на новых энергоблоках приведет к. бездеаэраторной схеме.
Пароводяной тракт ТЭС является наиболее сложным и ответственным, ибо в этом тракте имеют место наиболее высокие температуры металла и наиболее высокие давления пара и воды. Для обеспечения функционирования пароводяного тракта необходимы еще система приготовления и подачи добавочной воды на восполнение потерь рабочего тела и система технического водоснабжения ТЭС для подачи охлаждающей воды в конденсатор турбины.
Добавочная вода получается в результате химической очистки сырой воды, осуществляемой в специальных ионообменных фильтрах химводоочистки 38. Из бака обессоленной воды 39 добавочная вода перекачивающим насосом подается в конденсатор турбины.
Охлаждающая вода прокачивается через трубки конденсатора циркуляционным насосом 40 и затем поступает в башенный охладитель (градирню) 41, где за счет испарения вода охлаждается на тот же перепад температур, на который она нагрелась в конденсаторе. Система водоснабжения с градирнями применяется преимущественно на ТЭЦ. На ТЭС применяются системы водоснабжения с прудами-охладителями. При испарительном охлаждении воды выпар примерно равен количеству конденсирующегося в конденсаторах турбин пара. Поэтому требуется подпитка систем водоснабжения, обычно водой из реки.
Электрический генератор 42, вращаемый паровой турбиной, вырабатывает переменный электрический ток, который через повышающий трансформатор 43 идет на сборные шины 44 открытого распределительного устройства (ОРУ) ТЭС. К выводам генератора через трансформатор собственных нужд 45 присоединены также шины собственного расхода 46. Таким образом, собственные нужды энергоблока (электродвигатели агрегатов собственных нужд — насосов, вентиляторов, мельниц и т. п.) питаются от генератора энергоблока. В особых случаях (аварийные ситуации, сброс нагрузки, пуски и остановки) питание собственных нужд обеспечивается через резервный трансформатор с шин ОРУ.
Надежное электропитание электродвигателей агрегатов собственных нужд обеспечивает надежность функционирования энергоблоков к ТЭС в целом. Нарушения электропитания собственных нужд приводят к отказам и авариям.
Таким образом, описанная технологическая схема ТЭС представляет собой сложный комплекс взаимосвязанных трактов и систем: топливный тракт, система пылеприготовления, пароводяной тракт, газовоздушный тракт, шлакозолоудаление, электрическая часть, система приготовления добавочной воды, система технического водоснабжения.
2. Классификация паровых котлов. Параметры и маркировка
В зависимости от характеристики соответствующего тракта и его оборудования вводится соответствующая классификация паровых котлов.
По виду сжигаемого топлива различают паровые котлы для газообразного, жидкого и твердого топлива.
По особенностям газовоздушного тракта различают котлы с естественной тягой, с уравновешенной тягой и с наддувом. Паровые котлы, в которых движение воздуха и продуктов сгорания обеспечивается напором, возникающим под действием разностей плотностей атмосферного воздуха и газа в дымовой трубе, называются котлами с естественной тягой.
Если сопротивление газового тракта (так же как и воздушного) преодолевается работой дутьевых вентиляторов, то котлы работают с наддувом.
Котлы, в которых давление в топке и начального газохода поддерживается близким к атмосферному совместной работой дутьевых вентиляторов и называют котлами с уравновешенной тягой. В этих котлах воздушный тракт находится под давлением и его сопротивление преодолевается с помощью дутьевого вентилятора, а газовый тракт находится под разрежением (сопротивление этого тракта преодолевается дымососом). Работа газового тракта под разрежением позволяет уменьшить выбросы из газоходов в котельное помещение высокотемпературных газов и золы.
В настоящее время стремятся все котлы, в том числе и с уравновешенной тягой, изготовлять в газоплотном исполнении.
По виду водопарового (пароводяного) тракта различают барабанные и прямоточные котлы. Во всех типах котлов по экономайзеру и пароперегревателю вода и пар проходят однократно. Различие определяется принципом работы испарительных поверхностей нагрева.
В барабанных котлах пароводяная смесь в замкнутом контуре, включающем барабан, коллекторы, и испарительные поверхности нагрева, проходит многократно, причем в котлах с принудительной циркуляцией перед входом воды в трубы испарительных поверхностей ставят дополнительный насос. В прямоточных котлах рабочее тело по всем поверхностям нагрева проходит однократно под действием напора, развиваемого питательным насосом.
По фазовому состоянию выводимого из котла (топки) шлака различают котлы с твердым и жидким шлакоудалением. В котлах с твердым шлакоудалением (ТШУ) шлак из топки удаляется в твердом состоянии, а в котлах с жидким шлакоудалением (ЖМУ) шлак удаляется в расплавленном состоянии.
Паровые котлы характеризуются основными параметрами: номинальной паропроизводительностью, давлением, температурой пара (основного и промежуточного перегрева) и питательной воды.
Под номинальной паропроизводительностью понимают наибольшую нагрузку (т/ч или кг/с), которую стационарный котел должен обеспечивать в длительной эксплуатации при сжигании основного топлива (или при подводе номинального количества теплоты) при номинальных значениях температуры пара и питательной воды (с учетом допускаемых отклонений).
Номинальными давлением и температурой пара считают те, которые должны быть обеспечены непосредственно перед паропроводом к потребителю пара при номинальной производительности котла (для температуры - дополнительно при номинальном давлении и температуре питательной воды).
Номинальной температурой промежуточного перегрева пара называют температуру пара непосредственно за промежуточным пароперегревателем котла при номинальных значениях давления пара, температуры питательной воды, паропроизводительности, а также номинальных значениях остальных параметров пара промежуточного перегрева с учетом допускаемых отклонений.
Номинальная температура питательной воды - это температура, которую необходимо обеспечить перед входом воды в экономайзер или в другой относящийся к котлу подогреватель питательной воды (при их отсутствии – перед входом в барабан котла) при номинальной паропроизводительности.
По параметрам рабочего тела различают котлы низкого (мене 1 МПа), среднего (1-10 МПа) и сверхкритического давления (более 22,5 МПа). Наиболее характерные особенности котла и основные параметры вводятся в его обозначение. В принятых по ГОСТ 3619-82 обозначениях указывается тип котла, паропроизводительность (т/ч) и давление (МПа), температура перегрева и промежуточного перегрева пара, вид сжигаемого топлива и системы шлакоудаления для твердого топлива и некоторые другие особенности.
Буквенные обозначения типа котла и вида сжигаемого топлива: Е – с естественной циркуляцией, Пр – с принудительной циркуляцией, П – прямоточный, Пп – прямоточный с промежуточным перегревом; Еп – барабанный с естественной циркуляцией и промежуточным перегревом; Г – газообразное топлива, М – мазут, Б – бурые угли, К – каменные угли, Т,Ж – соответственно с твердым и жидким шлакоудалением.
Например, котел барабанный с естественной циркуляцией производительностью 210 т/ч с давлением 13,8 МПа и температурой перегрева 565ºС на каменном угле с твердым шлакоудалением обозначают: Е-210-13,8-565 КТ.
3 . Основные виды турбин
3 .1 Реактивная турбина
Турбина, в которой значительная часть потенциальной энергии рабочего тела (напор жидкости, теплоперепад газа или пара) преобразуется в механическую работу в лопаточных каналах рабочего колеса, имеющих конфигурацию реактивного сопла. У современных турбин окружное усилие, вращающее рабочее колесо, создаётся суммарным действием силы, возникающей при изменении направления потока рабочего тела в лопаточных каналах («активный» принцип), и реактивного усилия, развиваемого при возрастании скорости рабочего тела в них («реактивный» принцип). Отношение количества энергии, преобразованной в рабочих лопатках турбины, ко всему использованному количеству энергии называется степенью реактивности r (при r = 1 турбину называют чисто реактивной, а при r = 0 — чисто активной). Практически все турбины работают с какой-то степенью реактивности, однако реактивными турбинами обычно принято называть только те турбины, в которых по «реактивному» принципу преобразуется не менее 50% всей потенциальной энергии рабочего тела.

Схематический разрез небольшой реактивной турбины: 1 — кольцевая камера свежего пара; 2 — разгрузочный поршень; 3 — соединительный паропровод; 4 — барабан ротора; 5, 8 — рабочие лопатки; 6, 9 — направляющие лопатки; 7 — корпус.
3 .2 Многоступенчатая турбина
Газовая или паровая турбина, в которой расширение пара или газа от начального, до конечного давления, и преобразование его тепловой энергии в механическую работу осуществляется не в одной, а в ряде последовательно расположенных ступеней.
Каждая ступень в принципе представляет собой элементарную турбину и состоит из неподвижного соплового аппарата и подвижных рабочих лопаток. В сопловом аппарате происходит расширение пара или газа, на рабочих лопатках — преобразование кинетической энергии потока рабочего тела в работу вращения ротора турбины.
Поскольку в каждой ступени используется только часть располагаемого перепада давления и тепла, скорости пара или газа в ней умеренные.
Это позволяет получить хороший кпд при относительно невысокой частоте вращения ротора, что необходимо для непосредственного соединения турбины с приводимыми машинами (электрическими генераторами, компрессорами).
Число ступеней при проектировании многоступенчатой турбины выбирают с учётом заданных параметров рабочего тела, кпд и габаритных размеров турбины. С увеличением числа ступеней, улучшается экономичность, т. к. тепловые потери предыдущей ступени используются в последующей, но растут размеры, масса и стоимость турбины.
При небольшом (до 10—15) числе ступеней их размещают в одном корпусе (цилиндре), при большем (до 30—40) — в двух или трёх корпусах. Практически все турбины, кроме маленьких вспомогательных, строят многоступенчатыми.

Схематический продольный разрез активной турбины с тремя ступенями давления: 1 — кольцевая камера свежего пара; 2 — сопла первой ступени; 3 — рабочие лопатки первой ступени; 4 — сопла второй ступени; 5 — рабочие лопатки второй ступени; 6 — сопла третьей ступени; 7 — рабочие лопатки третьей ступени.
3 .3 Парогазотурбинные установки
Перспективны комбинированные парогазотурбинные установки (ПГУ). В ПГУ топливо и воздух подводятся под давлением в камеру сгорания; продукты сгорания и нагретый воздух поступают в газовую турбину. После первых ступеней газовой турбины продукты сгорания отводятся в промежуточную камеру сгорания, в которой сжигается часть топлива за счёт избыточного кислорода, имеющегося в газах. Из промежуточной камеры сгорания продукты сгорания поступают в последующие ступени турбины, где происходят их дальнейшее расширение и охлаждение. Тепло отработавших газов может быть использовано для подогрева воды или выработки пара низкого давления в парогенераторе. Воздух в камеру сгорания подаётся компрессором, размещенным на одном валу с турбиной. Технология, схема Г. э. отличается простотой, малым количеством вспомогательного оборудования и трубопроводов. Комбинированная ПГУ в нормальном режиме работает по паротурбинному циклу, а для покрытия нагрузок в часы «пик» в энергосистеме переключается на парогазовый цикл. При этом удаётся получать высокие начальные температуры рабочего тела и сравнительно низкие температуры отвода тепла, что и определяет повышенный кпд у ПГУ при некотором снижении капитальных затрат.
Первая в СССР паро-газотурбинная установка общей мощностью 16 Мвт была пущена в 1964 на Ленинградской ГЭС-1 в качестве надстройки над существующей паровой турбиной (30 Мвт). Вслед за этой установкой был создан проект ПГУ мощностью 200 Мвт.
В состав паро-газового блока входят: газовая турбина (35—40 Мвт), рассчитанная на температуру газа перед турбиной 700—770°С; серийная паровая турбина (160 Мвт) — на параметры пара 13 Мн/м2 и 565/565 °С; высоконапорный парогенератор производительностью 450 т/ч — на параметры пара 14 Мн/м2 и 570/570°С.

Двухкорпусная паровая турбина (со снятыми крышками): 1 — корпус высокого давления; 2 — лабиринтовое уплотнение; 3 — колесо Кертиса; 4 — ротор высокого давления; 5 — соединительная муфта; 6 — ротор низкого давления; 7 — корпус низкого давления.
3 .4 Конденсационная турбина
Конденсационная турбина (К.т.), паровая турбина, в которой рабочий цикл заканчивается конденсацией пара. Одним из главных преимуществ К.т. по сравнению с любым другим двигателем является возможность получения в одной установке большой мощности (до 1200 Мвт и более). На всех крупных тепловых и атомных электростанциях для привода электрических генераторов применяются конденсационные турбины; кроме того, они применяются в качестве главных двигателей на кораблях, а также для привода доменных воздуходувок и т. д.
Мощные конденсационные турбины выполняются, как правило, многоцилиндровыми с развитой системой регенеративного подогрева питательной воды (до 8—9 отборов пара для подогрева). Конденсационные турбины мощностью свыше 100 МВт обычно бывают с однократным промежуточным перегревом пара.
В СССР первая конденсационная турбина была построена на Ленинградском металлическом заводе в 1924. Это была турбина мощностью 2 МВт, работавшая на паре с начальным давлением 1,1 МН/м2 (11кгс/см2) и температурой 300°С; в 1970 там же была изготовлена одновальная конденсационная турбина мощностью 800 МВт с начальным давлением пара 24 МН/м2 (240 кгс1см2) и температурой 540°С. Создаётся (1973) одновальная конденсационная турбина мощностью 1200 МВт, с промежуточным перегревом пара, не имеющая аналогов в мировом турбостроении.
На атомных электростанциях применяются главным образом конденсационные турбины насыщенного пара. У этих турбин расход пара примерно на 60—65% больше, чем у конденсационных турбин с перегревом пара равной мощности. Чтобы пропустить увеличенные расходы пара через последние ступени, необходимо увеличивать длину лопаток этих ступеней, что может быть достигнуто лишь при снижении частоты вращения конденсационной турбины. Поэтому К. т. мощностью 500 МВт и более выполняются, как правило, не на 3000 об/мин, а на 1500 об/мин. Харьковский турбинный завод им. С. М. Кирова выпускает К. т. насыщенного пара мощностью 220 и 500 МВт на 3000 об/мин и разрабатывает серию К. т. мощностью 500 и 1000 МВт на 1500 об/мин.
Разновидностью К. т. являются турбины с регулируемыми отборами пара для отопительных целей и для производственных нужд. Такие турбины, используемые для совместного производства электроэнергии и тепла, называют теплофикационными и устанавливают на теплоэлектроцентралях. В 1971 Уральским турбомоторным заводом изготовлена первая в мире теплофикационная турбина с промежуточным перегревом пара мощностью 250 МВт, рассчитанная на отпуск тепла в количестве 394 МВт (340 Гкал/ч).
З аключение
За счет сжигания топлива (включая дрова и другие биоресурсы) в настоящее время производится около 90% энергии. Доля тепловых источников уменьшается до 80-85% в производстве электроэнергии. При этом в промышленно развитых странах нефть и нефтепродукты используются в основном для обеспечения нужд транспорта. Например, в США (данные на 1995 г.) нефть в общем энергобалансе страны составляла 44%,а в получении электроэнергии - только 3%. Для угля характерна противоположная закономерность: при 22% в общем энергобалансе он является основным в получении электроэнергии |52%). В Китае доля угля в получении электроэнергии близка к 75%, в то же время в России преобладающим источником получения электроэнергии является природный газ (около 40%), а на долю угля приходится только 18% получаемой энергии, доля нефти не превышает 10%.
В мировом масштабе гидроресурсы обеспечивают получение около 5-6% электроэнергии (в России 20,5%), атомная энергетика, дает 17-18% электроэнергии. В России ее доля близка к 12%, а в ряде стран она является преобладающей в энергетическом балансе (Франция - 74%, Бельгия -61%, Швеция - 45%).
Сжигание топлива - не только основной источник энергии, но и важнейший поставщик в среду загрязняющих веществ. Тепловые электростанции в наибольшей степени «ответственны» за усиливающийся парниковый эффект и выпадение кислотных осадков. Они, вместе с транспортом, поставляют в атмосферу основную долю техногенного углерода, около 50% двуокиси серы, 35% - окислов азота и около 35% пыли. Имеются данные, что тепловые электростанции в 2-4 раза сильнее загрязняют среду радиоактивными веществами, чем АЭС такой же мощности.
В выбросах ТЭС содержится значительное количество металлов и их соединений. При пересчете на смертельные дозы в годовых выбросах ТЭС мощностью 1 млн. кВт содержится алюминия и его соединений свыше 100 млн. доз, железа-400 млн. доз, магния - 1,5 млн. доз. Летальный эффект этих загрязнителей не проявляется только потому, что они попадают в организмы в незначительных количествах. Это, однако, не исключает их отрицательного влияния через воду, почвы и другие звенья экосистем.
Вместе с тем влияние энергетики на среду и ее обитателей в большей мере зависит от вида используемых энергоносителей (топлива). Наиболее чистым топливом является природный газ, далее следует нефть (мазут), каменные угли, бурые угли, сланцы, торф.
Хотя в настоящее время значительная доля электроэнергии производится за счет относительно чистых видов топлива (газ, нефть), однако закономерной является тенденция уменьшения их доли. По имеющимся прогнозам, эти энергоносители потеряют свое ведущее значение уже в первой четверти XXI столетия. Здесь уместно вспомнить высказывание Д. И. Менделеева о недопустимости использования нефти как топлива: «нефть не топливо - топить можно и ассигнациями».
Не исключена вероятность существенного увеличения в мировом энергобалансе использования угля. По имеющимся расчетам, запасы углей таковы, что они могут обеспечивать мировые потребности в энергии в течение 200-300 лет. Возможная добыча углей, с учетом разведанных и прогнозных запасов, оценивается более чем в 7 триллионов тони. При этом более 1/3 мировых запасов углей находится на территории России. Поэтому закономерно ожидать увеличения доли углей или продуктов их переработки (например, газа) в получении энергии, а, следовательно, и в загрязнении среды. Угли содержат от 0,2 до десятков процентов серы в основном в виде пирита, сульфата, закисного железа и гипса. Имеющиеся способы улавливания серы при сжигании топлива далеко не всегда используются из-за сложности и дороговизны. Поэтому значительное количество ее поступает и, по-видимому, будет поступать в ближайшей перспективе в окружающую среду. Серьезные экологические проблемы связаны с твердыми отходами ТЭС - золой и шлаками. Хотя зола в основной массе улавливается различными фильтрами, все же в атмосферу в виде выбросов ТЭС ежегодно поступает около 250 млн. т мелкодисперсных аэрозолей. Последние способны заметно изменять баланс солнечной радиации у земной поверхности. Они же являются ядрами конденсации для паров воды и формирования осадков; а, попадая в органы дыхания человека и других организмов, вызывают различные респираторные заболевания.
Выбросы ТЭС являются существенным источником такого сильного канцерогенного вещества, как бензопирен. С его действием связано увеличение онкологических заболеваний. В выбросах угольных ТЭС содержатся также окислы кремния и алюминия. Эти абразивные материалы способны разрушать легочную ткань и вызывать такое заболевание, как силикоз, которым раньше болели шахтеры. Сейчас случаи заболевания силикозом регистрируются у детей, проживающих вблизи угольных ТЭС.
Серьезную проблему вблизи ТЭС представляет складирование золы и ишаков. Для этого требуются значительные территории, которые долгое время не используются, а также являются очагами накопления тяжелых металлов и повышенной радиоактивности.
ТЭС - существенный источник подогретых вод, которые используются здесь как охлаждающий агент. Эти воды нередко попадают в реки и другие водоемы, обусловливая их тепловое загрязнение и сопутствующие ему цепные природные реакции (размножение водорослей, потерю кислорода, гибель гидробионтов, превращение типично водных экосистем в болотные и т. п.).
Список использованной литературы
1. Гиршфельд В. Я., Морозов Г. Н. «Тепловые электрические станции»: учеб. для техникумов. – 2-е изд., 2002 г.
2. Деев Л. В., Котельные установки и их обслуживание, М., «Высшая школа», 2000 г.
3. Резников М. И., Липов Ю. М., Паровые котлы тепловых электрических станций, М., Энергоиздат, 2001 г.
4. Лосев С. М., Паровые турбины и конденсационные устройства, 10 изд., М. — Л., 1994 г.