| Скачать .docx | Скачать .pdf |
Доклад: Абляционные материалы
Абляционные материалы (от позднелат. ablatio- отнятие, устранение), теплозащитные материалы, действие которых основано на абляции - сложном энергоемком процессе уноса вещества с поверхности твердого тела потоком горячего газа. Абляционные материалы наносят на пов-сть ракет, космич. аппаратов и камер сгорания ракетных двигателей для обеспечения температурного режима их работы при воздействии интенсивных тепловых потоков.
В общей форме абляция м. б. описана след. уравнением:
![]()
где qк-конвективный тепловой поток к пов-сти материала; qR-радиац. тепловой поток;
-суммарный унос массы в результате пиролиза пов-сти, выделения газообразных продуктов и стекания расплава;
-энтальпия плавления; GW-унос продуктов пиролиза;
-энтальпия физ.-хим. превращений;
-коэф. черноты;
-постоянная Стефана - Больцмана; ГW-абс. т-ра пов-сти; qвл-тепло, отводимое в результате вдува газообразных продуктов пиролиза;
-тепловой поток к защищаемой пов-сти. 
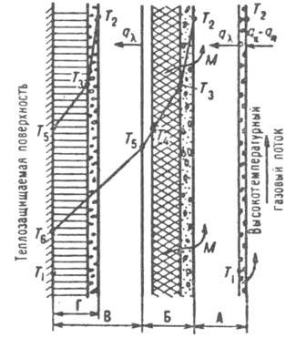
Схема тепло- и массообмена в комбинированном абляционном материале: А-уносимый слой; Б-зона абляции; В-неизменный материал; Г пример возможного достижения зоной Б теплозащищаемой стенки; qk , qR
-см. обозначения в тексте; 7\-начальная т-ра; Т2-т-ра кипения; Т3-,т-ра плавления, T4-т-ра начала "коксования"; Г5-т-ра начала термич. разложения; Т6-т-ра теплозащищаемой стенки в момент времени, соответствующий указанному положению зоны Б; М-направление движения уносимой массы
Различают след. виды абляционных материалов: разлагающиеся (политетрафторэтилен, полиэтилен и др.), сублимирующиеся (напр., графит при т-рах ок. 3800 °С, давлениях до 10 МПа и отсутствии окисляющего агента), плавящиеся (кварц, пенокера-мика и др.). Наиб. распространены армированные орг. и кремнийорг. материалы, абляция к-рых характеризуется совокупностью неск. одновременно протекающих процессов, как показано на рисунке. В начальный момент на пов-сти образуется пленка расплава и начинается нагрев нижележащих слоев, возникает зона абляции, т.е. плавления и пиролиза с образованием твердого, обычно пористого углеродного остатка. С течением времени эта зона смещается в сторону защищаемой пов-сти, толщина слоя неизменного абляционного материала уменьшается, а т-ра возрастает. После окончания воздействия высокотемпературного газового потока зона абляции может достигнуть защищаемой пов-сти, что допустимо лишь по истечении расчетного времени работы изделия.
Абляционные материалы могут быть твердыми (на основе термореактивных синтетич. смол и линейных полимеров) и эластичными (на основе нитрильного этилен-пропиленового, синтетич. изо-пренового каучука и др.); армирование материалов волокнистыми наполнителями существенно улучшает их абляционные св-ва (табл. 1 и 2).
Табл. 1.-АБЛЯЦИЯ ПОЛИМЕРОВ В ДОЗВУКОВОМ ГАЗОВОМ ПОТОКЕ(испытания на кислородно-ацетиленовой горелке) 
Табл. 2-АБЛЯЦИЯ ФЕНОЛЬНЫХ ПЛАСТИКОВ ПРИ СОДЕРЖАНИИ НАПОЛНИТЕЛЯ ОКОЛО 60% 
Эластичные абляционные материалы используют гл. обр. для защиты камер сгорания крупногабаритных ракетных двигателей, для внеш. теплозащиты гиперзвуковых самолетов, ракет и космич. аппаратов, входящих в атмосферу Земли или др. планет. Их эластичность, характеризуемая, напр., относит. удлинением при разрыве, может составлять 200% и более. Низкую плотность A.M. (до 0,16 г/см3) обеспечивают введением пенообразователей или полых стеклянных, фенольных или др. микросфер (т. наз. синтактные абляционные материалы).
Список литературы
Бичер Н., Розенсвейг Р.Е., "Ракетная техника. Журнал Американского ракетного общества" (рус. пер.), 1961, № 4, с. 81-90;
Конструкционные свойства пластмасс, пер. с англ., М., 1967, с. 401-56;
Дубинкер Ю. Б., Донской А. А., Эластомерные теплозащитные материалы. Обзор, М., 1969;
ПолежаевЮ.В., ЮревичФ.Б., Тепловая зашита, М., 1976, с. 51-58;
Камалов B.C., Производство космических аппаратов, М., 1982, с. 236.