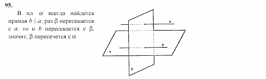
Главная / Готовые домашние задания (ГДЗ) / 11 класс / Геометрия / Л.С. Атанасян / задачи Задача: 95


Ответ на задачи Задача: 95
Готовые домашние задания (ГДЗ) Геометрия Л.С. Атанасян 11 класс

Геометрия, Л.С. Атанасян, 2002

Геометрия

11 класс

Автор: Л.С. Атанасян

Изд.: Просвещение

Год: 2002

<< Предыдущее Вернуться к списку Следующее >>
Геометрия, 11 класс, Л.С. Атанасян, 2002, задачи Задача: 95